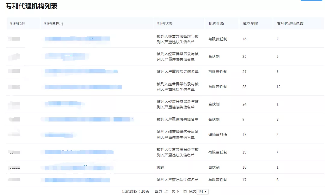
国知局:48家机构列入经营异常名录,10家列入严重违法失信名单
发布时间:2020-11-17严格规范专利代理执业行为——
知识产权代理行业“蓝天”专项整治行动进行时之三
“蓝天”行动中,在重拳打击“黑代理”的同时,国家知识产权局将严格规范专利代理机构和专利代理师的执业行为作为整治的重点内容之一,对出租出借专利代理资质等严重违法行为从重处罚,同时从严治理代理非正常专利申请、“挂证”等行为。
(一)依法处罚专利代理严重违法行为
“蓝天”行动期间,国家知识产权局直接立案18件,对严重违法行为给予从重处罚。对出租专利代理资质的代理机构和主要负责人给予“双吊”(吊销专利代理机构注册证、吊销专利代理师资格证)的处罚,对泄露委托人发明创造内容的代理机构给予“责令停止承接新的专利代理业务12个月”的处罚,对于弄虚作假、隐瞒真实情况的代理机构给予“撤销专利代理机构注册证”的处罚。
(二)严厉打击代理非正常专利申请行为
2019年5月1日起施行的《专利代理管理办法》明确规定,专利代理机构“从事非正常专利申请行为,严重扰乱专利工作秩序”的,可视情节依据《专利代理条例》给予警告、罚款、停止承接新的专利代理业务,直至吊销执业许可证的处罚。
“蓝天”行动中,国家知识产权局持续监控代理非正常专利申请信息并转送地方查办,2019年直接作出10件涉及非正常专利申请代理行为的行政处罚,2020年又从新一批被认定的非正常专利申请信息中,提取通过代理机构提交的申请200余件,涉及12家专利代理机构,转送北京、上海、广东、山东、辽宁、陕西等六省市知识产权局。各地方局已全部立案,正在依法加快查处。
加强专利代理监管,对于打击非正常专利申请工作发挥了重要作用。数据显示,“蓝天”行动开展以来,在此前国家知识产权局相关工作协同联动的基础上,通过代理机构提交的数量大幅减少,在2020年认定的非正常申请中,通过代理机构提交的仅有270余件,非正常专利申请的代理行为得到有力遏制。
(三)集中治理“挂证”行为
针对专利代理“挂证”行为,国家知识产权局协调有关部门全面核查执业专利代理师社保信息,获取“挂证”初步线索6600余条,经各地核实后确定涉嫌“挂证”信息1600余条,相关人员经约谈后迅速整改。据统计,2019年3月至12月,专利代理师注销执业备案4652人,占执业总人数的22.9%,比往年同期水平高出10个百分点以上,股东、合伙人变更申请量也出现大幅增长,行业守法规范经营意识明显提升。
与此同时,国家知识产权局对涉嫌传播“挂证”信息的业内大型网站进行调查,约谈相关负责人,要求立即整改。相关网站立即封停“挂证”相关版块和栏目,删除违禁“挂证”信息1.6万余条、账号500多个,屏蔽了“挂靠”“挂证”等信息的发布,有效切断了“挂证”交易渠道。
(四)严格治理其他不规范执业行为
在“蓝天”行动中,地方知识产权局还对以不正当手段招揽业务等行为作出9起行政处罚。组织开展专利代理自查整改和信用承诺工作,2869家专利代理机构及分支机构完成自查并提交报告,2775家机构和16477名执业专利代理师签署信用承诺书。
同时,各地还将日常监管和专项行动有机结合,深入推进“双随机、一公开”监管, 2019年,按程序完成对962家专利代理机构及分支机构的检查工作,涉及28项检查内容;2020年,结合专利代理机构年度报告工作,将48家机构列入经营异常名录,10家列入严重违法失信名单,进一步规范专利代理机构执业行为,维护良好的专利代理行业秩序。
关于列入经营异常名录和严重违法失信名单的代理机构,大家可以自行通过专利代理机构查询系统进行查询。

查询网址:http://dlgl.cnipa.gov.cn/txnqueryAgencyOrg.do







