- 
      专利 专利无效宣告 食品专利申请 日本专利申请 家具专利费用 发明专利费用 专利申请流程
- 
      商标 北京商标注册 国际商标注册 商标流程费用 商标驳回复审 香港商标注册 美国商标注册
- 
      版权 美术版权登记 版权代理注册 软件版权登记 汇编作品版权 文字作品版权 版权登记费用
- 
      法律服务 
我的前半生:除了高阶鉴婊指南外,它还是注册商标的先行者!
发布时间:2017-07-14在朋友的强烈推荐下,最近我掉入了《我的前半生》这部剧的大坑中。
对待这部剧,有人把他比喻成“一部高阶鉴婊指南”或“白莲花鉴别指南”,矛头直指剧中的女配凌玲。
	
对于凌玲,有人评价她扮演的小三,简直是戏精上身,完美诠释了一朵盛世白莲;还有人评价与现在那种打扮妖娆、说话刻薄,给正室发威胁短信,让男人选是她还是我的妖艳贱货小三相比,凌玲用实际行动说明了什么叫做高段位,什么叫做下三滥!
比如第一集,俊生加班。女主角子君的夺命连环call令俊生燥郁。而作为同事的凌玲递上一本细心整理的文件和胃药,没有任何一句废话,只一句:那我先走了。
	
你说,身为一个男子汉,俊生怎么忍心让一个深夜加班的柔弱女子独自回家呢?于是,“来吧,我送你回家”成功的开启了下一段剧情!
鲁迅说:倘使我们觉得有害,我们便能警戒了,正因为并不觉得怎样有害,我们这才总是觉不出这致死的毛病来。
而俊生正是觉得凌玲无害,才会对凌玲说的每一句话都毫不戒备。
张爱玲说:“也许每一个男子全都有过这样的两个女人,至少两个。娶了红玫瑰,久而久之,红的变了墙上的一抹蚊子血,白的还是窗前明月光;娶了白玫瑰,白的便是衣服上的一粒饭粘子,红的却是心口上的一颗朱砂痣。”
当俊生在抱怨他老婆子君的时候,“白玫瑰”的凌玲不说原配的丝毫坏话,只表达羡慕之情,话里有话,绵里藏针,不动声色的增加了俊生对老婆子君厌恶之情。
	
真是厉害了,我的凌玲“白玫瑰”!
还有当两人关系被原配提起发现的时候,凌玲果断提醒俊生,让俊生撇清责任。凌玲的这一招彻底打消男主的退缩疑虑——最怕别人指责你是不是?说是我死缠烂打啊。这锅我背。又再次不到声色的给了俊生一个亏欠的机会!
	
当凌玲发现俊生对子君还有依恋,犹豫不决的时候,凌玲以退为进的套路再次上演了:俊生,我要把你还回去。虽然你没按照约定离婚,我一点也不恨你,继续安心做好人吧。我爱你,因为爱,我可以放手。
	
	
	
更厉害的是,凌玲说分手,不是仅仅说说而已,而是说走就走,毫不拖泥带水......
	
结果,俊生沦陷了!(意料之中,碰见这样高段位的,哪个男人扛得住呢?)
	
当然,现实生活中,像凌玲这样高段位的还是很少的。不过不怕一万就怕万一,万一你遇到了这样的对手,我只能说你真是倒了八辈子血霉了!
好了,高段位“白玫瑰”凌玲的事情今天就到此为止,接下来我们来谈谈《我的前半生》这部剧的知识产权保护情况。
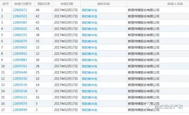
据了解《我的前半生》这部剧是新丽电视文化投资有限公司出品的,于2017年7月4日在东方卫视、北京卫视首播。而小纳在商标局官网上查询到,早在2017年2月17日新丽传媒股份有限公司就将“我的前半生”申请注册商标了,商标注册类别高达17个。
	
目前,“我的前半生”商标处于等待实质审查阶段。
	
虽说目前“我的前半生”商标还没有注册下来,但小纳还是要给《我的前半生》电视剧的出品方点个赞,电视剧商标保护意识棒棒的哦!
既然说到了电视剧商标保护意识,小纳不得不说《夏至未至》和《楚乔传》这两部剧,电视剧商标保护意识真菜!
	
	
写在结尾:对于《我的前半生》,网上太多人认为他是“一部高阶鉴婊指南”,但小纳想说的是《我的前半生》除了是“一部高阶鉴婊指南”外,它还是电视剧注册商标的先行者。中国知识产权保护,离不开这些先行者的付出!
----END----
作者:冰亚@纳杰知识产权微信部
来源:纳杰知识产权微信公众号(najieip)
	
	
【纳杰温馨提示】
文中部分图片来源于网络,版权属于原作者,仅以配图表达无他意。另文章仅代表作者观点,不代表本公众号立场,本公众号转载的目的仅用于传递信息,如果您觉得该信息不宜被公众浏览或有其它原因,请联系我们进行删除,感恩谢谢!
http://www.bjnajie.com/a/guojishangbiaoxinwen/20170621/312.html







