

擅用知乎赔偿40万,知乎,值乎!
发布时间:2020-07-28蜗牛纳一直觉得,知乎是一个大神云集的地方,它作为一个网络问答平台,连接了各行各业的用户,让他们分享着彼此的知识、经验和见解,为中文互联网源源不断地提供多种多样的信息。
不过说是问答平台似乎不能体现它的厉害之处,也许应该说它还类似于论坛,但又更具针对性。大家可以围绕着某一感兴趣的话题进行相关的讨论,也可以在讨论的同时关注兴趣一致的人。
如果说像百度百科一样的平台能够涵盖用户们所有的疑问,那么知乎这样的平台却能对于发散思维进行一个整合,里面有各行各业人员真诚地分享着自己的阅历,让不少人从中受益。

然而近年来,随着商业化越来越严重,知乎上的内容却无法和早期那样有如此高质量的回答了,当然,问题也更多的是一些乱七八糟的内容,通常都是与某产品测评或是娱乐八卦等一些问题,或者干脆根据时下热点话题进行提问。
有人说,知乎已经不是过去的知乎了,现在的它将与如今的论坛、贴吧一般没什么区别。可即便如此,我们也不能否定知乎的品牌影响力。
要知道,知乎对品牌塑造的看重以及对活动形式的创新,使得更多的人知道了“有问题,上知乎”这个口号。目前来看,知乎的品牌打造是十分不错的。
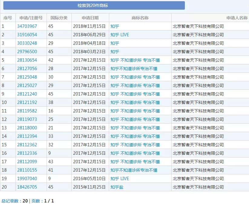
品牌打得好,商标保护也不得到位。从蜗牛纳通过国家知识产权局商标局官网检索看到,运营知乎平台的公司申请注册了两百多件与“知乎”相关的商标。


注:知乎隶属于北京智者天下科技有限公司,其原名为智者四海(北京)技术有限公司。(以下统称为北京智者公司)
既然知乎的名气那么大,肯定会有其他企业和个体户跟着注册。虽然有部分“知乎”商标已被“外人”给注册成功了,但更多的相关商标早被宣告无效,至于其他的不是处于异议中,就是被驳回复审或是待实质审查中。
北京智者公司必定不会眼睁睁看着别人搭自家的“顺风车”,他们应该会挨个申请无效此类商标。
究竟有多少个如北京智者公司所愿成功无效了,网上没有这方面的报道,想来北京智者公司是打算低调做事的。不过最近有一起关于北京智者公司诉北京知乎科技有限责任公司(以下简称知乎科技公司)不正当竞争纠纷的案件,到底还是让知乎被迫(bing bu shi)活跃了一番。

在蜗牛纳看来,这是大水冲了龙王庙,自家人不识自家人了吗?
都是知乎公司对吧,既然是亲兄弟为何还搞起内斗来了呢?
估计看到这里的你也一头雾水,蜗牛纳也是,但咱不急哈,先看看这两家公司的背景就知道了。
北京智者公司是在2011年6月8日成立的,经营互联网信息服务及技术服务等业务,其经营的"知乎"网站则是在2010便已开通,至今在界内享有较高的知名度。

知乎科技公司则是在2012年成立,但一开始并不是叫知乎科技,而是叫镜花缘(北京)文化发展有限公司,经营技术服务及咨询服务等业务,在2014年12月18日将企业名称变更为北京知乎科技有限责任公司,主要是做知产质押贷款融资的服务。

一审
北京智者公司认为知乎科技公司在其企业名称中使用与知乎网站名称相同的“知乎”两个中文文字,系擅自使用他人有一定影响的网站名称,引人误以为该企业是其开办或者与其有特定联系,构成不正当竞争行为。故诉至法院,请求判令赔偿其经济损失及合理开支共计116万元。
一审法院经审理判令知乎科技公司在企业名称中停止使用“知乎”字样并赔偿经济损失及合理费用共计40万元。
对此判决结果,两公司均不服,上诉至北京知产法院。
二审
北京智者公司在上诉时认为,知乎科技公司在本案审理过程中,在原有擅自使用"知乎"宣传自身的基础上,恶意扩大其攀附"知乎"进行自我宣传的范围,甚至恶意向行政机关投诉举报智者天下公司关联公司使用"知乎"作为企业名称,主观恶意极大为禁止知乎科技公司这种屡禁不止的不正当竞争行为,很有必要依法提高其侵权成本。因此请求改判赔偿经济损失及合理支出共116万元。
知乎科技公司对此说法进行了辩解称,其与北京智者公司之间不存在不正当竞争关系,并且北京智者公司在知乎科技公司变更名称前,并不具有一定的市场知名度,实际经营收入也远远不达判决认定的金额。反观知乎科技公司本身在知识产权质押融资领域具有一定的知名度,不存在攀附的目的,最重要的是其实际经营收入远远不达判决认定金额。因此请求驳回一审全部诉讼请求。
对于两家公司的说法,北京知产法院经审理有如下认定,
1、两公司虽然具体的运营模式有所差异,但二者经营范围存在重合,均利用知识产权获利,均有用网站发布信息、提供互联网信息服务的企业经营行为,且服务的对象均为获取网络服务的消费者。因此,两公司之间存在竞争关系。
2、在原审被告公司更名之前,原审原告已使用“知乎”作为其网站名称并一直沿用至今,“zhihu.com”与“知乎”是可以相互呼应和对照的,且经过持续宣传, “知乎”网站已成为反不正当竞争法中所指的有一定影响的网站名称,在此情况下,原审被告在企业名称中使用与原审原告“知乎”网站完全相同的“知乎”二字,即使是规范使用,也易使相关公众对提供服务的来源产生混淆误认,进而损害原审原告的竞争利益,构成不正当竞争。故一审判决其应当在企业名称中立即停止使用“知乎”字样的行为,并无不当。
3、关于经济损失的赔偿数额问题,一审法院综合考虑原审原告的经营规模、企业盈利能力、企业发展情况、维权合理费用,原审被告的侵权方式、持续时间、主观过错程度、侵权后果等因素确定赔偿数额亦并无不当。
综上,北京知产法院二审维持一审判决,认定原审被告在企业名称中使用与北京智者天下科技有限公司“知乎”网站完全相同的“知乎”二字,易使相关公众对提供服务的来源产生混淆误认,损害了后者的竞争利益,构成不正当竞争。
法官有话说:
我国反不正当竞争法的具体规定,在于通过保护经营者的正当经营活动不受损害,进而维护合法有序的竞争关系和秩序。
所谓竞争关系不仅包括同业竞争者之间的关系,也包括为自己或者他人争取交易机会、破坏他人竞争优势等而产生的非同业经营者之间的竞争关系。
若经营者以不正当的方式与竞争对手或其他经营者争夺交易机会,损害其合法权益,扰乱社会经济秩序,受损害的经营者有权通过该法寻求救济。
除了知乎科技公司外,还有很多不遵守市场规则的企业,为了自己的利益而采取各种不正当的手段进行竞争。
所以,在发现其它企业实施了对本企业的不正当竞争行为时,针对不同情况,可根据情况采取以下恰当的救济方式:
1、及时进行商标注册和申请专利保护,以避免遭受竞争对手不正当竞争行为的侵害;
2、及时向人民法院提起诉讼,要求人民法院判令其停止不正当竞争行为,并对其行为给本企业所造成的损失予以赔偿。
3、向有管理权限的行政机关举报,要求该机关启动行政执法程序,对该企业予以相应的行政处罚。
4、若发现某企业的行为已构成犯罪时,应向司法机关举报,并请求司法机关对其犯罪行为予以刑事制裁。
蜗牛纳想说,在当代的市场环境下,一个企业只有利用法律所赋予的权利,才能合法维护自己的权益从而使本企业能够在一个公平有序的市场秩序下开展业务,并最终实现企业效益的最大化。





