

外媒“官宣”拜登获胜,中国“拜登”商标早已注册成功!
发布时间:2020-11-10北京时间11月8日凌晨,美联社、福克斯和CNN等美国多家主流媒体宣布,拜登率先赢得270张以上选举人票,民主党总统候选人拜登即将成为第46任美国总统。与此同时,多国领导人均在推特上祝贺拜登当选。

不出意外的话,2个月后美国便要进入拜登时代了。
虽然特朗普很想硬拼到底,但是从多种迹象来看,他已经大势已去。比如前几天特朗普的律师以存在违规行为的理由起诉密歇根、宾夕法尼亚、佐治亚三州的选举机构,结果被法院拒绝立案;接着特朗普在选举夜后露面表达民主党是靠“窃取”才赢得了大选的意思时,话音刚落就被媒体掐掉了该画面,并且事后这段视频也遭到封杀。
尽管特朗普之后又在推特上连发3条推文怒斥选举“舞弊”,但没有多少人愿意相信,并且他日后可能不会拥有随意发维特的权利了。

此前《国会山报》11月7日报道称,现任总统特朗普卸任后,他的推特账号可能将失去平台给予各国领导人的特殊保护,并面临更严格的审查。报道指出,推特公司在处理违规行为方面,对领导人的处理方式与普通用户存在区别。比如特朗普在任期内发布的帖子几乎不会被删除,但推特会将其中存在争议的内容打上“可能包含误导性或虚假信息”的标签,并限制用户转发和点赞。推特认为领导人发布的帖子具有新闻价值,民众有权获悉他们的领导人在说什么。但是这种待遇不会持续到领导人卸任之后,也就是说特朗普四年以来可以随心所欲发推特的状态即将结束。
不过在自己卸任之前,特朗普仍会坚持发文质疑媒体。虽说媒体机构宣布的结果是基于各州数据分析得出的,而从历史数据来看,美国媒体判定的结果基本上和最终结果相符,但这与真正的“官宣”还是有一定区别的。
据《纽约时报》报道,每次的总统大选都包括两个阶段:第一个是各州计票阶段,第二个是次年1月份国会进行的选举人团票计票阶段。最终官方的大选结果则需要等到各州确定本州计票结果,之后再统计选举人团票,才能得出。

也就是说,在媒体宣布结果之后,各州选票还有可能存在一定争议。真正的“官宣”结果需要等到明年1月6日,由国会正式宣布才知道。1月20日,获胜的总统候选人与他的竞选搭档将在美国国会大厦宣誓就任总统与副总统。
或许特朗普是想利用这段时间通过不断地质疑大选计票的问题,再利用手中的7000多万票进行反击。只要一些州重新计票,结果一旦发生偏差,哪怕是一票的偏差,无论这个偏差是技术性问题还是失误导致,特朗普都可以带领自己7000多万选票的选民,让对自己不利的选票全部重新计算。
只要还能抓住一点希望,特朗普就不会轻易放弃他的总统之位。眼下距离1月份新的总统正式就职不是还有两个多月么,我们就看特朗普在这段重要交接时期,还会有哪些骚操作。
不管特朗普再怎么折腾,他也无法把拜登从热搜榜上拽下来,最起码无法阻止我国商人对拜登“爱”得深沉。
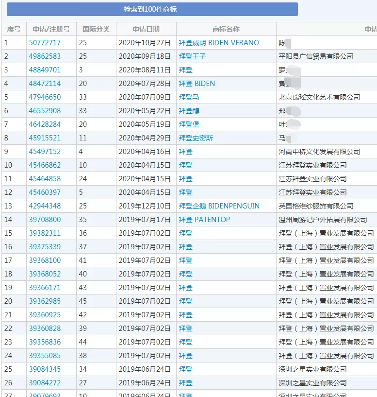
实际上在拜登当选总统的两周前,商标局网站就公布了第45466862号“拜登”商标的初审公告。

该商标于2020年4月15日申请,10月27日初审通过,核准使用于第10类,服务项目为失禁用垫单;医用手套;手术衣;医务人员面罩等。
只不过,这或许可能是最后一件通过初审的“拜登”商标。因为在拜登当选总统之后再申请其姓名为商标的话,将违反我国《商标法》第十条第一款第(八)项规定:有害于社会主义道德风尚或者有其他不良影响的不得作为商标使用。
再仔细一看,该商标申请人江苏拜登实业有限公司还申请了其他与拜登相关商标,其中有一件第24类布料床单的“baideng”商标也已进行初审公告。

据统计,截止2020年11月8日,在拜登从2019年4月25日宣布参选美国总统,直到大选成功期间,总共有43件“拜登”相关商标申请,其中有25件“拜登”商标成功注册。


虽然注册成功的商标不多,但拜登可能会很纳闷,为何有些商标这么快就通过初审公告了呢?
这是因为2019年我国知识产权审查质量和审查效率持续提升,商标注册平均审查周期压缩至4.5个月。而美国总统大选差不多需要1年左右的时间,所以在拜登竞选期间内足够商标局的工作人员们通过审核商标了。
说起来,这两位美国总统候选人的集合体:“特朗普一拜登”,也被人申请注册为酒类商标了呢!(点击下方文字即可回顾原文)
很显然,这种商标最终可能会被驳回。况且,即便已经注册成功了,特朗普也不会愿意中国商人将自己的名字与政敌的放在一起,多半会申请无效宣告。
毕竟当初特朗普本来就是一个很有知识产权保护意识的商人,自他就任于美国总统一职后,便立马进行了商标布局,为自己的名字包括“川普”做商标保护,甚至还打起了商标官司,以免被他人恶意注册。
特朗普做到了,那么拜登会像特朗普一样来中国打商标官司吗?或许并不需要拜登的团队出手就将这个问题给解决了。
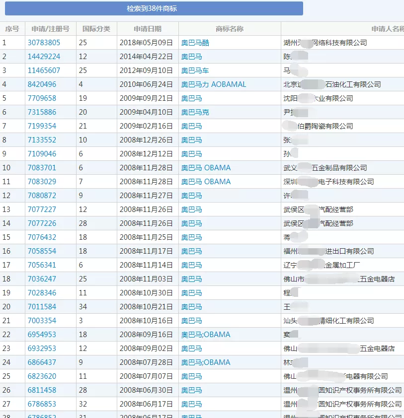
看看奥巴马就知道了,这位先生在2008年参加总统选举时,就曾被申请注册在第10类医用器械、避孕套上。

当然,不用奥巴马出手,该商标的注册申请就已经被驳回了。
同样,奥巴马的名称在我国近似商标有38件,无一幸免全数被国家知识产权局给毙掉。

不难想像,随着我国公民对美国大选的关注力与日俱增,与总统参选人相关商标的价值也将会变大。
不过,这一切有可能只是一种美好的愿望。毕竟考虑到美国总统们的知名度和影响力,也为防止影响中美关系,咱们国家知识产权局多半会以“有其他不良影响”为理由驳回此类商标的申请,并且这种结果的可能性会比较大。
所以,请商人们放过美国总统吧,一国领导的名称可不是你们中的任何人都能独家占有的!





