

华为官宣出售荣耀,多件“荣耀”商标申请引热议!
发布时间:2020-11-18从未想过,有一天华为会与荣耀分家。然而最近一则消息,不得不让蜗牛纳相信,华为是真的要跟荣耀说拜拜了。

11月17日早上,华为发布声明表示,在产业技术要素不可持续获得、消费者业务受到巨大压力的艰难时刻,为让荣耀渠道和供应商能够得以延续,华为投资控股有限公司决定整体出售荣耀业务资产,收购方为深圳市智信新信息技术有限公司。
对于交割后的荣耀,华为表示不占有任何股份,也不参与经营管理与决策。

据悉,收购方深圳市智慧城市科技发展集团与30余家荣耀代理商、经销商在《深圳特区报》上发布联合声明,宣布其共同投资设立的深圳市智信新信息技术有限公司(以下简称“智信新”)已与华为投资控股有限公司签署了收购协议,根据该协议,“智信新“作为收购方,完成对荣耀品牌相关业务资产的全面收购。并且出售后,华为确实不再持有新荣耀公司的任何股份。
联合声明署名显示,参与投资设立“智信新”的30余家荣耀代理商、经销商包括知名经销企业天音通信有限公司、苏宁易购集团股份有限公司、北京松联科技有限公司、北京普天太力通信科技有限公司、深圳市顺电实业有限公司等,此外还有多家国资参与其中。

据企查查显示,牵头发起“智信新”的深圳市智慧城市科技发展集团的主公司为深圳市智慧城市科技发展集团有限公司,是隶属于深圳市国资委的国有企业。在收购官宣前夕的11月14日,该公司的注册资本从2亿元增加到了32亿元,或许与此次收购有关。

这样一看,独立出去后的荣耀品牌似乎会归给国有企业。
此外,联合声明指出,这次收购既是荣耀相关产业链发起的一场自救和市场化投资,能最大化地保障消费者、渠道、供应商、合作伙伴及员工的利益;更是一次产业互补,全体股东将全力支持新荣耀,让新荣耀在资源、品牌、生产、渠道、服务等方面汲取各方优势,更高效地参与到市场竞争中。
声明还称,荣耀所有权的变化不会影响荣耀发展的方向,荣耀高层及团队将保持稳定。投资新荣耀的经销商和代理商也承诺:未来只享有财务上的投资回报,在业务侧将遵循公平交易的市场化原则,与其他经销商、代理商享受同等机会。
回想过去七年里,荣耀从一个产品线,成为中国互联网手机第一品牌,然后又定下冲击全球手机出货量TOP5的新目标。然而,2019年曾在中国市场份额整体达到13%,成为排名第四、增长第二的手机品牌,仅次于华为的荣耀,到了2020年却要准备另起炉灶了。
很多人担心离开华为的荣耀将不再拥有更大的荣耀,可能以后这个品牌会消失在市场中。
虽然很痛心,但华为剥离荣耀品牌之举,其实也是为了让荣耀品牌能绕开美国禁令继续活下去。如果荣耀继续与华为绑在一起而被禁令困住,那么在没有芯片、没有GMS的情况下,荣耀就只能坐以待毙了,并且其市场也将不断萎缩。

虽然华为要让荣耀离开大家庭远航了,不过在商标方面,华为似乎还拉着绳子以防荣耀找不到回家的路。
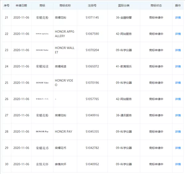
据天眼查信息显示,华为技术有限公司名下最近陆续新增了多条“荣耀”商标信息,包括“荣耀”、“HONOR”、“荣耀视频”、“荣耀钱包”、“荣耀阅读”、“荣耀花粉”、“荣耀花币”、“荣耀亲选”等等,其申请日期集中在2020年11月5日至11月6日。


其中“荣耀视频”的商标国际分类涉及教育娱乐、科学仪器;“荣耀钱包”的商标国际分类为金融物管,“荣耀花粉”的商标国际分类为金融物管、通讯服务、科学仪器、教育娱乐。
目前,上述商标均处于申请状态中。
视频、钱包等都是此前华为的互联网业务,也是华为、荣耀公用一套的体系。荣耀品牌独立出去后的新公司,自然需要完全独立的新业务,而“荣耀亲选”是类似小米有品的电商平台,提供自家、合作伙伴的智能硬件、耗材等产品的销售,因此这部分互联网业务,或许会随着此次交易剥离。
对此,众多网友猜测颇多,在他们中大概有三个不同观点:
观点二:如果华为有出售意向,就不会在最后关头申请涉荣耀业务的商标,所以该公司此举可能是想将荣耀手机独立出去而非出售。
其实我们可以这样认为,荣耀孩子要出去打拼了,作为家长的华为希望自家孩子的下一步独立发展更加顺利,因此申请了大量“荣耀”相关商标,提前打好了知识产权保卫战。
截止目前,华为官方暂未有任何文件透露他们注册此类商标的意图,具体有何安排,也许过段时间我们就知道了。
不管怎样,在当前这种局面下,华为做出的决定定然是经过了一番深思熟虑。蜗牛纳只希望未来华为能够全心全意地攻克自己的难题,也希望独立出去的荣耀能获得更好的发展空间。





