

耗子尾汁公司成立上热搜,其商标已被抢注!
发布时间:2020-11-26一个人或一个集体随口说的话能有多火,就看商人将其据为己有的速度有多快。
还记得前阵子特别火的“耗子尾汁”吗?
据企查查显示,11月23日,海南耗子尾汁文化传媒有限公司成立,注册资本100万,法定代表人、全资股东为陈某龙,经营范围包括许可项目互联网直播服务;互联网域名注册服务;互联网信息服务;互联网新闻信息服务等。

这家耗子尾汁公司的成立源自“浑元形意太极拳掌门人”马保国在短视频中表示现在的年轻人不讲武德,来偷袭他一个69岁的老同志,在批评此举的同时劝这位年轻人好自为之,好好反思。

因为马保国普通话并不标准,听起来很像“耗子尾汁”,由此“好自为之”被引申为“耗子尾汁”,这一网络词语瞬间爆红微博。
此外还有一家养殖场也蹭了这个热度,彝良耗子尾汁养殖厂同样于11月23日成立,注册资本为20万元人民币,经营者为曾某。

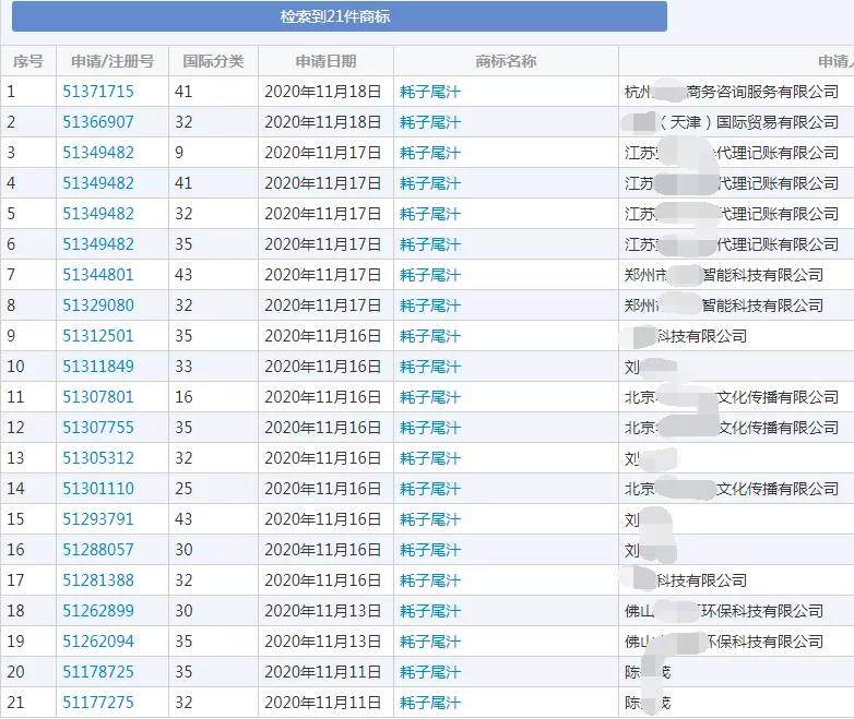
另外,“耗子尾汁”最早于11月11日被申请注册商标。国际分类为第 32类的啤酒饮料、第 35 类的广告销售,申请人均为陈某茂,这两件商标状态均为 “注册申请中”。目前“耗子尾汁”商标注册共计有21件。

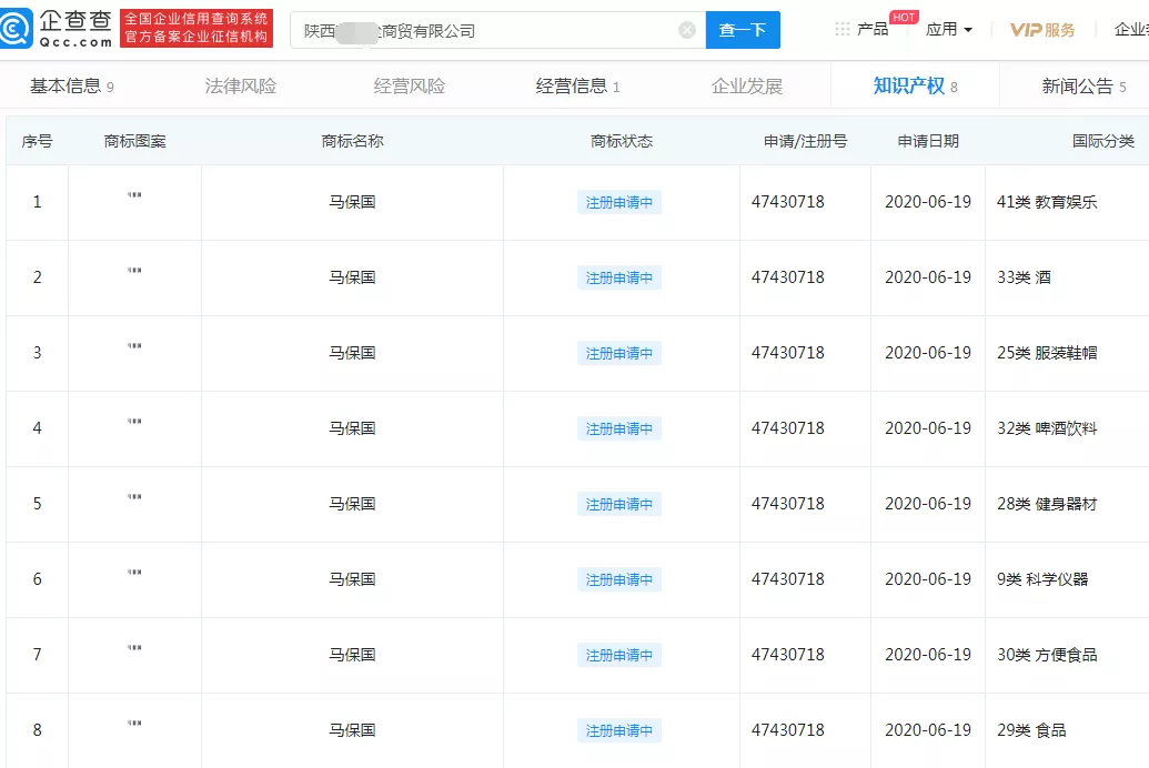
而“马保国”商标则在今年6月份就被陕西某商贸公司注册了,其商标涵盖了包括方便食品、教育娱乐等多个类别。

甚至马保国这一名字的拼音也被抢注为域名。据查, mabaoguo.com/.cn/.net/.com.cn 均被人抢注。其中 .com 最早注册,于2020年5月17日注册。而 .net 则最迟,于2020年11月15日注册。


对于本人名字以及“耗子尾汁”被注册商标一事,马保国在接受采访时称,自己此前不清楚很多人冒充自己,甚至还把自己的头像都注册成商标。在了解情况后马保国表示,对于冒充自己的人自己不会起诉,时间长了他们自己就原形毕露了,而对于恶搞自己的人,他们的视频自己不会看也不会去理会。
真是没想到,马保国这么看得开,半点不计较其他年轻人抢注商标一事,看来是相当有武德的老师傅了。
其实网络热词被注册成立公司已经屡见不鲜,以前不就有一个典型案例“蓝瘦香菇”么。因一位南宁的小伙子口音“难受想哭”听起来像是“蓝瘦香菇”而迅速走红,随后“蓝瘦香菇”被深圳市蓝瘦香菇实业有限公司抢注。如今,相同的一幕再次上演了。
说起来,商人给自己公司起名是真的很随意,基本上什么词火就用什么。比如现在大家仍旧在说的“不想上班”,你绝对没想到,竟有16家企业名称都起名为“不想上班公司”,包括:不想上班有限公司、不想上班食品(深圳)有限公司、嘉兴不想上班贸易有限公司、合肥不想上班贸易有限公司、伊宁市不想上班快餐店、梅州市梅江区不想上班咖啡馆、成华区不想上班广告设计经营部、霍尔果斯不想上班文化传媒有限公司... ...

除了不想上班公司之外,还有人申请了“不想上班”、“不想上学”、“不上班”等商标。

更任性的还有“今天不上班”、“明天不上班”、“周一不上班”、“每天不上班”、“老子不上班”、“我不上班了”等商标。

蜗牛纳表示一脸懵逼,这种看上去有些“丧文化”意思的词语也能注册为商标?
如果是作为企业名称注册的话也还可以,有特色的名称比较容易通过;但若作为注册商标使用的话,难度就有点大了。
事实上,目前与不想上班相关的商标大多处于无效状态,只有个别几个仍处于申请中,蜗牛纳认为注册成功的概率不大。
当然,看上去相当正能量的词语也不一定能成功注册为商标。例如伊利申请“牛YEAR”、“嗨皮牛夜”商标;腾讯申请“顺风不浪”、“逆风不倒”、“稳住我们能赢”、“保护我方输出”、“我拿Buff”等商标;B站申请“呵呵呵”、“一键三连”等商标;特步申请“特不服”商标;歌手周深注册“少管我”商标……
众所周知,商标的作用是区别商品或服务来源,因此显著性是商标必须具备的特征之一。但“不想上班”相关词语属于通用性词汇,作为商标注册,缺乏一定的显著性,因而注册成功率是比较低的。
如今面临每天动辄数万的商标申请量、严重侵占商标资源的情况,企业若想用较快的时间通过审核,那么在商标取名时就需要严格考量商标显著性、商标近似、是否具有不良影响以及商标法规定不予注册的其他情况,以免做了无用功。
总之,网络热词是一把双刃剑,热词虽火得刷屏各大社交平台,但热度降得也快,若一窝蜂似的抢热点、盲目跟风,很大概率有99%的人会因为撞车而白白浪费时间和金钱。所以说注册商标要谨慎,如果不了解哪些词语作为商标注册的成功率更大,蜗牛纳建议委托专业的商标代理机构帮助选择。





