

“唐宫夜宴”等商标遭抢注,博物馆IP如何保护?
发布时间:2021-03-03相信直到现在,也没多少人忘记2021年河南卫视的春晚节目《唐宫夜宴》吧?光是提起这个节目名来,脑海中便会出现一群从博物馆中“复活”的唐朝胖妞儿们,随着音乐节奏灵活扭动。
就这样一个不过5分多钟的舞蹈节目获得了全国人民的称赞,并多次冲上热搜榜单,且总播放量甚至超过了20亿。
更好玩的是,河南卫视在元宵晚会上又带来了《元宵奇妙夜》节目,同样采用了现代技术与古代艺术结合的方式呈现出来,随后再次火遍全网,相关话题一度登上微博热搜。

蜗牛纳后来也看了,当时拍腿直呼好家伙,真不愧是被称为中国版《博物馆奇妙之夜》的节目:闭馆之后的的陶俑少女们醒来奔走在河南博物馆中,甚至闯入了清明上河图里,并用舞蹈打卡了河南各种文化地标,让文物活了起来。
太赞了,这节目是其它卫视没办法复制的,也是河南卫视属于自己的文化宣传道路,不仅完美的契合了观众的喜好,还宣传了中国的历史文化,同时又提高了卫视的收视率,可谓是一举多得。
不过最受观众喜爱的还是在两档节目中扮演成唐俑的舞蹈演员们,网友们觉得这群唐宫小姐姐们太可爱了,若是河南博物院能出同款周边的话一定买买买。
从需要千锤百敲的考古盲盒,到能吃的古钱币巧克力,再到之后走红出圈的唐宫小姐姐们,自牛年开年后短短几个月,会玩的河南博物院就火了一把。
说起来,“唐宫夜宴小姐姐”火爆后,河南博物院还真顺势推出了“仕女乐队”手办盲盒。

看了该盲盒详情页后,蜗牛纳也非常想把“唐宫小姐姐”们带回家呢。
但这时候蜗牛纳突然想到一个很重要的事情——河南博物院做好相关的知识产权保护了吗,尤其是商标注册方面?毕竟不论是“唐宫夜宴”还是“元宵奇妙夜”,都已经成为了河南的一个文化IP,而河南博物院以后肯定想围绕它进行多维度的宣传。
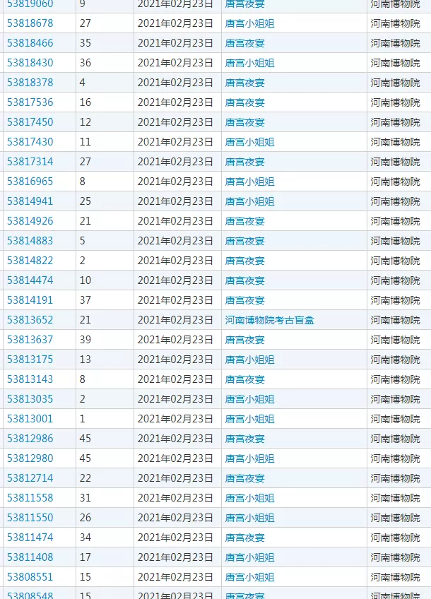
好在河南博物院已经在2月23日申请注册“唐宫夜宴”及“唐宫小姐姐”等商标,此外还注册了“河南博物院考古盲盒”商标,涵盖范围包括了酒、方便食品、乐器、教育娱乐等类别,目前这些商标状态为注册申请中。

只不过,河南博物院并非最早申请此类商标的申请人,从商标局检索来看,目前共有162件“唐宫夜宴”及54件“唐宫小姐姐”商标正在申请中,其中有不少除河南博物院以外的公司或个体户在更早时间申请相关商标。

由此可见,唐宫小姐姐的相关IP能否顺利展开运营,就看河南博物馆是否有解决一些商标问题的手段。
近年来,随着“文化兴国”战略的深入实施,博物馆文化资源的开发与利用备受关注。无论是开发其他文化产品还是拓展新的服务项目,都非常需要受知识产权相关法律的保护。
不用蜗牛纳说也知道,商标不仅是识别商品来源的重要标识,也是企业、博物馆文化内涵与信誉的重要载体,兼备品质保证、宣传教育、彰显特征等功能。
和其他企业一样,博物馆的商标注册也有文字、图形、组合。其中以博物馆名称、陈列展览名称、学术活动来命名商标的现象相当普遍,但可能有少许人知道,博物馆还会以馆藏品命名商标。
博物馆藏品是形成博物馆及其一切业务活动的物质基础,而博物馆藏品既是历史意义的体现,也是在涵括和反映当代社会的发展。那么以馆藏精品文物或文物元素注册商标,更是挖掘藏品的文化信息、展示博物馆的文化底蕴、宣传博物馆建设理念的一项有效途径。
就拿河南博物院举例说明,在其申请注册的商标中,有很多是以馆藏精品文物命名的,如贾湖骨笛、杜岭方鼎、妇好鸮尊、莲鹤方壶、双连壶、云纹铜禁、四神云气图、武曌金简、玉柄铁剑等等。

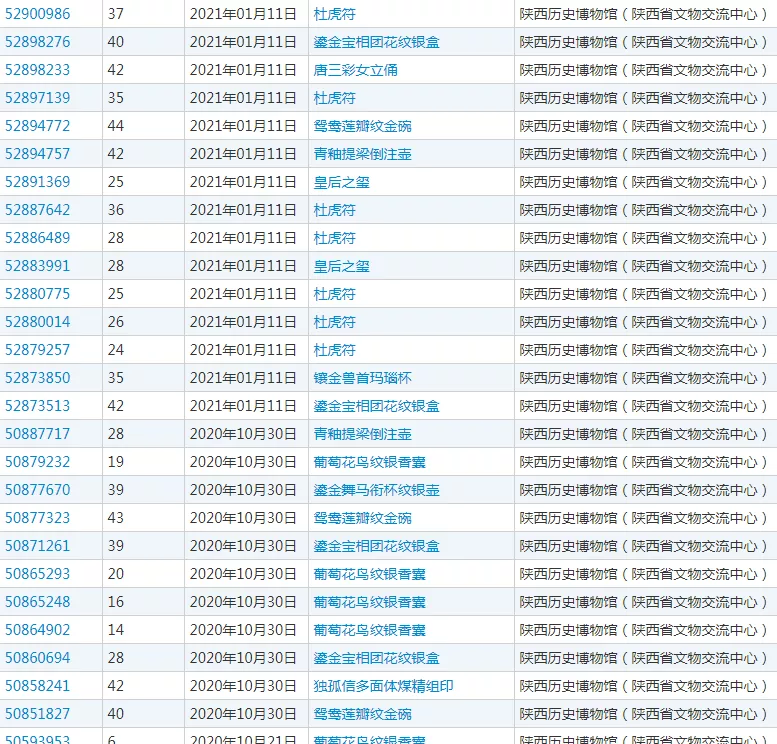
再如陕西博物馆(陕西省文物交流中心),同样申请注册了以馆藏精品文物命名的“唐三彩女立俑”“杜虎符”“鸳鸯莲瓣纹金碗”“皇后之玺”“葡萄花鸟纹银香囊”“镶金兽首玛瑙杯”“鎏金铁芯铜龙”等商标,还注册了体现当时社会背景的“宫女图”“观鸟捕蝉图”“马球图”“客使图”等。

说起来,陕西历史博物馆和河南博物院一样,也是个很会玩文创的,这不,该博物馆就申请注册了“周知礼”“秦威武”“汉英俊”“唐美丽”“唐宝贝”“唐妞”系列商标。

“唐妞”“唐美丽”“汉英俊”等是陕西历史博物馆于2015年推出的系列文创产品。另外,“唐妞”系列文化产品还获得了“全国博物馆文化产品创意设计推介活动”家居用品组铜奖。
如今,以故宫博物院为代表的博物馆文创产品研发和经营模式正在不断创新中,这不仅增强了博物馆生存发展能力,也拓展了博物馆文化传播功能。可以说,自从文物与历史从博物馆的展厅走进人们的日常生活后,博物馆文创开发的形式也逐渐从传统的单一文创产品向文创知识产权全产业链发展。
只是在玩转文创的同时,任何博物馆都应当注重对文创产业的品牌发展及完善的品牌保护,要知道这是他们后期发展及运营的内在动力,也是提升品牌竞争力的坚实基础。
通常来说,博物馆文创产品的知识产权保护路径主要有这三点:①及时办理著作权登记手续;②进行商标权保护;③对产品的外观进行的专有性保护。
对于进行虚假宣传,使消费者以为是博物馆经营的商品而误认、误购的,可以由反不正当竞争法以及消费者权益保护法来制裁。
蜗牛纳建议每家博物馆设立一个知识产权管理部门,这样可以及时发现自身存在的知识产权问题,避免知识产权纠纷,并最大程度地实现自身的知识产权保护,从而促进博物馆文创产业的长远发展。





