

微博欲与微信争抢“狗头”商标,字节跳动也来凑热闹!
发布时间:2021-04-202020年1月14日,微信上线了十款新默认表情,其中包含“吃瓜”“旺柴”“好的”“打脸”等。当时有很多网友表示这组新增的表情绝对是注入灵魂了,尤其是这个狗头“旺柴”,真的没有让人失望,一直霸屏着各个对话窗口的聊天中。
甚至有媒体在微博发起过关于“微信微博狗头更喜欢哪个”的调查,从最终票数来看,结果喜欢微博“狗头”的占了多数。可能是因为微信的狗头扁扁的吧,而且眼睛看起来像是被人按上了两根烟的样子。
尽管如此,但网友们在微信聊天时发得最多的新表情仍旧是贱贱的“旺柴”,这个狗头表情应该是继“捂脸”表情后最受欢迎的微信表情。
于是腾讯很果断地将该表情申请为商标注册了。2021年2月,腾讯科技(深圳)有限公司(以下简称腾讯)申请注册 “狗头”图形商标,国际分类为金属材料、方便食品、家具、布料床单、广告销售等,商标状态均为 “注册申请中”。

此次腾讯专门为一个表情包注册商标,足以见其受欢迎程度。看似多此一举的注册,实际上却是为了保护自身自身权益不受侵害。要知道在此之前,频频有企业为了蹭热度而抢注微信表情为商标。
例如2017年,有人将微信表情“捂脸”申请注册为商标,腾讯随后对该商标提出了异议申请。

除此之外,腾讯的“调皮”、“耶”、“呲牙笑”等表情包均被他人申请过商标注册。
好在最后上述商标均未注册成功,否则腾讯的表情设计师就真要捂脸痛哭了。
虽然腾讯很早就申请注册“旺柴”商标,可实际上这个“狗头”表情并非仅出现在微信,更非第一个设计该表情的公司。要知道,新浪微博“狗头”表情的上线时间是在2014年,这可比微信早得多。
记得微博的“狗头”是在上线后一年就火起来的,但为何当时运营该平台的企业没有及时将其注册为图形商标呢?如果说是觉得它没有任何价值,可腾讯后来的操作无一不表明这种表情图片也应受知识产权保护。
也许是反射弧比较长吧,在狗头表情流行了几年后,微博关联公司微梦创科网络科技(中国)有限公司才终于在4月8日申请 “狗头”图形商标。据天眼查显示,该商标注册号为55026663,国际分类为灯具空调,目前商标状态为 “商标申请中”。

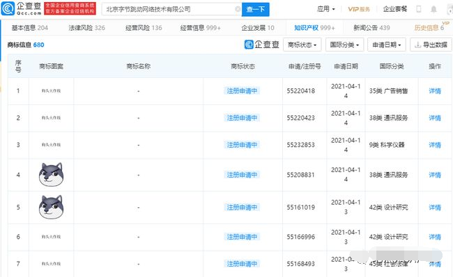
有点意思的是,北京字节跳动网络技术有限公司(以下简称字节跳动)也跟着来凑热闹,他们申请注册了“狗头”、“狗头大作战”等相关商标,国际分类涉及设计研究、广告销售、科学仪器、通讯服务等。目前商标状态均为“注册申请中”。

尽管三个平台的“狗头”形象不一样,都有细微的差别,但它们都是根据早年火爆全网的柴犬“神烦狗”创作出来的。
2010年时,一日本网友在自己的账号上分享了一篇《今天晚上吃什么呢?》的文章,文中的第三张配图就是后来的火起来的“狗头”表情——神烦狗(名为Kabosu,中文译名是臭橙)。

创作灵感源于同一只柴犬,而表情也很相似,都注册为商标的话恐怕会构成近似吧?
当然,人家可以说在设计风格、整体外观、持有人所处地域等方面差异明显,并不会构成近似商标。
只不过,若申请商标与引证商标同时使用在类似商品上,容易使相关公众对商品的来源产生混淆误认,那么商评委会认为构成《商标法》第三十条所指使用在类似商品上的近似商标。
由于图形商标不像汉字与英文那样有相对具体的标准来判断,所以主要还是从商标图形的构图和整体外观来判断近似,通常易使相关公众对商品或者服务的来源产生误认的,将判定为近似商标。
当然,有些人的图形商标在被判定近似驳回后,可以通过申请复审,只要掌握裁判标准和思维,有针对性的提出诉辩主张,减少裁判的主观性对己方的不利影响,基本上有很大概率可以让自己的商标成功注册。可假设提出的诉辩主张理由不足,还是会被驳回复审的。
另外,也要看最早下手的腾讯是否为“旺柴”表情申请了版权登记。毕竟腾讯之前申请的其他表情商标,都是用侵犯在先权利著作权提出异议,事实证明他们此举很成功。
这么看来,晚于腾讯注册“狗头”商标的微博、字节跳动也不太乐观呀,除非他们同样做好了版权登记,也有相关证据证明他们拥有在先权利。
总之,为避免出现图形商标近似的情况,企业或个体户在注册商标时,一定要提前做好商标查询的工作,毕竟我国《商标法》有规定,针对商标相同或者近似的都会进行驳回。
所以蜗牛纳建议企业趁早进行商标注册,不然被同行抢先注册商标的话,会给自家企业的发展带来阻碍。毕竟不是所有企业都能和腾讯一样有着强大的法务部门以及足够的资金维权,而有钱如微博的也不一定能干得过“南山必胜客”……
最后蜗牛纳强调一点:申请商标一定要快、准、狠!如果自己没时间,就委托正规、专业的商标代理机构及时注册商标。虽说没有商标代理也可以进行商标注册申请,不过擅长进行商标检索和熟悉注册程序的商标代理能为企业节约非常多的时间,保证申请注册的商标能在正确的商标使用的类别上得到保护,避免因绝对或相对理由而驳回复审,同时还可帮着制定商标策略、确定保护范围。另外在申请注册商标过程中,非常需要关于实践性建议和风险分析来应对商标局的审查,尤其在收到驳回通知时。
若要问腾讯的态度,他们大概无所畏惧吧,毕竟有南山必胜客在。
比起关心“狗头”到底是谁家“头”之类的问题,倒不如赶紧做好微信键盘的知识产权保护。
是的,腾讯的键盘终于要出来了!
据天眼查App显示,腾讯已于3月份申请注册多个“微信键盘”商标,国际分类涉及网站服务、科学仪器、通讯服务、广告销售等。目前商标状态均为“等待实质审查”。

虽然相关商标正在申请注册中,但并不影响产品的上线。
因为近日有网友在社交网络上晒图称,微信已开始内测“微信键盘”,获得内测资格的用户可在“我-设置-插件”中心查看并开启。

从微信键盘的描述页面来看,微信键盘的比较简约的,发送按钮也是标志性的微信绿色。并且可以看到微信键盘的一大亮点就是输入速度会很快,具体用的是什么方法提高输入速度,还需要等待后续大范围内测的体验。并且可以看到微信键盘的一大亮点就是输入速度会很快,具体用的是什么方法提高输入速度,还需要等待后续大范围内测的体验。
鉴于微信在国内的受欢迎程度,如果接下来微信键盘大范围推广,也许会成为其他第三方输入法一个有力的竞争对手。
总觉得搜狗、百度、讯飞等输入法的运营商要紧张起来了呢。
此外,据企查查显示,腾讯还申请了“小鹅趣音”商标,国际分类涉及科学仪器、教育娱乐等,申请日期为2021年4月12日,目前商标状态为“商标申请中”。

这操作是要跟字节跳动的抖音“打擂台”吗?
看到这里便知道腾讯野心有多大:键盘要上线,小鹅趣音要搞起来,别说区区一只“狗头”,即便是其他动物的表情,只要申请为商标了就谁也甭想抢走!
不过在此之前,腾讯可能需要一点时间参考其他表情好好设计一下。





