

针对“三星堆”商标抢注乱象,四川立法保护相关知识产权!
发布时间:2021-05-283月20日,考古工作者在四川三星堆遗址新发现6座器物坑,现已出土金面具残片、巨青铜面具、青铜神树、象牙等重要文物500余件。当时有超过四百万人在线观看发掘直播,很快出土文物视频、图片的刷屏,掀起了一场全网狂欢。
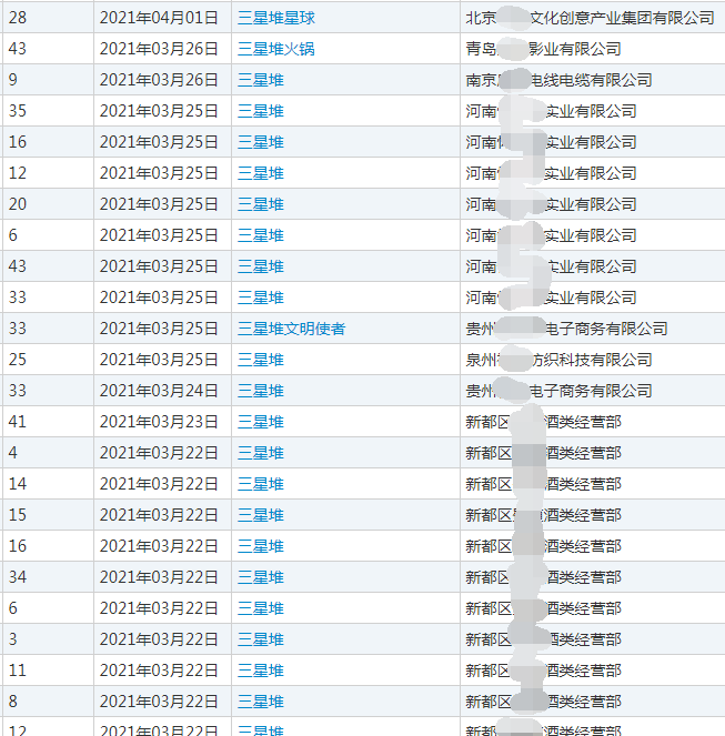
但在四川广汉市三星堆遗址新发现六座祭祀坑后,多个与“三星堆”相关的商标便相继被申请注册。
相关阅读:
除了“三星堆”,还有“三星堆文明使者”“三星堆火锅”等商标,国际分类包括科学仪器、金属材料、运输工具、教育娱乐及酒类等,注册的公司包含餐饮住宿、电子商务、电线电缆等。

对此,三星堆博物馆工作人员于4月6日给出回应:“商标注册种类太多,我们博物馆是无法注册三星堆相关商标的全门类的。目前博物馆主要管理自己注册的一些相关商标。如果有些商家抢注商标涉及到纠纷的话,会让博物馆聘请的商标事务所处理这些事。”
那么过了一个多月后,现在这些非官方注册的“三星堆”商标处理得怎么样了呢?
为了贯彻中央决策部署,省委省政府明确提出,加强三星堆遗址的研究、发掘和保护,推动申报世界文化遗产,建成世界古文明研究和文旅高地,因此省委决定三星堆遗址保护立法“提级提速”。
5月26日,在四川省第十三届人大常委会第二十七次上,《四川省三星堆遗址保护条例(草案)》(以下简称《条例(草案)》)提请大会进行审议,四川省人大教育科学文化卫生委员会副主任委员黄勇作了关于《条例(草案)》的说明。

说明指出,三星堆遗址是古蜀文明的重要标志,是中华文明多元一体起源和发展脉络、灿烂成就的重要实证。2021年3月,三星堆遗址重要考古新发现,引起国内外极大轰动,三星堆迅速成为网红打卡地和热门文化旅游目的地,其文化影响力、传播力显著提升。为三星堆遗址保护管理提供法治保障,由省级层面制定法规,正当其时,十分必要。
《条例(草案)》共38条,明确了立法定位、厘清管理职责、强化资金保障、严格保护措施、加强管理利用等主要内容。
据了解,《条例(草案)》将文化自觉和责任担当融入三星堆遗址保护立法目的。例如第一条规定,“为了加强三星堆遗址的保护,确保三星堆遗址真实性、完整性,促进三星堆遗址考古工作和历史研究,挖掘、阐释、展示和传播中华优秀传统文化,坚定文化自信,增进人类文明交流互鉴”;第二十五条规定,“鼓励通过加强国家考古遗址公园、博物馆建设等方式,开展三星堆遗址价值和内涵的阐释、展示与宣传”。
《条例(草案)》还规定了一系列严格保护三星堆的措施,包括严格实行规划保护制度,实行分类分层保护制度等。其中第九条规定,“三星堆遗址的保护和管理,实行规划保护制度”;第十条规定,“遗址保护区域分为保护范围和建设控制地带”;第十一至十五条分别对保护范围和建设控制地带作出明确的保护规定,对可能危及遗址及文物安全的行为作了禁止性规定。并且为确保遗址保护区域及周边环境的安全可控,第十八条对有关生态环境保护、防震减灾、防洪排涝等进行了明确。同时,第十九条对应急管理进行了明确。
梳理《条例(草案)》发现,对标遗址申遗,突出规划引领,扩大社会参与,注重知识产权保护等,是《条例(草案)》的特色亮点。
比如《条例(草案)》第八条规定“鼓励三星堆遗址所在地的村(居)民委员会将遗址保护纳入村规民约、居民公约”“鼓励自然人、法人和非法人组织通过捐赠、志愿服务等方式参与三星堆遗址的保护”,还明确提出“任何组织和个人都有依法保护三星堆遗址的义务,对损坏、危及三星堆遗址及其保护、展示设施的行为,有权劝阻、举报。”
还有第十六条规定“鼓励通过聘请文物保护员、设立群众性文物保护组织、志愿服务等方式协助开展遗址保护工作”。
值得关注的是,针对近期“三星堆”商标抢注事件,《条例(草案)》也作出了回应。《条例(草案)》第二十九条规定,“三星堆遗址保护管理机构应当加强有关三星堆遗址的知识产权保护、管理工作。省、德阳市、广汉市有关部门应当依法查处侵犯三星堆遗址知识产权的违法行为”。这不仅彰显当地部门打击恶意抢注商标的坚定态度和积极效果,也能让恶意抢注行为知难而退。
此外,为深入挖掘宣传文化内涵,《条例(草案)》也鼓励通过加强国家考古遗址公园、博物馆建设等方式,开展三星堆遗址价值和内涵的阐释、展示与宣传。鼓励运用现代科技手段创新文物展示方式,增强互动性和体验性。鼓励利用三星堆文物资源开展教育教学研学等社会实践活动,发挥三星堆文物资源的公共文化服务和社会教育功能。鼓励开展三星堆遗址相关文化交流、文艺创作、开发文化创意产品等活动,在确保文物安全的前提下发展遗址特色文化和旅游产业,促进文旅融合发展。
这下可以放心了,以后再有非官方企业申请注册“三星堆”商标,或是制作并销售关于三星堆遗址的产品,都将被有关部门依法查处。
随着经济的飞速发展,博物馆行业正面临着空前的发展机遇。在"互联网+"的时代背景下,三维技术、数字化技术等信息手段的出现与应用,加上衍生制品与文物复仿品需求的日益增多,对不少博物馆的知识产权有一定影响。
所以,其他博物馆也应该注重对知识产权的保护与管理,特别是针对商标、著作权等问题,最好联合地方部门制订相应的措施,并建立文物单位、文化资源及开发利用形成的知识产权保护机制。只有做好了自身利益的有效维护,才能避免各种侵权纠纷的出现。





