

神舟十二号宇航员霸屏热搜,其商标能否申请注册?
发布时间:2021-06-186月17日9时22分,搭载神舟十二号载人飞船的长征二号F遥十二运载火箭,在酒泉卫星发射中心准时点火发射,神舟十二号载人飞船与火箭成功分离,进入预定轨道,顺利将聂海胜、刘伯明、汤洪波3名航天员送入太空,飞行乘组状态良好,发射取得圆满成功!
这是我国载人航天工程立项实施以来的第19次飞行任务,也是空间站阶段的首次载人飞行任务。按照预定计划,飞船搭乘航天员采用自主快速交会对接的模式,与空间站天和核心舱前向对接口对接形成组合体,航天员驻留太空约90天后返回地面。
据了解,神舟十二号载人飞船是由航天科技集团五院抓总研制,迄今为止我国研制的标准最高,各方面指标要求最严格的载人航天器。

蜗牛纳利用午休时间看了一下,挺激动的,觉得现在没有任何困难能阻挡我们国家前进的步伐了。
由于“神舟十二号”话题过于火热,因此有不少公司紧跟时事蹭起了热度。最引人注目的是,BethesdaAsia官方在微博上发文庆祝神舟十二号发射成功之余,还附带了一张《星空》宣传图。明眼人一看就知道这是B社正借机宣传他们旗下游戏大作《星空》。
蹭热度是需要企业谨慎考虑的事情,且水平要高,这样才能在宣传自家产品和事件的同时,不让用户、消费者反感。否则便会像之前的某手机品牌蹭清明节热度一样,最后被网友喷到发微博道歉。
有人说,如果不太会宣传,可以先将热点事件的关键词申请为商标注册,等时机到了可推出相关产品进行宣传,这样人们的接受度也会很高。
这倒是个好方法,所以会有商家抢注“神舟十二号”商标吗?
讲真,如果该商标注册成功的话,商家必定能凭空获得一笔财富。商标的财富意义尽人皆知,甚至像有价证券一样可以随时“变现”。但问题在于:这种跟我国重大工程名称有关的商标能成功注册?
还记得以500米口径球面射电望远镜(FAST)命名的第30066410号“天眼 FAST SINCE 2016 FILTER CIGARETTES及图”商标吗?虽然当时某烟草公司请求准予该商标初步审定的理由是具有独特的设计内涵,使用在指定商品上,不会产生不良的社会影响,未违反《商标法》第十条第一款第(七)项、第(八)项的规定,且有诸多与本案类似情况的商标已获准注册。

但国家知识产权局认为该商标中“天眼 FAST”为我国天眼超级望眼镜的中英文名称,作为商标上册使用在指定商品上,易使消费者对商品来源产生误认,同时亦产生不良社会影响,已构成《商标法》第十条第一款第(七)项、第(八)项所指的不得作为商标注册的情形。其他商标的注册情况与本案申请商标不同,不能成为申请商标获得注册的当然理由。故而将这件商标在复审商品上的注册申请予以驳回。
对于“天眼”被抢注为商标一事,此前中国航天科技集团五院研究员及莉在接受记者采访时表示:“在诸如此类具有社会影响力的国家级重大项目研制过程中,应落实责任、尽早组织开展商标申请,防止其他企业或个人的抢注行为,减少被抢注后侵犯他人商标权的风险,同时也获得商标保护的主动防御权。”
实际上,中国航天科技集团五院作为中国空间事业的骨干力量,在载人航天、探月、北斗等国家重大专项工程中,培养出了自主、鲜明的品牌理念和品牌核心价值观。多年来该院从品牌战略角度出发,结合重大专项知识产权管理实际,组织实施了商标的全过程管理,拥有“CAST”“神舟”“天宫”“巡天”等一系列具有航天特色的重大商标,获得了一定的社会影响力和公众知名度。
特别是“神舟”品牌,早于1999年进行了重点领域商标申请,覆盖航空运输机、空中运载工具、火箭、导弹等核心内容。结合品牌建设需求,后来再进行了几次补充保护,扩展到救生装备、卫星传送、计算机编程等多个服务领域,甚至还申请并获得了驰名商标保护,可以实现跨类别保护。
为有效应对这些问题,国家知识产权局早已采取一系列措施。推动完善法规,商标法第四次修订专门增加了“不以使用为目的的恶意商标注册申请应当予以驳回”的规定,将打击恶意囤积商标申请的关口前移到审查阶段,并贯穿整个商标申请注册的程序中。准确进行识别,通过设置商标审查指引词库,综合人工判断,在审查中准确识别商标恶意注册行为。开展分类处置,对于有重大不良社会影响的,予以快速驳回并曝光,让相关机构和人员受到全社会的声讨。
相关阅读:
近年来,随着“天眼”“北斗”“蛟龙”等重大科技项目逐一精彩亮相,越来越多的企业意识到了大国重器的品牌价值,由此带来的商标恶意抢注行为不容忽视。更何况“神舟十二号”载人航天的成功,本来就凝聚着广大科技工作者和参与载人航天工程研制、建设和试验的无数人们的心血,寄托着中国人民甚至全球华人的希望与理想。它已由一种特定事物的名称,升腾为民族精神的结晶,是宝贵的精神财富。因此,中国航天的神舟系列不合适被其他公司作为商标使用。
那么为了保护这类名称,有关机构不仅要在法治轨道上采取分类施策、综合治理的方式予以解决,还要提升知识产权保护意识,建立品牌管理体系。特别是在重大科研项目立项之后,应立即对有关项目名称实施全类别或重点领域商标注册的防御性保护,从而有效防止他人注册。
也许会有人说,大国重器不可私自注册成商标的话,航天员的名称总可以吧?
根据我国相关法律规定,名称是一种权属,是一种人身权利,包括姓名权、名称权、荣誉权、肖像权,想要注册航天员的名字作为商标,就必须经过航天员本人同意,否则在民法意义上是一种侵权行为!
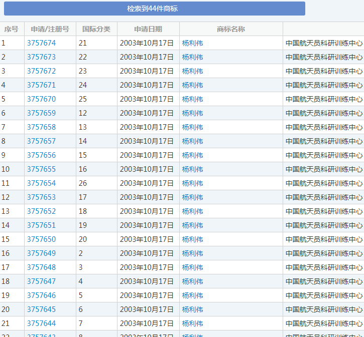
即便注册了,也会遭驳回,我们看看“杨利伟”商标注册情况就知道,除了中国航天员科研训练中心(以下简称中国航天员中心)已注册的这44件外,其他公司或个人申请注册的相关均被驳回。而费俊龙、聂海胜、翟志刚、刘伯明、景海鹏、张晓光等中国首批航天员的名字,也已经被中国航天员中心注册成商标,没有其他公司的事儿。



这次首飞的汤洪波,也会由中国航天员中心做好相关的商标保护,避免出现他人抢注的情况。
最后,纳杰知识产权祝聂海胜、刘伯明、汤洪波这三位宇航员圆满完成在天和核心舱的任务并安全返回祖国!





