

王老吉申请“新婚大吉”“新年大吉”等多个商标,网友表示通用词语不能注册
发布时间:2021-07-06活久见啊活久见,果然活的时间久就什么事都能见到。
想不到有一天,那么多的祝福词语居然能作为商标注册……
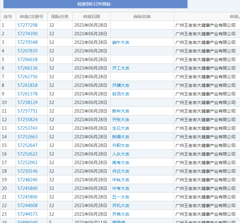
通过商标搜索,广州王老吉大健康产业有限公司(以下简称王老吉公司)近日申请注册了新婚大吉、端午大吉、开工大吉、新年大吉、生日大吉、中秋大吉、中考大吉等商标。这些商标国际分类为啤酒饮料,目前商标状态均为申请中。

如果注册成功,那么以后大家过节、开工、升职、考试、结婚等等都喝王老吉凉茶庆祝?
这要是什么都没有,就不配喝“XX大吉”的王老吉了吗?想想怪心塞的。
对此,网友们觉得王老吉脸皮有那么一点厚。

有不少网友认为,这种常说的祝福语应该算是通用词语,不可以将其作为商标注册并使用。
我们先来了解一下通用词语的概念。通用名称是反映一类商品或服务与另一类商品或服务之间根本区别的规范化称谓,同行业生产者经营者均可使用通用名称。因此,通用名称应当具有以下特征:
1.通用名称是反映商品或服务的物理特性,为相关公众区别商品或服务而非商品或服务的来源;
2.通用名称是明确且相对统一的;
3.通用名称是行业经营者普遍使用的商品名称,特有商品名称并非通用名称。
“XX大吉”之类的词语,只是人们常用的祝福语,算不上是一种通用词语。
众所周知,很多企业在申请注册商标时,非常希望自己的商标中能够包含同类型商品的通用名称、主要功能或是原料。因为使用与产品属性相符的词语作为商标,可以让消费者更容易联想到上述企业的产品,而这便是使用通用词汇作为商标的好处。
再者,我国《商标法》从来就没有说通用词语不能注册商标,毕竟通用词语也分什么样的词语,并不是全都不能注册的。而对于商标的要求,在《商标法》第十条、第十一条中的规定已经有了明确说明哪些标志不得作为商标注册。
(一)同中华人民共和国的国家名称、国旗、国徽、国歌、军旗、军徽、军歌、勋章等相同或者近似的,以及同中央国家机关的名称、标志、所在地特定地点的名称或者标志性建筑物的名称、图形相同的;
(二)同外国的国家名称、国旗、国徽、军旗等相同或者近似的,但经该国政府同意的除外;
(三)同政府间国际组织的名称、旗帜、徽记等相同或者近似的,但经该组织同意或者不易误导公众的除外;
(四)与表明实施控制、予以保证的官方标志、检验印记相同或者近似的,但经授权的除外;
(五)同“红十字”、“红新月”的名称、标志相同或者近似的;
(六)带有民族歧视性的;
(七)带有欺骗性,容易使公众对商品的质量等特点或者产地产生误认的;
(八)有害于社会主义道德风尚或者有其他不良影响的。
县级以上行政区划的地名或者公众知晓的外国地名,不得作为商标。但是,地名具有其他含义或者作为集体商标、证明商标组成部分的除外;已经注册的使用地名的商标继续有效。
(一)仅有本商品的通用名称、图形、型号的;
(二)仅直接表示商品的质量、主要原料、功能、用途、重量、数量及其他特点的;
(三)其他缺乏显著特征的。
前款所列标志经过使用取得显著特征,并便于识别的,可以作为商标注册。
在上述法律条例中,并没有说通用词语不能注册为商标。
不过需要注意的是,商标注册商品所在行业通用词语不能注册商标,而非该行业的其他行业通用词语则可以在该商品上用来注册商标;但是该行业通用词语经过长期使用、广泛宣传取得第二层含义,从而具有显著性的,同样是可以注册成商标的。
例如,鼎鼎有名的“Apple”(苹果)商标,在水果相关类别上是不能注册的,但在电脑手机上却能够被商标注册成功,从而成为家喻户晓的Apple手机、Apple电脑、Apple手表等知名品牌的电子产品。
此外,经过使用取得显著特征的可以作为商标使用。例如“JEEP”(吉普车)在“汽车”商品上的注册。
就商标中的通用名称部分,我们还需要看:
也就是说,已注册的通用名称商标的持有人无权禁止他人正当的在商标中使用这些通用名称的。
如果考虑具体案件的时间,需要看他人对该通用名称的使用是否正当,所以也并不是所有通用名称商标都可以随意的以任何方式使用的。
当然,当普通的商标名称成为通用词语之后,是有可能遭受类似“优盘”一样被撤销商标注册的后果。因此即使保留商标注册,也会因对方主张合理使用,而在商标保护上受到极大地限制。
为何商标名称到后来会被通用化呢?
这既有商标本身、垄断经营等原因,也有权利人使用及管理不当的原因,更有竞争对手等第三方的作用。
回想一下当初的“优盘”商标,如果当时注册了该商标的公司在其他经营者刚开始用优盘来指代商品时及时进行阻止,还可以阻止变成通用名称。但令人遗憾的是,这家公司的补救实在太晚了,最终导致“优盘”已经变成了通用名称,无可挽回。
既然有相关案例,那么王老吉公司能成功注册的那些“XX大吉”商标吗?

那就要看公众在看到该商标后是否可以在第一时间联想到王老吉凉茶,并区别是商品或服务而非商品或服务的来源。当然,也要具备显著性。
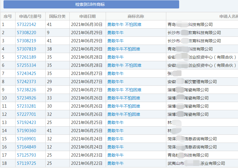
不过比起“XX大吉”商标来,似乎已经被多家公司申请的“勇敢牛牛”“勇敢牛牛不怕困难”商标更容易注册下来;

虽说也有被驳回的风险,但在勇敢牛牛走红之前,就已经有不少“勇敢牛”商标注册成功了。
值得一提的是,勇敢牛牛不怕困难商务服务(上海)有限公司也于近期在上海成立。

你觉得,最终能顺利注册为商标的是一堆“XX大吉”,还是“勇敢牛牛不怕困难”?





