

吴亦凡事件中关联商标遭抢注,旗下“大碗宽面”“不凡之战”等商标或被撤销!
发布时间:2021-08-037月31日晚22:30,@平安北京朝阳 再次发布关于吴某凡事件的通报。通报如下:针对网络举报的“吴某凡多次诱骗年轻女性发生性关系”等有关情况,经警方调查,吴某凡(男,30岁,加拿大籍)因涉嫌强奸罪,目前已被朝阳公安分局依法刑事拘留,案件侦办工作正在进一步开展。
随后官媒中国长安网、人民日报以及中国禁毒在线也纷纷下场评论吴亦凡事件,并直言法律面前没有顶流。至此,曾经的顶流明星吴亦凡,星路算是走到头了。

想不到在这7月的最后一天,关于吴亦凡事件的热搜竟盖过了东京奥运会的。一时之间不知道是应该吐槽官博发布的时机太“不恰当”,导致这位“顶流”占用了公共资源;还是应该同情汪峰,不得不将太原站的演唱会延期?

据网络消息,汪峰原定于7月31日在太原的演唱会已经延期,时间另行通知。当然,这可能是因为疫情的缘故才延期的。但不管怎样,很多网友都认为这是“汪峰定律”,不然官方在哪天发布不行,非得7月的最后一天?
就在蜗牛纳看网友梳理的吴亦凡事件时间线时,好几个吃瓜的朋友分别发信息问:会被判多久?加拿大籍会获得豁免吗?
这肯定也是很多网友想知道的,吴亦凡会不会以他是加拿大籍为由逃回他的国家。这个嘛,警方肯定是不会给他逃走的机会。
如果吴亦凡确实强奸了多名被害人,可能构成强奸罪的加重情形,按照相关法律规定,会被判处十年以上的有期徒刑,甚至无期徒刑。即便他是加拿大籍,但根据属地管辖原则,只要在中国境内犯罪的都适用于我国法律。
至于豁免权,吴亦凡他又不是外交人员,只是一个歌手。并且在中国和加拿大之间没有引渡条例,若是进入到审判阶段,吴亦凡被判处有期徒刑了,那么他将在中国服刑,等刑满出来后才会被驱逐出境。这里可以参考一下孟晚舟事件,她在加拿大被判刑后并没有直接遣返回国接受审判。
蜗牛纳还注意到吴亦凡的很多粉丝仍在等反转,期望警方是抓错了人。抓错人是肯定不会抓错人的,更别提有什么反转。如果警方没有掌握关键证据,是不可能对他进行刑事拘留,毕竟此次事件不同于普通人犯罪,是知名人士犯罪,还关系到社会舆论。那么警方做出这种决定,定罪的概率极大。当然,目前吴亦凡是涉嫌强奸,需要经过法院最终的审判才能定罪。
按理说,蜗牛纳只是知识产权圈的一个打工人,在这里讲强奸案的相关法律似乎有些跑题。别急别急,接下来才是连知识产权大佬们都在吃的瓜,只不过有些瓜过于恶臭……
这边网友们等待吴亦凡事件的后续,那边开始有人疯狂地将此事中出现的各种名词申请注册为商标。
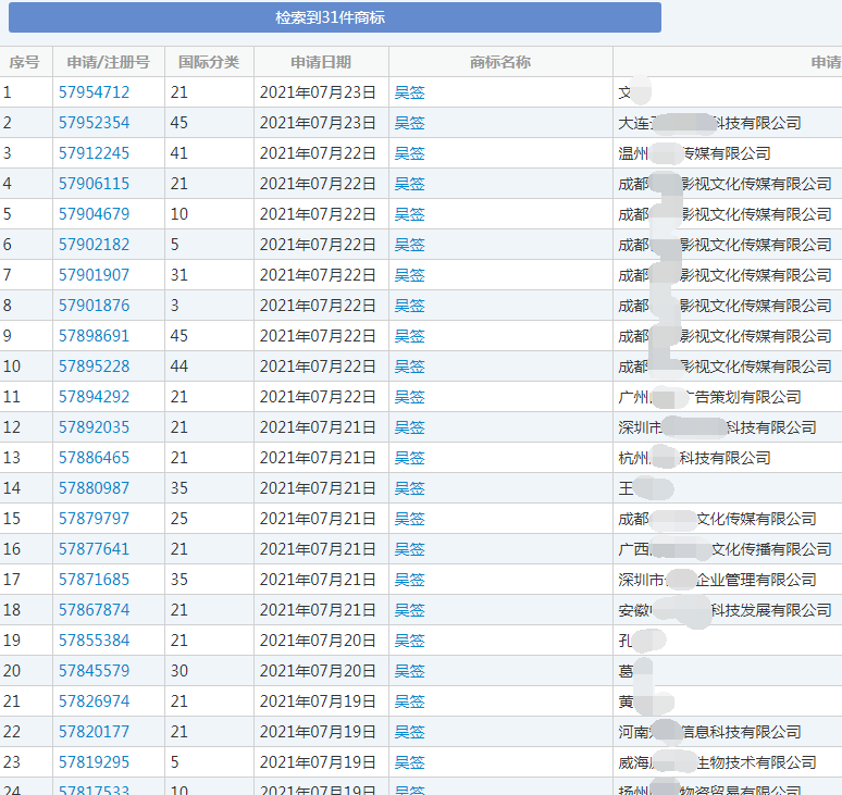
通过国家知识产权局商标局的查询平台,“吴签”这一极具讽刺意义的词,已经被多家公司及个人申请商标,国际分类涉及教育娱乐、医药、日化用品、厨房洁具等,申请日期均为7月份。

截至目前有31件关于“吴签”的商标注册申请,其中申请21类商标的更多。而根据商标注册用商品和服务分类表显示,牙签为第21类2109号商标。
还有的玩起了谐音成语梗:“见亦思签”。

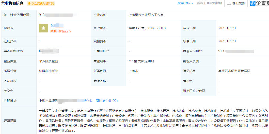
将“吴签”“见亦思签”申请注册为商标也就罢了,居然还有成立公司的。据企查查现实,有企业登记命名为“上海吴签企业服务工作室”,还有商户成立了“义乌市吴签电子商务商行”。


电子商务的很好理解,但服务工作室主要服务什么,提供各种非同一般的“签”男友或“签”女友八卦新闻吗?
好的,企业或个体户借此调侃吴亦凡也没什么,吃瓜群众看了顶多乐呵一下,再感叹商家蹭热点的速度比苏炳添还快。但接下来的商标,就让大家笑不起来了。
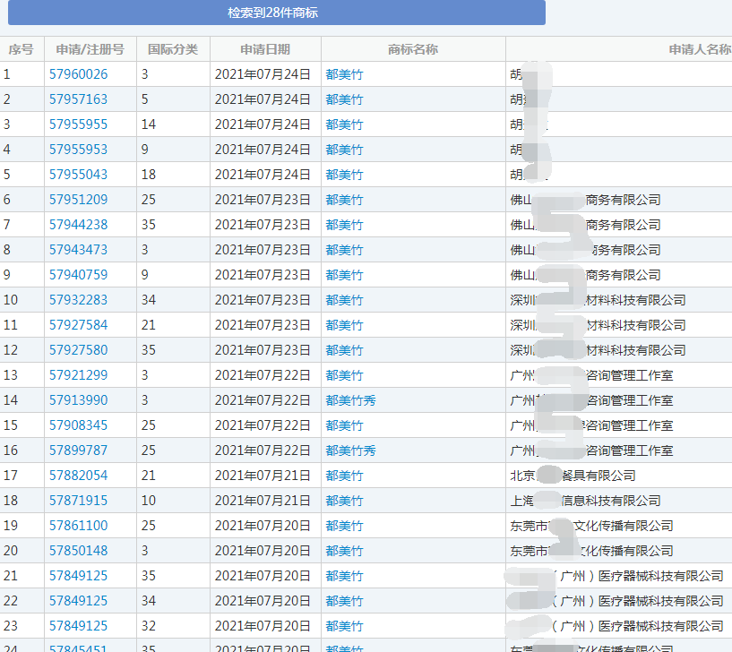
竟有不少无良商家将都美竹、小G娜等被吴亦凡事件牵涉其中的女孩名称申请注册为相关商标。举几个例子,比如“都美竹”相关商标,申请日期均为2021年7月,从时间上来看正好是吴某凡事件刚刚发酵之时。

也是在查询过“都美竹”商标了才知道,早在2016年小G娜首次爆料吴亦凡事件后不久,就已经有公司抢注“小G娜”商标。让蜗牛纳无语的是,这家公司应该是做隐私保护服务的……

为何只有3件商标呢,可能是因为当时吴亦凡的团队公关得很及时,将此事压了下去,因此抢注该商标的企业没有抢注“都美竹”的多。
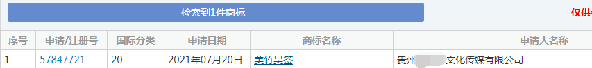
抢注了“都美竹”还嫌不够,开始将吴亦凡事件的延伸名词抢注为商标。有公司“灵机一动”,把他们想到的一个“CP”名字注册为商标——“美竹吴签”。

说真的,在受害者身上薅羊毛,这已经是阴间人才会干的事儿了吧?
难道这些无良商家就没想过,只要他们注册的商标一直存在,那些不愿回想的往事便会像根刺一样扎在女孩们的心上拔不出来?
近年来众多网络热词、流行语被抢注商标。若是很平常的词语也就算了,但一些商标中有受害者的名称,这就比注册“吴签”还过分。尽管此事中的受害者并不全然无辜,而犯罪者也正被调查,但有些商人真的不应该为了逐利,不管不顾地将这件严肃的法律事件给娱乐化,将受害者名字、恶俗梗等抢注商标,且将受害者与犯罪者一起申请商标。
真的,他们不觉得这种没有分寸的蹭热度行为太难看了吗?
嗐!要不然怎么会有些企业或商家被喊无良呢?比起用心做好品牌,人家更关心自己抢注的商标能否申请成功。
其实,将他人名字注册商标,涉嫌损害他人包括姓名权在内的合法权益!不仅如此,像这种“见亦思签”之类的谐音成语,非常容易误导中小学生对语言文字的认知。至于恶俗梗……那就更不用说了,有害于社会主义道德风尚或者有其他不良影响,同样不会通过注册的。
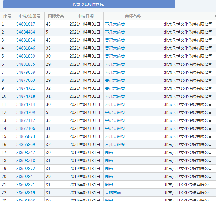
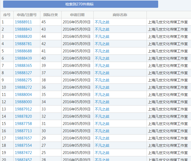
除了吴亦凡事件中相关名词的商标备受商家关注外,吴亦凡和其团队以前申请的“大碗宽面”以及各种蔬菜、配料、面条等卡通图形商标,还有“吴亦凡”“kris WU”“不凡之战”等已经进行了全类别保护的商标都被盯上了。


吴亦凡这不是被刑拘了吗,并且旗下关联公司包括北京凡世文化传媒有限公司、上海凡世文化传媒工作室等,均已进行注销备案、清算。
如果吴亦凡未来会在牢里度过很长的一段时间,那么他旗下的商标会因为被刑拘一事而被撤销,然后给其他商家使用?
只要满足了“没有正当理由”且“连续三年不使用”这两个条件,个人或企业出于保护(非使用)目的而注册的防御商标,以及被核准注册达三年以上又从未实际使用过的闲置商标,将面临着被他人提出撤三申请的风险。
也就是说,若吴亦凡申请的商标都处于使用状态的话,起码要到2024年才能撤销他的商标。如果吴亦凡2015年申请下来的商标没有被使用的话,那么现在就可以撤销了。
这应该是意料中的事情吧,虽然吴亦凡的明星光环没有了,但他的商标仍有商业价值,因此才会被不少商家盯上,甚至在其被刑拘后还将关联名词抢注成商标,企图往后继续吃此事的“红利”。
无良商家们应该是忘记《市场监督管理严重违法失信名单管理办法》的颁布了:9月1日起,恶意商标注册申请损害社会公共利益的将列入严重违法失信名单!
在国家大力打击恶意注册商标行为的时候,却还有如此多企业和个体户铤而走险,哪里有流量就去哪里蹭。得,这些人就等着吧,早晚能等来官方下发的处罚通知书。





