

赵薇疑被全网封杀后,其名下商标何去何从?
发布时间:2021-08-30最近的瓜真不是一般的多啊,明明已经入秋了,却还跟在夏季一样,吃瓜吃得完全停不下来!
不过现在吃的瓜不一样了,原来吴亦凡事件曝光后,整个娱乐圈不仅有艺德问题,还有政治问题。
发现没有,最近落马的贪官特别多,都跟阿里巴巴有关系。本以为这只是官商“结党营私”的事儿,想不到牵扯出娱乐圈里的一位知名演员——赵薇。她应该是家喻户晓的大明星了,从《还珠格格》到《情深深雨濛濛》再到《画皮》,都是老少皆知的荧屏女演员。
但在上周8月26日晚,有网友发现腾讯视频下架了赵薇主演的《还珠格格1》、《还珠格格2》、《情深深雨濛濛》、《虎妈猫爸》、《京华烟云》,播放源已更换为其他平台。而在爱奇艺、优酷中搜索赵薇的名字,也显示无法查看。就连赵薇未参演、亲自导演的作品《致我们终将逝去的青春》这部电影也被下架。

赵薇的诸多作品纷纷被下架后,其超话也被封了。一夜之间这位知名演员竟然拥有了和其他劣迹艺人一样的待遇,让不知道具体情况的吃瓜群众们十分震惊。
好家伙,蜗牛纳拍腿直呼好家伙!
今年的娱乐圈简直大震荡啊,自吴亦凡和张哲瀚之后,赵薇可能是第三个即将全网“查无此人”的艺人了。而与赵薇同步被排查清理的还有郑爽、霍尊等劣迹艺人。
关于郑爽逃税漏税的结果也已经通报。上海市税务局第一稽查局查明,郑爽于2019年主演的电视剧《倩女幽魂》片酬为1.6亿元,偷税4302.7万元。将被罚款2.99亿元人民币,前夫张恒涉嫌帮郑爽偷逃税也被立案检查。

同时,郑爽参演的《古剑奇谭》《微微一笑很倾城》《一起来看流星雨》《夏至未至》等多部知名影视剧作品也遭遇全面下架。据悉,这次严查整顿或将进一步追溯至更多被定义为“劣迹艺人”的群体。
虽然赵薇被封的事件比郑爽等人的还更让人吃惊,也很突然,但实际上早在今年4月起,赵薇名下的多家企业的股权就已陆续被冻结,总数额达到1862.6万人民币。曾有女版巴菲特之称的赵薇在资本市场上一直游刃有余,但自从2016年试图用空壳公司收购上市公司股份而遭到证监会处置之后,赵薇的商业动作就风波不断。
除此之外,赵薇在政治上也曾多次发生过危机事件,比如早期披着日本法西斯军旗出镜,2016年其执导电影《没有别的爱》男主角戴立忍被指曾参与台独相关活动,赵薇公开为其站队等行为,均可能与这次遭到处置有关。
从一些媒体整理的资料来看,赵薇这次可能真的无法像以前那样,轻而易举利用资本把话题压下去,然后翻身继续捞金。
事发后,赵薇怎么样了呢?
据坊间传出的消息,称赵薇已经连夜跑路,包专机前往法国,有人在波尔多看到了赵薇现身机场。但该网友没有自证身份,不知道消息真假程度。不过赵薇此前曾受邀担任中法文化之春宣传大使,从这小消息来看,赵薇出事后前往法国,应该是不错的选择,消息还是有一定的可靠性。
蜗牛纳倒挺好奇的,赵薇和其家人、合作伙伴申请注册的商标是否也会受到影响呢?
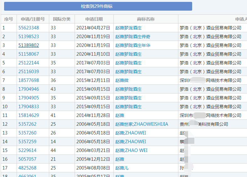
蜗牛纳通过国家知识产权局商标局官网,搜索“赵薇”,目前有29个相关商标注册的申请记录。

其中,申请注册了“赵薇梦泷酒庄”“赵薇梦泷酒庄传奇”“梦泷酒庄年华”等商标的梦洛(北京)酒业贸易有限公司(以下简称梦洛酒业),大股东是以赵薇母亲名义成立的北京普林赛斯文化传播有限责任公司(以下简称普林赛斯公司),二股东则是赵薇的哥哥,可以说这两家公司都是赵薇所拥有的公司。
据企查查显示,梦洛酒业总共申请注册了54件商标,其中有38个为已注册状态,包括其主品牌“梦陇酒庄 CHATEAU MONLOT ”“梦陇 MONLOT ”“赵薇梦陇酒庄”等。

但在商标圈中,梦陇酒庄当前的商标在数量、注册类别上并不算多,而且赵薇他们还忽视了近似商标的防御注册。
不过在赵薇事件发生后,与梦泷酒庄相关的已注册商标,可能会被酒企盯上,毕竟这是赵薇在法国的酒庄,而具有名人效应的商标价值上千万。
但商标注册以后,注册人是享有商标权的,任何组合或个人不得侵犯他人的商标权,即便是对方没有在正常使用也不能贸然侵犯。在司法实践中,如果他人已经注册商标,而他人在未经许可的情况下使用在同一种商品或服务上注册商标相同或者近似的商标,且满足盈利5万元以上,一般情况下会被判定为假冒商标注册。
可是赵薇被封后,她的团队、合作伙伴都自顾不暇,公司应该是没什么人能管,那么她的所有商标可能会有很长一段时间都无法正常使用。
怎么办,想要商标又不愿意花钱购买对方转让的商标,更不想因此间接给劣迹艺人“雪中送炭”的话,可以在使用前提交三年不使用撤销该商标,即商标撤三。
我国《商标法》明确规定,注册商标连续三年停止使用的,由商标局撤销其注册商标。
《商标法实施条例》规定:“有商标法第四十四条第(四)项行为的,任何人可以向商标局申请撤销该注册商标,并说明有关情况。商标局应当通知商标注册人,限其自收到通知之日起2个月内提交该商标在撤销申请提出前使用的证据材料或者说明不使用的正当理由;期满不提供使用的证据材料或者证据材料无效并没有正当理由的,由商标局撤销其注册商标。”
所以在商标相关业务中,对于已经注册满三年不使用的商标是可以提交撤销申请的,而且此申请任何人都可以提出。对方在收到商标局的撤销通知以后必须在规定时间内提交商标使用证据,否则商标将被撤销,此时再注册该商标即可保证不侵权的情况下有标可用。
但是呢,商标撤三中的“三年”,是指自撤销三年不使用申请人递交撤三申请之日,向前追溯3年。
并且撤三商标需满足以下条件:
1、一枚注册商标,只有注册时间超过3年之后,才可以对其提出撤三。需要特别说明的是,如果一枚注册商标,取得注册之前曾经遇到过异议或异议复审,可以对其提出撤三的“满三年”应当自异议裁定或异议复审裁定生效之日起计算。
2、“撤销三年不使用”申请,既可以针对这枚注册商标的全部的核定使用商品,也可以针对这枚商标的一项或者其中几项核定使用商品。如果“撤销三年不使用”是针对注册商标的其中一项或者几个项目,那么注册人所举实际使用证据,必须针对该项或该几项商品,就其他商品项目的举证是无效的。
如果不满三年应该如何操作呢?可以考虑提出无效宣告,只不过这个前置条件比较苛刻:
已经注册的商标,违反本法第十条、第十一条、第十二条规定的,或者是以欺骗手段或者其他不正当手段取得注册的,由商标局宣告该注册商标无效。其他单位或者个人,可以请求商标评审委员会宣告该注册商标无效。
其中第十条、第十一条、第十二条的内容就不一一列举主要说的是:不能以国徽、国旗、单纯用地域名词、名胜古迹、名人名字、驰名商标等注册商标。
欺骗手段或其他不正当的手段包括但不限于以下情况:欺骗手段,是指申请人采取虚构、隐瞒事实真相,或者伪造申请书及有关文件的方式,取得商标注册。所谓以其他不正当手段,是指申请人采取欺骗方式以外的其他不正当方法,如通过给经办人好处等方式,取得商标注册。
由于无效宣告认定的条件较为苛刻,蜗牛纳建议企业找一个专业的商标代理机构协助申请。虽说自己也可以申请,但成功率不太高。
再回来说说此次赵薇被有关部门整治的事件,这意味着娱乐行业正在迎来监管空前严格的时代。在未来几年,整套运作成熟的选秀造星逻辑、流量榜单逻辑等,或许都会面临重大变革。





