

李宇春申请注册“周末愉快”商标,会因缺乏显著性遭驳回吗?
发布时间:2021-09-07如今,商标注册的步伐已经不只是在商业领域了,文娱领域中有很多艺人明星,也在以公司的名义注册与自己相关的商标。通过分类的不同,我们可以知道这件商标真实使用的位置。
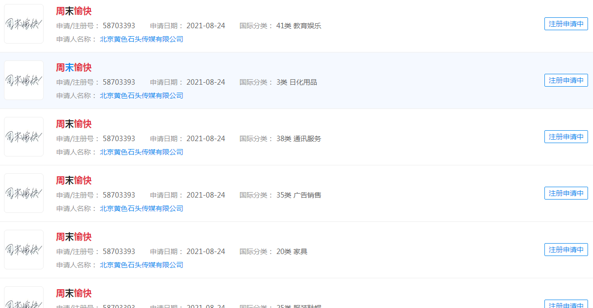
近日,北京黄色石头传媒有限公司申请注册了8件“周末愉快”商标,商标国际分类涉皮革皮具、服装鞋帽、通讯服务、广告销售等。

据企查查显示,李宇春是该公司的大股东,持股比例66.6667% 。所以该公司在注册新商标的时候,多少都是先将李宇春放在主要位置进行保护。而类别的选择似乎也与自身所从事的有所出入,不过也有可能是扩展新的业务也未可知。
至于李宇春申请注册“周末愉快”商标的原因,可能跟她在微博上建立#周末愉快#的话题有关系。

李宇春的部分粉丝在得知其公司将“周末愉快”申请注册为商标后,都非常兴奋,并表示期待云朵T恤。

那还真可能是要出衣服了,或者其他周边产品。
当然,也可能是为演唱会做准备。
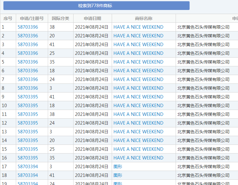
由此可见李宇春和其团队有极强的商标保护意识,截至目前,公司已经申请注册了778件商标,都和李宇春本人有关。

那么“周末愉快”商标能注册成功吗?
看看别人注册的情况不就知道了。
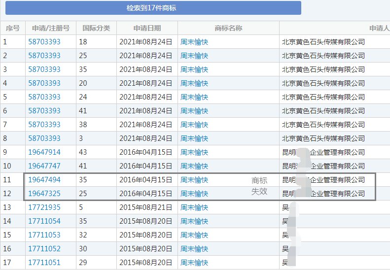
通过商标局网站搜索,截至目前共有17件相关商标,除去李宇春公司的8件之外,剩下7件处于已注册状态,另2件则是商标无效状态。这些商标都是在2015年到2016年间申请的。

这说明“周末愉快”是很有可能会注册成功的,只不过到了2021年,商评委的想法也许已经有所改变,说不定会认为该商标没有显著性。
通常判断显著性的关键取决于标志本身与指定使用商品/服务之间的关联程度,关联程度越高,显著性越弱;关联程度越低,则显著性越强。
尽管在法理上,我们认为在商标授权阶段中对标志显著性的强弱没什么要求,只要求显著性的有无,即只要标志达到最低限度的显著性便可申请注册。但实践中,从商标局长期以来的审查结果来看,最低限度的显著性是非常抽象也非常主观的概念。
话虽如此,但这并不是说没显著性就不允许注册了,否则也不会有其他“周末愉快”商标注册成功的例子。
其实商标的显著性并非天然存在,有些商标的显著性是可以在其使用中获得,且他人提出的无效宣告请求也会被驳回。
虽然我国《商标法》第十一条第一款第二项明确规定,仅仅直接表示商品的质量、主要原料、功能、用途、重量、数量及其他特点的标志不得作为商标注册。但第十一条第二款规定,前款所列标志经过使用取得显著特征,并便于识别的,可以作为商标注册。
也就是说,在判断标志是否通过使用获得显著性时,可以结合以下因素进行考量:
1、该标志实际使用的方式、效果、作用,即是否以商标的方式进行使用;
2、该标志实际持续使用的时间、地域、范围、销售规模等经营情况;
3、该标志在相关公众中的知晓程度;
4、该标志通过使用具有显著性的其他因素。
不过一般企业注册此类商标还是有一定风险的,为了让自己的标志具有显著性,会计划先打出知名度后再申请注册。但是这样一来,等标志小有名气的时候,可能会被他人山寨,导致商标还未注册成功便已失去市场。
当然,缺乏固有显著性的标志,若是已通过使用在特定商品或服务上达到了必要的知名程度,足以使相关公众将其作为商标标识进行识别,便可以认定该标志在这一商品或服务上通过使用获得了显著性,即可以作为商标予以注册。
总之,想让自己的商标具备显著性,那么就需要商标注册申请人做到以下三点:
一是商标标识要具有可识别性。如果相关公众不能将某一标识识别出来,作为商标就不可能发挥识别商品来源的作用,因此,有一些被驳回的商标还是可以通过使用获得显著性的,但是选择标识时应注意克服标识本身天生的缺陷。
二是商标标识要具有独创性。需要强调的是这里“商标的独创性”是指商标标识本身具有的显著性,有显著性的商标不一定完全是自己首创的,独创性体现在首次将这种标识应用到识别自己的商品或服务。所以对于文字商标,臆造词往往比现有常见词汇更具独创性。
三是商标标识要和具体指定使用的商品及服务相结合。通常认为,当标识表示的含义与商品属性关联性最弱时,商标的显著性最强,反之则显著性最弱。
不管怎样,蜗牛纳都建议先咨询专业的商标代理,让其评估商标驳回风险,这样可以在风险较高的情况下,及时对商标名称进行修改或调整。此举不仅能提高商标注册成功率,还能避免因商标驳回造成时间与金钱的双重损失。
如果未注册的商标被驳回了,但它已经使用了很久,并且也很难更换标识,又该怎么办呢?
可以委托商标代理人申请驳回复审,同时收集在市场上获得显著性的证据,这样能极大的保护自家苦心经营并已经获得了一定无形价值的知识产权财富。
毕竟在企业的发展道路上,商标一直都是相伴而行的,因为在发展的同时总要让人们对自家标志有较深的印象,而商标的显著性则是让企业在市场中能够屹立的主要原因之一。
最后,您觉得李宇春能否成功注册“周末愉快”商标吗?





