

汪小菲官宣离婚前曾注册多个大S相关商标,离婚后商标权应归谁?
发布时间:2021-11-23这对夫妻,到底还是分开了。
从今年6月份开始,大S单方面宣布离婚,到汪小菲V博表态,后又传出汪小菲改名删动态,外界一直关注汪小菲大S的婚姻状态,没想到过了5个月他们还是走到了离婚这一步。

11月22日,据台媒报道,艺人大S徐熙媛与丈夫汪小菲11年婚姻生变,本月初大S委托律师赖芳玉向台北地院诉请离婚,双方通过法官调解协商如何分配资产及子女监护等问题,对此,大S通过律师发表声明,表示两人已决定和平解除婚姻关系,未来将以朋友身份愉快相处。台湾媒体取得声明全文如下:
致各位关心汪小菲先生和徐熙媛女士的朋友们:
感谢各位朋友一直以来对汪小菲先生和徐熙媛女士的喜爱和支持。经过汪小菲先生和徐熙媛女士认真、慎重地考虑,两人已决定和平解除婚姻关系,并已于近日办理了相关手续。
汪小菲先生与徐熙媛女士有缘能够相识相知,共同度过了一段幸福美好的时光。即使现在选择分开,也非常感恩对方的付出。曾经,作为夫妻携手前行,未来,两人将以父母、朋友的身份愉快相处,也将继续共同抚养孩子并给予孩子全部的爱与陪伴。
希望媒体和大众能够尊重双方的选择,同时为避免对双方及其家人产生不必要的伤害,恳请各位能够给予双方更多的私人空间。

此消息一出,瞬间吸引了无数的吃瓜群众。
不少网友表示,两人11年婚姻走到尽头,算是意料之中吧。
正所谓:“解怨释结,更莫相憎。一别两宽,各生欢喜。”
尽管这对夫妻分开了,但……我们就祝福双方找到各自的幸福吧,没必要就两岸问题在网上争执不休。
不过想想也是挺唏嘘的,当初作为“宠妻狂魔”的汪小菲在与大S结婚后,还砸下3.5亿元,以妻子大S的名字在台北市开设的饭店S hotel。
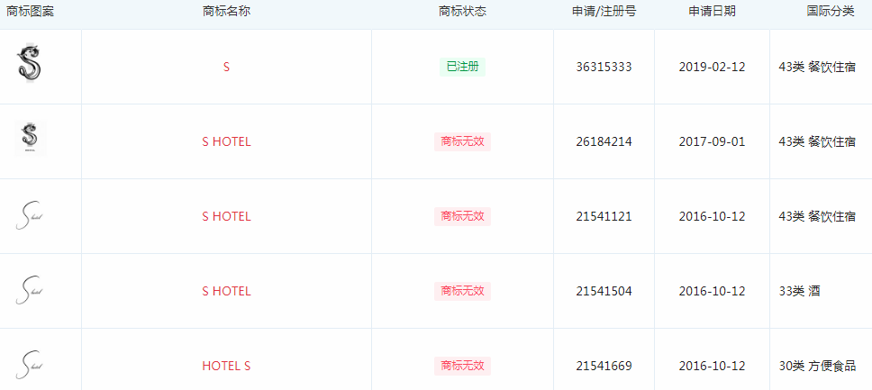
理所当然的,该饭店的名称也已经被申请注册为商标。
我们可以从企查查平台看到,北京合尊置业有限责任公司(以下简称北京合尊置业公司)在2016年注册申请“S HOTEL”“HOTEL S”等商标,国际分类为第43类-餐饮住宿、第33类-酒等。

为什么会处于无效状态了呢?
蜗牛纳看了一下第26184214号“S HOTEL及图”商标,该商标与其他商标在在文字构成、呼叫等方面相近,且含义极具关联,已构成近似商标。而该公司提交的在案证据不足以证明申请商标经过使用已与其形成一一对应关系,并能使相关公众将其与商标相区分。
因此,商评委才决定将该商标在复审服务上的注册申请予以驳回。
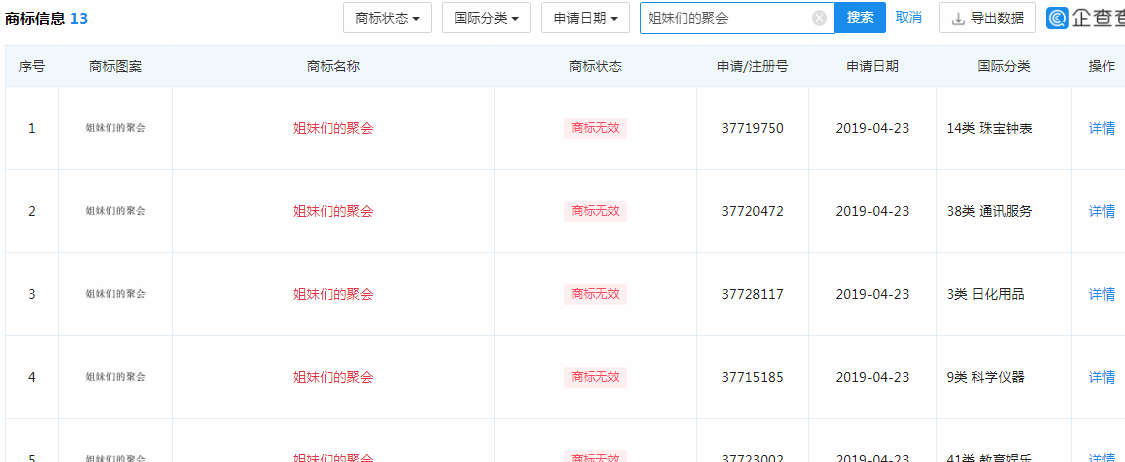
值得注意的是,北京合尊置业公司还注册了大量的“姐妹们的聚会”商标。据悉,《姐妹们的聚会》是一首范晓萱、小S、大S、阿雅演唱的歌曲。

那么汪小菲当初有没有申请注册过其他与大S有关的商标呢?
必须得有呀!
据了解,汪小菲持股92%的合润麟(北京)食品有限公司,旗下茶饮品牌不仅曾宣布大S为代言人,还曾申请注册“S茶”“茶 S”商标,国际分类为啤酒饮料、方便食品。

但上述提到的这些商标,也均已处于无效状态。
至于驳回原因,可能是缺乏显著性,或是构成近似商标,总不至于是含有不良社会影响吧?
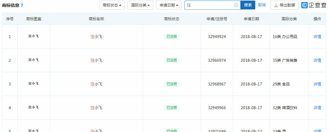
有意思的是,汪小菲的谐音商标倒是全部注册成功了,据企查查平台显示,北京合尊置业公司申请注册了7件“汪小飞”商标,相关国际分类涉及办公用品、广告销售、食品、啤酒饮料、餐饮住宿、方便食品等。

不过与大S相关的商标并不是一件都没注册成功,北京合尊置业公司在餐饮住宿、酒、方便食品的国际分类上还申请了3件“徐徐酒店”商标,仅一件被驳回。

当然,在上述的商标中,可能有部分会在将来迎来“新生”也说不定。
因为目前已有台媒爆料称,汪小菲以大S名字开设的饭店“S Hotel”或将改名为菲行商旅。
蜗牛纳通过商标搜索,并未发现有“菲行商旅”商标的注册信息,这意味着汪小菲还有机会能够以公司名义进行申请。
11年婚姻说散就散,虽然他们并不需要头疼上述商标权的归属,但双方仍有一笔不小的经济账需要算。
根据台湾媒体报道,汪小菲和大S将针对大S名下6亿余元(新台币)豪宅,及汪小菲“S hotel”3.5亿(新台币)资产等,加上其余资产,保守估计将对约10亿(新台币)的财产进行分配。
目前双方针对财产分配及子女日后相处模式等进行调解,在法官主持下已有共识,也许过不了多久,他们就会对外宣布离婚调解结果。
不管结果如何,这必定是在双方心态平和的情况下谈好的,没有上演太多的你争我夺戏码。那么如果始终谈不拢呢,婚后财产还怎么分?
离婚分财产的事儿,蜗牛纳也说不清,这里面的门门道道太多了,还是交给专业的离婚律师分析吧。反倒是商标权的归属,我们可以简单说一说。
随着社会生产力水平的提高,知识产权进入家庭,作为无形资产在家庭财产形态上所占位置也越来越重要,有关知识产权的争议也越来越多。通常来说,在遇到离婚后商标权归谁如何确定的问题时,会让双方自由协商。
如果双方是以公司为商标注册人,就不存在夫妻共有的问题,该商标所有权应归公司所有,只是在分割夫妻财产时,其中一方想继续拥有公司产权,需就此商标的经济利益给予对方适当的补偿。
如果有一方要求法院判决其继续享有该商标的使用许可,而另一方不同意使用,那就有得扯了,特别是双方对该商标的形成及驰名均做出过贡献的。
那么面对这种情况,法院能否以判决的形式许可其使用呢?
我们都知道,商标权的内容包括使用权和禁止权两个方面,使用权即是商标权人可以在其注册商标所核定的商品上独自使用该商标,并取得经济利益,也可根据自己的意愿,将注册商标转让给他人或许可他人使用。
事实上,许可他人使用是商标使用权的一个方面,既然是使用权,法院就可以根据民法的相关理论判决给一方使用。
这里再科普一下商标的使用许可形式,它主要有两种:一种是独占使用许可,另一种是普通使用许可。
对于独占使用许可,它具有独占性和排他性,在合同约定的范围内,许可人不能再允许第三人使用其注册商标,许可人自己也不能使用。如果夫妻双方离婚后均享有商标专用权,一方许可他人独占使用,则意味着另一方不能在同一范围内使用注册商标,更不用说许可他人使用。
因此在实践中,最好以工商部门登记的商标注册人为商标的所有人,以避免法律上的冲突。对于以个体工商户名义注册的商标可归继续经营的一方,由于知名商标所带来的利润是巨大的,对另一方可给予较大比例的补偿或对注册商标无形资产进行评估,以确定补偿数额。





