

刚进入初审公告阶段的Omicron商标,会因撞名奥密克戎毒株被提出异议吗?
发布时间:2021-12-01今天12月1日是世界艾滋病日,是世界卫生组织(WHO)为了提高人们对艾滋病的认识,号召世界各国和国际组织在这一天举办相关活动,宣传和普及预防艾滋病的知识。
蜗牛纳本来打算出一篇与艾滋病有关的知识产权内容,顺便科普这个疾病的预防和治疗。但从昨天下午开始,群里的一些人就总是艾特蜗牛纳,他们很慌张的表示,一些媒体发文说在南非新发现的变异毒株和艾滋病有关。
艾滋病还跟新变异毒株扯上关系了?蜗牛纳一看就觉得这可能是个别媒体的胡编乱造。
然后蜗牛纳上网搜了一下才知道,这次还真不是那些媒体瞎编,人家只是照搬了外国一位教授的分析。
是什么分析呢?在此之前,我们先了解一下新的变异毒株是什么。
2021年11月9日,南非首次从病例样本中检测到一种新冠病毒B.1.1.529变异株。短短2周时间,该变异株即成为南非豪登省新冠感染病例的绝对优势变异株,增长迅猛。11月26日,世卫组织将其定义为第五种“关切变异株”(variant of concern, VOC),取名希腊字母 O(Omicron, 音“奥密克戎”)变异株。

当地时间11月30日,世卫组织发布新冠肺炎每周流行病学报告。报告指出,当前全球主要流行毒株为新冠变异病毒德尔塔毒株,其他新冠变异病毒的流行率持续下降。在过去六十天搜集的839119份病毒基因序列样本中,99.8%的样本为德尔塔毒株,奥密克戎毒株占比不到0.1%,仅有159份。
世卫组织表示,目前仅在数量有限的国家发现了奥密克戎毒株,大多数病例与旅行有关。根据世卫组织统计信息,已有19个国家和地区出现奥密克戎毒株。
而在11月29日晚,澎湃新闻从南开大学黄森忠团队获悉,该团队通过大数据建模分析发现,奥密克戎的传染力比新冠变异株德尔塔的传染力增加了37.5%左右。

好家伙,新冠疫情不仅没有结束,反而还变本加厉了?!
而奥密克戎变异毒株之所以具有远比德尔塔变异毒株更强的“杀伤力”,是因为英国伦敦大学学院生物学教授弗朗索瓦·巴卢分析称,奥密克戎变异毒株携带着一系列不寻常的突变,有可能是在某个免疫力低下病例的慢性感染期间发生的变异,也有可能来自某个未经治疗的艾滋病患者。
也难怪好多人误以为奥密克戎变异毒株是由艾滋病患者体内进化而来。但关于这个说法,暂时只是生物学教授弗朗索瓦·巴卢的个人分析,并没有得到验证,同时也没有任何实验数据能证明。
并且在11月29日晚,国家卫健委官方微信公号发布的关于奥密克戎的解答中提到,奥密克戎变异株同时具有前4个VOC变异株Alpha(阿尔法)、Beta(贝塔)、Gamma(伽玛)和Delta(德尔塔)刺突蛋白的重要氨基酸突变位点,包括增强细胞受体亲和力和病毒复制能力的突变位点。流行病学和实验室监测数据显示南非感染奥密克戎变异株病例数激增以及部分取代Delta变异株,传染力有待进一步监测研究。
甚至在世卫组织那边也是持谨慎态度,目前对这一新型变异毒株还所知甚少,评估它是否更具有传染力或对疫苗更具有抗药性,仍需要更多实验数据。
现在,中国疾控中心病毒病所已经针对奥密克戎变异株建立了特异性核酸检测方法,并持续针对可能的输入病例开展病毒基因组监测,而这将有利于及时发现可能输入我国的奥密克戎变异株。
此外,香港大学微生物学系已于11月30日宣布成功从临床标本中分离出新冠变异病毒奥密克戎毒株。这是亚洲首个研究团队成功分离和培养奥密克戎毒株,分离出来的毒株将可用于开发和生产灭活全病毒疫苗。
就还挺突然的,蜗牛纳一时之间不知应该先吐槽冠状病毒有意识地升级“装备”并让外国教授认为与艾滋病有关,还是应该先吐槽世卫组织又给新变异毒株起了个好听的名字?
就在大家关注奥密克戎变异毒株传播动向的时候,国家知识产权局官网于11月27日公布的最新一期商标公告让我们商标代理人又有吐槽的冲动了、
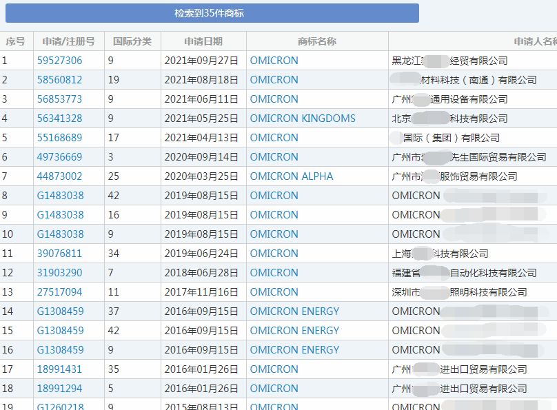
原来,有一件国际分类为第19类的“Omicron”商标从8月18日申请,在等了整整100天,恰好在发现奥密克戎毒株的当下进入初审公告阶段。

此外,蜗牛纳通过商标检索发现,目前已有不少人申请注册过英文“Omicron”以及中文“奥密克戎”相关商标。

尤其是5件中文“奥密克戎”商标目前皆处于成功注册状态,核准使用在第7、11、24、25、35类上。

蜗牛纳还注意到,目前有三家公司的名称中含有“奥密克戎”。

可以肯定的是,不论是商标还是公司,其申请、成立的时间均早于奥密克戎变异毒株的发现。
已经注册下来的便罢了,与新变异毒株的名称一样纯属巧合而已,他们可以继续使用,完全没必要改名。
不过,那件在奥密克戎变异毒株被发现之时进入初审公告的第58560812号“Omicron”商标,其申请人可能是最担心也最想吐槽的那个。没准人家还觉得世卫组织怎么这么喜欢用希腊字母给变异毒株命名,这下好了,自己申请的商标与新的变异毒株撞名了,也不知道后续会不会被提出异议。
因为按照《商标法》相关规定,对初步审定公告的商标,自公告之日起异议期为三个月,公告期满无异议的,予以核准注册,发给商标注册证。
要知道,这种“新型冠状病毒”和“非典”相同,是众所周知的肺炎俗称,进入了一个“公有领域”。那么在《商标法》中,可能会因为“缺乏显著特征”而不能作为商标的范围,也可能会因“夸大产品作用”“有不良影响”而被驳回。
刚进入初审公告的,可能会有人以此为由提出异议。
话虽如此,但商标的可注册性审查判断,绝大多数情况下都是以商标提出注册申请的时间点来审查。例如是否构成抢注,是否侵犯他人在先权利,是否复制、摹仿、翻译他人在先驰名商标等等,都是以申请日期为界限,判断在先权利是否成立,以及商标申请注册行为是否违法。
按此标准,新变异毒株被命名前的“Omicron”二字本身并无不良影响,或者不存在其他损害他人在先权利或公共利益的情况,所以这类商标的申请注册行为并不违法。
曾经没有不良影响的商标在注册后,不能还根据社会客观情况及相关公众的认知发生变化就变成违法商标吧?毕竟在多年前,也没有人会将含义积极的“新冠”与“新型冠状病毒”联系起来。
当然,企业或个体户想在这之后蹭奥密克戎变异毒株热度,并申请相关商标,用脚趾头想想也知道,100%会被驳回!
蜗牛纳在这里建议商标代理不要铤而走险,否则国知局接下来会再次发布关于严厉打击与疫情相关非正常商标申请代理行为的通知。如果有人非常希望自己和代理机构上“黑名单”,那就当蜗牛纳没说吧。
总之,与疫情相关的商标不能随意申请,而面对奥密克戎变异毒株,我们也不能自乱阵脚,当然更不能麻痹大意。在做好外防输入时,“内防反弹”同样丝毫不能松懈,我们所有人都绷紧防疫弦,坚持做好个人防护:
(1)戴口罩仍然是阻断病毒传播的有效方式,对于奥密克戎变异株同样适用。即使已经完成全程疫苗接种和接种加强针的情况下,也同样需要在室内公共场所、公共交通工具等场所佩戴口罩。此外,还要勤洗手和做好室内通风。
(2)做好个人健康监测。在有疑似新冠肺炎症状,例如发热、咳嗽、呼吸短促等症状出现时,及时监测体温,主动就诊。
(3)减少非必要出入境。短短数天时间,多个国家和地区陆续报告奥密克戎变异株输入,我国也面临该变异株输入的风险,并且目前全球对该变异株的认识仍有限。因此,应尽量减少前往高风险地区,并加强旅行途中的个人防护,降低感染奥密克戎变异株的机会。

那么新冠病毒新的变异毒株奥密克戎是否会影响北京冬奥会的筹办工作呢?
对此,外交部发言人赵立坚表示,中方有应对新冠病毒的防控经验,相信冬奥会会如期顺利成功举行。
简而言之,戴口罩、保持社交距离等公共卫生措施对所有变异毒株都是有效的。咱们群众能做的就是做好个人防护,不给国家添乱。
虽有乌云遇皎月,但坚持下去,总会守得云开见月明。希望历此坎坷,山河皆可恙,人间皆可安!





