

被粉丝喊话出来营业的周深,其“少管我”商标申请全部“阵亡”!
发布时间:2021-12-03最近,有个叫《时光音乐会》的综艺节目首播就迎来开门红,不仅收视三网第一,冠绝全网,还被人民日报、新周刊、光明日报等多家官媒点赞,获豆瓣8.1高分评价。

这个节目到底有何特别之处,竟获得如此好评?
看看常驻嘉宾的阵容,好家伙,都是牛人呀!
有德高望重的谭咏麟校长、有情歌王子之称的林志炫、有天后唱将的许茹芸、也有从《快乐男生》《超级女生》选秀节目出道的杰出代表张杰、郁可唯,还有火了很多年的“接地气”组合凤凰传奇。
这些歌手们只是围坐在一起谈音乐,就让人从那安静美好的氛围中放松下来,忘记工作、学习带给自己的疲劳。
如今节目播到第六期,每一期的收视率都很能打,热度一直居高不下。甚至在此前不仅上过几次热搜,还曾引发过全网热议。
蜗牛纳当时就不明白了,这么佛系的节目有什么梗能让网友们讨论呢?
莫非是因为湖南卫视没有申请相关的商标注册吗?
通过企查查搜索,有三家公司申请注册“时光音乐会”商标,国际分类有9类-科学仪器、43类-餐饮住宿、5类-医疗。目前最早在2015年3月27日的商标已注册成功,其他商标还在等待受理,暂时无法查询详细信息。

不过湖南卫视也并非全无动静,他们已于今年10月8日,在第41类的教育娱乐上申请了“湖南卫视时光音乐会”商标,目前处于注册申请中的状态。

所以网友们是在提议让湖南卫视多进行相关的商标注册,以防他人抢注?
细看评论区,原来大家都在热议飞行嘉宾。结果节目组那边还没有官宣呢,就已经有不少网友表示,希望自己喜欢的歌手能够参加,而这其中以周深的呼声最高、最热烈,其粉丝都喊话让他出来营业。
想了想周深代表作,带有他个人特色的音乐时光想必更吸引人吧。
不过对于蜗牛纳来说,周深那句发自灵魂深处的呐喊更吸引人,比如:“少管我!”

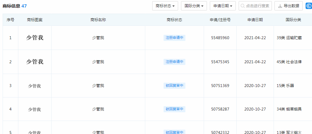
说起来,周深在2020年10月27日,以公司名义将这句话申请注册为商标。其中国际分类包含41类教育娱乐、29类食品、2类颜料油漆、30类方便食品等,商标数量共45个。不过,当时这些商标状态均为注册申请中。
后来怎么样了呢?蜗牛纳去查了一下,发现“少管我”商标全部被驳回复审了!

那么新增的商标能够被注册成功吗?
这就得去国家知识产权局商标局检索一下看看了,这一看也挺让人吃惊的,在今年新增的那2件商标处于驳回复审中的状态……
怎么回事,高达100%的驳回率,所有商标竟无一“存活”?!
至于驳回原因是什么,需要从驳回复审决定书中找找。

总共43份“少管我”商标驳回复审决定书的公布,咱们也不用挨个点开看,只选其中几个决定书找找原因就行,大概率用的都是同一理由。
打开一看,果然如此呀,这些商标被驳回复审的理由全是因为缺乏显著性!
尽管上海劲焱文化传媒有限公司(以下简称申请人)在进行复审时给出的理由是,“少管我”商标为申请人独创,已被歌手周深赋予了独特内涵,二者已形成紧密的对应关系,使用在指定商品上具有显著性和可识别性,未违反《商标法》第十一条第一款第(三)项的规定。且与本案情形类似的商标已经存在,而申请商标经使用已具有较高知名度。
甚至申请人还提交了申请商标的宣传使用证据。
但国知局经复审认为,“少管我”是日常生活用语,以此作为商标指定使用在第18类毛皮等复审商品上,消费者一般不会将其作为商标识别。因此,申请商标缺乏商标应有的显著性,已构成《商标法》第十一条第一款第(三)项所指的标志。
当然,申请人提交的在案证据不足以证明申请商标经过使用已具有较高知名度,已经获得了显著性特征。
附个别决定书内容:

蜗牛纳后来把这事儿跟周深的一个粉丝说了,她就说如果文字商标注册是100%的失败率,那么申请为声音商标的话,会不会有50%的概率能成功呢?
这个嘛,真不好说。尽管李佳琦也曾申请过,但后来同样因为缺乏显著性而被驳回。
毕竟声音商标只有经过长时间的使用,才能取得显著性。虽然李佳琦的直播带货能力一直很强,具有一定的知名度,但是“Oh my god,买它买它”累积的使用时间还不够长。再者,此次申请的这个声音商标是第35类广告销售类别,通常用在替他人推销的商城或者商场上,而“Oh my god”翻译过来的意思就是“天啊”,这对于很多人来说仅仅是个口头禅,并且“买它买它”只是个指向性的语言,其显著性明显还不够。

也就是说,不是任何声音都可以注册为商标的,它需要满足一些条件:
一是必须严格按照法律规定。不能滥用商标法规定的禁用条款,比如军歌、国歌等;
二是声音要具有显著性和独特性。第一时间能够引发客户对商品或服务的联想,也就是人们通常所说的条件发射;
三是声音要有别于文字、图形等传统商标。只要不是地名或法律禁止的不文明用语等,未被其他人注册成的,都可被注册成商标的申请原则。
这么一看,声音商标必须得是已经为大众所熟知的,有特定的指向性的声音。
例如诺基亚预设铃声、苹果开机声、NBC三响音阶、米高梅公司的狮子吼等这些简单、易记又极具特点的声音,因为能够使其所代表的品牌在极短的时间内被消费者熟记并对消费者起到潜移默化的作用,从而成为让消费者第一时间锁定其代表的品牌标记。
还有QQ企鹅标志性的“嘀嘀嘀嘀嘀嘀”声,这件声音商标的注册过程相当曲折,即便是有人更有财的腾讯公司也是跟国知局较劲了快五年才拿到。
显然,只要符合普通商标的申请条件,同时拥有自己独特的声音资料,还具备显著性,就可以去申请声音商标了。





