

沉寂已久的张弓酒因广告词被记错上热搜,如今“东南西北中”商标已遭抢注!
发布时间:2021-12-09直到12月8日,蜗牛纳才通过韩国男团Super Junior成员神童(本名申东熙)的#一句广告词被记错了26年#热搜,得知我国居然还有其他白酒曾在海外火过。
神童那句引以为傲的中文“东西南北中,好酒在山东”被告知是他记错了,其实是“好酒在张弓”。

有意思的是,张弓酒并不在山东,而是在河南,所以这位韩国艺人实际上是河南酒的野生宣传大使。
有很多人都觉得南方的好酒比较多,其中还有的人以为北方人大多都是喝南方产的酒。其实并不是,北方产的酒也很多,只是没那么有名而已,一般就懂酒的人才知道北方也有很多地道的粮食酒。
在北方,有比较著名的白酒大省,同时也是好酒酿造的胜地——河南。“无鱼不成宴,无酒不成席”这句话便是河南人爱喝酒的真实写照,毕竟早在安阳殷墟发掘的甲骨片上,就发现了“鱼头酒”字样。不仅爱喝,而且会酿,鼎盛时期,河南白酒曾占据全国前四的份额。
但那到底是过去的辉煌了,如今河南传统且曾经在全国响当当的白酒品牌,已没多少年轻人了解过。但喜欢喝白酒的老一辈应该是知道“五朵金花”:赊店老酒、仰韶酒业、宋河酒业、五谷春酒业、洛阳杜康。而在以前其实是“六朵金花”,张弓酒就曾是“六朵金花”之一。
“东南西北中,好酒在张弓!”1994年著名相声艺术家马季通过央视为张弓酒宣传代言的广告词,曾响彻大江南北。可惜在后来的五朵金花评选中,昔日红极一时的张弓酒却被无情踢走。
这也就是为什么在神童那句被记错26年的广告词走红后,会有不少年轻人听说过却始终没见过实物,更没喝过的评论了。
谁让那个在中国白酒历史上开启了多个“先河”的张弓酒,因陷入了“内忧外患”的困境而将一副好牌打得稀烂呢?
据了解,张弓酒成立于1951年,在1973年研制出38°低度酒,率先推出了低度白酒,可以说是低度白酒鼻祖,就连茅台、五粮液、剑南春等知名酒企都曾到张弓酒厂拜师学艺。
尽管张弓酒在2011年被评为“中华老字号”,但由于张弓酒厂没有建立一套适应市场经济发展的体制,导致国有体制带给作坊式张弓酒厂的种种好处,在市场经济条件下变成了约束、困扰张弓酒厂发展的因素,而这就是张弓酒厂由兴旺走向衰败的真正原因。
值得一提的是,张弓的南北厂区分别是两家公司。老厂名叫“老南厂”,1988年新建的厂区叫“北厂”。两家公司同行8年,竞争得十分激烈。最后“张弓酒业”和“张弓老酒”之间的内讧,又成为了压垮张弓酒的最后一根稻草。
如今因为韩国艺人记错广告词上了热搜,也许能让日渐式微的张弓酒再出发,就看两家张弓酒各自的领导人能不能联手造势,如果错过这次机会,以后可能就很难在豫酒振兴的战略背景下重新“走四方”了。
蜗牛纳觉得,张弓酒倒不如赌一把,尽快启动广告词的商标注册行动。
要知道西凤酒连他们家那句比较中二的广告语都申请为商标了:“如果没有这只凤凰,龙的传人何等寂寞。”其中一件已进入初审公告阶段。

那么张弓酒在过去是否已将广告词“东南西北中,好酒在张弓”作为商标进行注册呢?
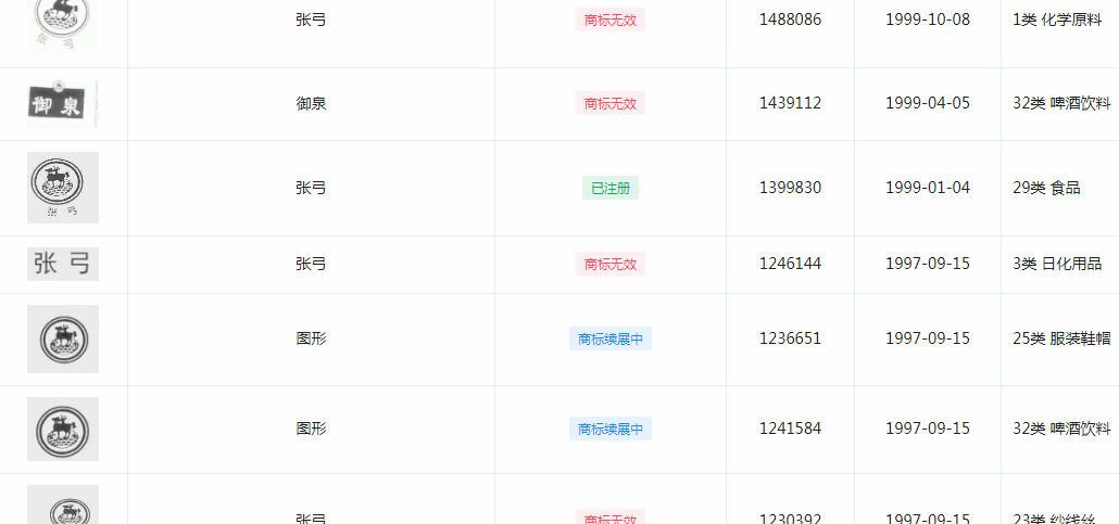
这一查就觉得可惜,别说那么长的广告词了,就是“张弓”“御泉”商标,以及相关图形商标,37件里仅1件处于已注册状态,2件正在商标续展中,其余均已无效!

是蜗牛纳打开的姿势不对吗?
噢,是的……
蜗牛纳才发现注册上述商标的河南张弓集团有限公司已吊销了营业执照,难怪蜗牛纳没看到最新的商标申请信息。

拍拍头,猛然想起来张弓酒因为内斗分了家,既然这家已经吊销,另一家应该是正常营业状态。
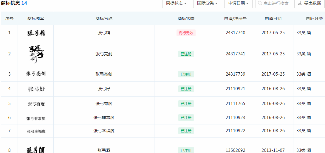
顺着线索查过去,好的,河南省张弓酒厂它还“活着”。再看商标信息,虽然只有14条,但好歹该有的都有了。

然而,不论是哪家公司,都没有将广告词申请为商标。
可能他们担心这种文字过长的句子会导致商标的显著性构成不足,导致被驳回;如果文字商标稍微复杂一些,即便其具备了足够的显著性,不会与其他的商标相混同,但却会因为消费者难于记忆而无法发挥指明商品来源的功能。除非长期消费,否则消费者难以对此类长名商标有清晰记忆。
当然,也可能是企业的领导人现在还没有能够让张弓酒重归市场的方案,或是想把资金用在最重要的地方,因此在这几年来一直没有再申请过商标。
蜗牛纳觉得,现在就是最好的时机。如果有商家因为那位韩国艺人记错的广告词走红,可能会将其当作流行语注册。
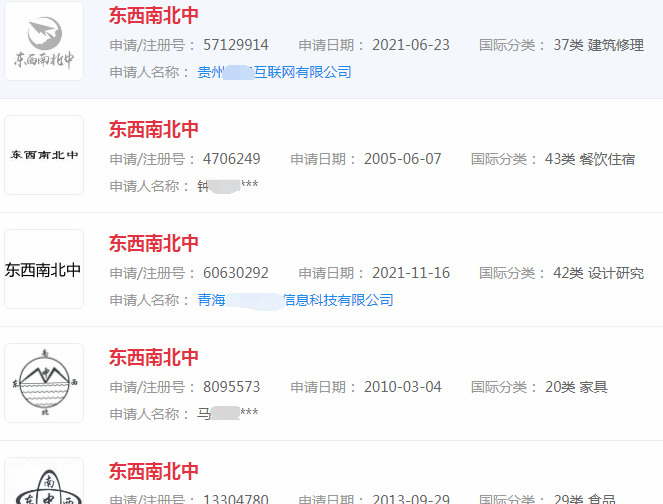
从目前来看,只有24条“东南西北中”商标申请记录。

说不定今天之后,会有不少商家一口气申请“东西南北中,好酒在XX”的商标,届时全国各地都有好酒,唯独张弓没有。
若是有酒企想提高这类商标的注册成功率,多半会在申请之前让专业的商标代理人来做参谋和评估,以免因为缺乏相关的商标知识,影响了自身品牌的发展。
要真遇到这么上进的酒企,张弓酒恐更难有出头之日了吧?
有品牌冒头,也有品牌掉马,起起落落的也不过是“物竞天择”的结果罢了。所以河南想要振兴张弓酒、杜康酒等豫酒品牌,就需要各企业共同努力,并做好相关的知识产权保护!





