00后大学生发明宿舍关灯神器,懒是发明创造的第一源泉!
发布时间:2020-10-29虽然还未立冬,但随着天气越来越冷,起床也越来越难了起来。作为起床困难户的蜗牛纳,每天早上起床的过程简直就是个煎熬,尽管知道早睡早起身体好,然而甭管睡得有多早,第二天醒来后总会想着能多懒一会儿是一会儿。
真不知道那些天天坚持早起的人是怎么舍得跟被窝说再见的……
当然,对于完全不留恋温暖的人来说,他们同样无法理解起床困难户一天两次的纠结。
没错就是一天两次的纠结,不光是早上,连带晚上都让人倍感寒冷。为了不在半夜起床上WC,怕冷的我们都不敢多喝一口水。
但有时候,没有上WC的需要却还是不得不离开被窝,比如躺着玩手机玩到想睡觉了,结果发现还要起来关灯。
	
若是在家里还好,只要将家居智能化就可以了,这让智能生活整体方案不再是天方夜谭。只要一个指令就能把卧室的灯关掉,当然,回家后开个门,屋里的灯能立马反应过来为户主照明,甚至空调也被开到适宜的温度,如有必要还可以帮忙烧开水;若回家比较晚,窗帘甚至会在太阳刚落山的时候自己拉上。
若是不在家里呢,该怎么解决晚上关灯的问题?
蜗牛纳觉得住在宿舍的学生最渴望解决这一问题,因为这样的烦恼在住校生中比较多,特别是上床下桌类的宿舍,大家都睡上铺,自然没人愿意离开温暖的被窝下床关灯。
用衣架子、扔东西、捅杆子、射BB弹等等,但凡能用上的工具都用了,可这比下床关灯还更麻烦,毕竟到了第二天也许要收拾用来关东的物品。
	
就不能有那种省时省力的关灯之法吗?
还别说,最近就读于浙大城市学院的一男生因为不想下床关灯,为不下床关灯而发明了宿舍关灯神器,以此实现自己躺在床上也能想关就关,想开就开的小梦想。
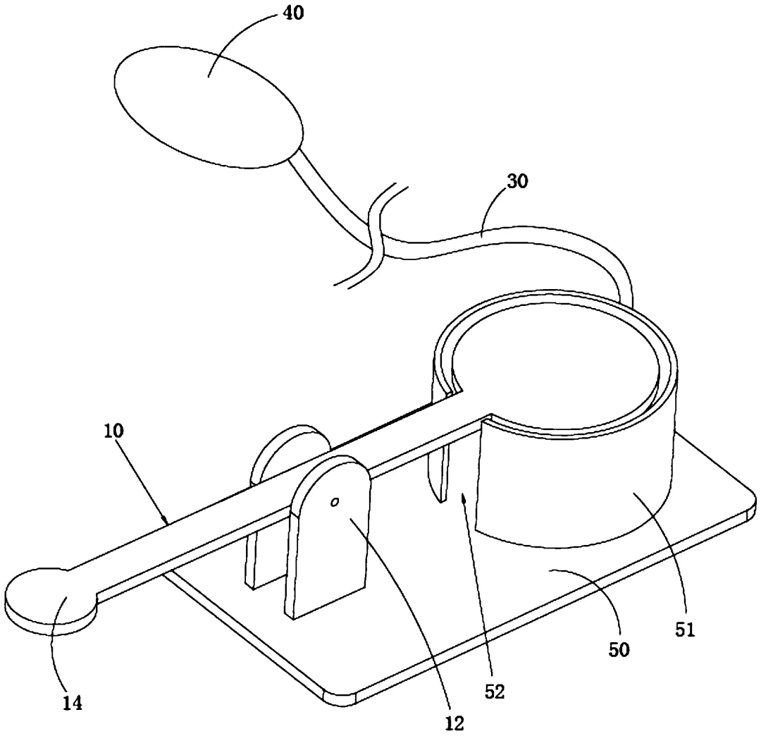
据发明者刘同学介绍,这款关灯神器的材料和工作原理非常简单,只需要利用杠杆原理和气压的推动作用,然后再将针管按下去,就可以达到关灯的目的。
更有意思的是,该设置不但能关灯,还可以将刚刚摁下去的活塞再拔回来开灯。
	
另外,由于该宿舍的成员都是懒人,所以宿舍里有不少可以解放双手的电器,比如扫地机器人、洗鞋机、折叠的小洗衣机等等,或许是因为这类“偷懒”的电器比较齐全,因此刘同学称他们宿舍是学校出了名的“懒人宿舍”。
如此贴心的设计,当然引来了众多网友的围观,不少人表示真的是太实用了,并建议全国宿舍推广。
	
这种发明,似乎在其他地方看到过。蜗牛纳搜索了一下资料,发现早就有人为此发明申请了专利。
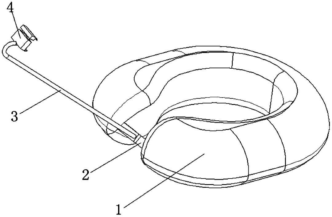
盐城工学院设计艺术学院产品设计专业2015级的耿娟同学,申请了一项针对宿舍环境的“一种开关延长控制器”的国家专利。该专利同样俗称“宿舍关灯神器”,其操作十分简单,只要使用者用手捏按压控制器,气流沿软管流动,气囊向上伸展,功能手板向下拨动,就能达到关灯效果。
	
据了解,这项专利受众群体主要为居住在宿舍、出租屋的人群,或床边没有安装双控开关的普通家庭。
除了关灯神器,另一高校男生还曾发明了自动关门宿舍神器。每当有人开门回来后,不用手动关门,挂着绳子的水瓶会依靠重力把门关上。后来,该寝室男生又推出了关门神器加强版。
	
上述的这些发明真是实现了全民“不用穿衣下床,躺着关门关灯”的梦想。正如网友们感慨的那样,懒果然是人类智慧进步的源动力呢。
除了关灯关门之外,为了偷懒而发明的人们又申请了哪些专利呢?
例如在蚊虫骚扰最多的夏天里,住校生们经常会用上的蚊帐。
市面上的蚊帐大多不方便携带而且使用起来异常繁琐,安装的时候需要一根根支撑条去装,费时费力,有时候学生自己一个人无法安装,且尺寸大小有局限性,白天不使用的时候也要一直撑在床上,使卧式压抑,也无法合理利用床上的空间做其余的事情。另外一般蚊帐的防蚊边在外侧,会跟不平整的被褥造成缝隙,使得蚊子有机会钻入蚊帐。为解决上述问题,有人发明了能够快速安装拆卸的折叠式蚊帐——“一种便携式懒人折叠蚊帐”。
	
该发明与现有技术相比的优点在于:结构简单,加工方便,防蚊效果好,随时可以使用,不用的时候随时可以折叠起来,不压抑不占空间,安装和收纳过程一个人即可操作,缓冲帽和收纳固定凹槽的设计能有效防止包边布被捅破,经久耐用,收纳后小巧方便,便于携带和邮寄。
护住了身体护不住脖子怎么办?因为长期低头使用手机的话会导致颈椎出现问题,从而影响身体健康。佩戴U形枕虽然能保护颈椎,但若不想一直拿着手机而使用手机支架的话,便会后靠椅子,看手机时只能低下头,也无法在靠着的同时解放双手观看手机。于是,“一种懒人U形枕式手机支架”就这样被发明出来了。
	
该发明的U形枕采用聚氨酯慢回弹海绵,可保证支撑头颈部的时候不变形;U形枕的开口内侧固定安装有手机支架底座,手机支架底座上固定安装有手机支架软管,手机支架软管为镁铝合金软管,可任意调节,能够可靠稳定地对手机起到支撑固定作用,确保使用者正常使用手机,同时避免使用者低头使用手机,有效避免使用者颈椎出现问题。
身体要每天都注意,袜子基本每天都要换。但现实生活中,人们总是有一大堆袜子,等大量袜子穿完了再一起洗,然而袜子堆积不宜人们的生活环境,必须要即换即洗,因此,急需“一种懒人手持洗袜装置”了。
	
该专利通过设置清洗筒、马达和控制面板,使懒人手持洗袜装置可以对袜子进行清洗,通过设置太阳能板和蓄电池,使懒人手持洗袜装置可以用太阳进行功能,使懒人手持洗袜装置更节能。
诸如此类的懒人发明真是数不胜数,但有的网友觉得很多发明是非常鸡肋的,并没有什么实质性的作用。
比如上方提到学生发明的那种宿舍关灯神器,部分网友认为若像这种小事情都要发明这种懒人发明的话,那么大家可能久而久之就再也不运动了,会变得越来越懒。
但这样想的网友显然没注意到,发明者是利用杠杆的原理做了一个关灯神器,这本身就是一个很有创新的想法了。虽说人家的发明实用性不大,但蜗牛纳认为对于这种敢想敢做的学生,还是应当多多鼓励一下,让他们将课本上的知识灵活运用到现实中,并爱上创造的过程。
再说“发明会让人越来越懒”的说法,蜗牛纳不知道有多少人看过《懒人的智慧》。
在这本书中,“懒惰”是指那些讨厌吃苦受累,懒于无效劳动,不愿因循守旧,但是却积极开动脑筋,不断创新,想出省时省力的懒办法的聪明“懒人”。
在这群“懒人”中,有的懒得扇扇子,发明了电风扇;有的懒得洗衣服,发明了洗衣机;有的懒得收割庄稼,发明了收割机;还有的懒得走路,发明了汽车、火车、飞机。后来又有“懒人”懒得出门买东西,有了网购的好点子……
种种看似会让我们人类变得更加好吃懒做的发明,其实是为了直接或者间接提高生产效率,达到“偷懒”效果罢了。
懒人是潜力无穷的,正因为懒,不想动,也不想浪费时间和生命,才会有这么多高科技的发明出现,从而推动了人类社会的进步。







