防新冠学习机获国家发明专利,帮助儿童养成卫生好习惯
发布时间:2021-03-05新型冠状肺炎病毒的爆发,到目前已经足足超过一年的时间了。这么长的时间,全世界各地人民在对抗这种新型病毒的同时,自己的学习、工作和生活也受到了极大影响。不过万幸的是,现在新冠肺炎疫情的状况与过去相比已有所好转,其新增病例数据有所下降,而治愈率也是日益见长,这无疑是特殊时期内最好的消息了。
有综合分析表明,今年流行病防控总体情况将保持稳定和好转,目前,国际流行病情正在稳步放缓,尤其我国如今没有连续确诊新病例、没有高中危险地区,常态化防控疫情,多地已逐步地恢复工作和正常生活。
截止目前为止,全球累计确诊新冠肺炎病例超1亿例,还有部分国家确诊病例数在增加。虽说我国疫情控制得较好,但疫情风险还存在,这意味着我们仍需戴上口罩并做好相关防护工作,不能因为本地没有新增病例而松懈下来。
越来越多的人怀念新冠肺炎疫情出现之前的生活,所以大家更迫切需要知道该病毒究竟需要多长时间才能全面消失?何时起才真正不需要口罩?
针对这一问题,世界卫生组织官员,以及钟南山院士、张伯礼院士、曾光教授曾分别给出过相关预判。
中国工程院院士、著名呼吸病学专家钟南山院士:“现在越来越多人认可疫苗是有效的,在积极增加疫苗和积极的管控下,估计在2021年3月份会开始有所缓解。”
中国工程院院士、中国医学科学院学部委员张伯礼院士:“现在国内已经连续多天没有新增本土病例,疫情防控整体形势比较乐观。特别是到了三月份春暖花开,疫情会进一步平缓。”
国家卫健委高级别专家组成员、中国疾控中心流行病学首席科学家曾光教授:“可能要到2023年,到那时新冠疫苗大规模普及接种,新冠病毒可能就成为类似于流感病毒,每年根据病毒变异情况、流行季节等做好防护和疫苗接种,到那时可能全球就基本有可能恢复到疫情前的一个生活状态。”
世界卫生组织欧洲区域办事处主任汉斯•克鲁格:“新冠大流行将于2022年年初结束。”
不过以上发言都只是一个预测,毕竟没有人能确切地说出情况会如何发展。所以在此期间,我们要做的就是用上预防病毒最有效的手段——出门必戴口罩!这种病毒来势凶猛,千万不要抱有侥幸心理,不然吃亏的肯定是自己。
当然,光戴口罩也不够,我们还要养成良好的卫生习惯。只是有的小孩若无大人看着的话,或许就随便洗洗。即便家长用心教了,但最后总会因为学习过程过于无趣而转移注意力到其他地方。
怎么办呢?大人不一定有时间盯着小朋友洗手全程呀。
那就让他们在玩乐中掌握正确的洗手方式吧,自己主动去学的效果可比被迫学要好得多了。
据惠州日报讯,惠州市南坛小学五年级学生杨梓悦考虑到了这一问题,因此发明了一种用于培养儿童讲究卫生生活习惯的智能装置——《防新冠·爱洗手》,以视频教学结合游戏操作的方式提升学习兴趣,这不仅能让小朋友学会正确的洗手方法,还能通过智能识别系统对比评分,从而养成良好的卫生习惯。
	
图源 惠州日报
这台《防新冠·爱洗手》的学习机有1米多高,洗手盆旁装有感应水龙头和洗手液,可以实现非接触式洗手;机器顶部装有紫外线消毒灯,可定期对洗手盆进行消毒处理;在洗手盆上的立柱装了一部平板电脑,这也是学习机最核心的部件。
只要使用者对着感应器挥手,平板电脑便会播放动画版的《七步洗手法》。据杨梓悦介绍,该系统共有3个曲目,小朋友可以根据自己的兴趣爱好自由观看。这样就能吸引小朋友在平时洗手时观看洗手视频或动画片,同步学习正确的洗手方法。除了提供洗手步骤动画,系统还可以自动抓取洗手动作,通过智能识别系统分析对比进行评分。
杨梓悦表示,该套学习设备主要通过视频进行科普教学,通过视频展示、音频指导、游戏评分等形式提升学习乐趣,促进儿童规范洗手,从而养成良好的卫生习惯。
据了解,杨梓悦设计开发的《防新冠·爱洗手》学习机项目先后在市区两级青少年科技创新大赛中取得一等奖;同年,其开发的儿童爱卫生生活习惯培养软件获得国家版权局计算机软件著作权登记证书;而后在今年1月,该发明又取得国家发明(实用新型)专利。
近期,杨梓悦的指导老师李伟正指导他设计加装自动喷雾消毒功能,用于丰富学习机的功能和科普内容,进一步提升作品的创新性、操作性、实用性、科普性,并准备参加省级比赛,为惠州争光。
有的人说,就算小朋友们都掌握了正确的洗手方式,也不代表他们外出回来后能自觉洗手呀。
确实如此,在疫情阶段,虽然社会及卫生部门已在大力推广勤洗手,但是由于目前市场上的洗手机出液效果单一,交互效果差,不便于引导和培养儿童养成良好的洗手习惯。
为解决这一问题,有人发明出了“带语音互动的童趣自动感应洗手机”。
	
有益效果是:通过感应控制模块自动控制泵液部件输送溶液至喷嘴外,供用户洗手,出泡沫效果好;通过设置的趣味模块与用户进行趣味交互,引导用户特别是儿童,并可培养儿童养成良好的洗手习惯。
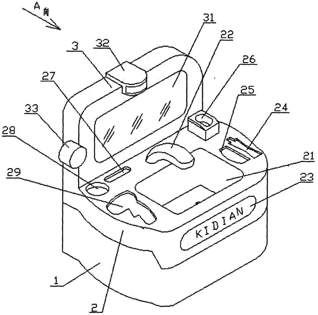
如果想再调动孩子活动的积极性,并增进对外界事物的感性认识,以此达到让他们积极进行思维、想象活动等目的,可能需要看看“一种培养定置管理卫生习惯的玩具洗漱台”的发明。
	
这个培养定置管理卫生习惯的玩具洗漱台包括:台座、出水装置、太体、镜架、电器控制系统;所述台座、出水装置、台体、镜架、电器控制系统各部按设计要求组装配合成所述培养定置管理卫生习惯的玩具洗漱台,水龙头设有红外感应装置,台体的台面上设有各种盥洗物品的存放位置,盥洗物品存放位置内还设有音响开关,并配有各种盥洗物品仿真玩具;该实用新型的有益效果是:在玩玩具的过程中,通过让儿童识记设在台体台面上盥洗物品的存放位置,增加儿童对所取用物品及其所在位置的注意力,使儿童在日常玩玩具的过程中,逐渐养成定置管理的卫生习惯。
当然,餐前洗手也很重要。因为有许多的疾病都是通过口腔进入人类的身体,不单是活泼好动的儿童,包括我们成年人的手上也存在着许多的对自己身体有害的细菌。而在我们用餐过程中,这些细菌会通过食物经过我们的口腔进入身体中,造成一定损害。
尽管许多人都知道餐前洗手可以大幅度降低有害细菌进入我们口腔造成得病的风险,可是现如今还是有许多成年人没有养成餐前洗手的好习惯,更何况是有样学样的小朋友们。
为此,有人发明出“一种具有餐前洗手提醒功能的导航送餐装置”,该装置设置了强制洗手装置,在取餐前强制餐前洗手,便于规范用餐者用餐习惯,提高使用者的用餐卫生程度,食物在装置内被夹紧固定,防止食物因移动而导致汤汁洒出的情况,且在取餐时置物平台会迅速上升,将食物递送到人面前,便于取餐,该装置关联性高,操作简单。
	
总之,在掌握了正确的洗手方式之后,我们在平时生活中一定要注意经常性的洗手,无论是饭前饭后还是便前便后都要注意手部卫生。如果在外没有用水条件的话,也要注意用酒精经常的喷雾消毒,使用洗手液等产品来进行清理。
毕竟当前尚处于新冠肺炎疫情防控的时期,洗手环节是大人和儿童日常生活中一个重要的组成部分,需落实到位,这样可以有效预防疾病,而养成良好的卫生习惯则受益终生。







