315北京沙尘暴肆虐,有人想出的防御方案能获得专利吗?
发布时间:2021-03-17今年的3月15日,身处北方城市的人们不仅要看打假名单,还要看当天扫“黄”治理成果,毕竟今天的帝都,它真的太黄了!
中央气象台消息,3月14日至3月15日早晨,受冷空气影响,新疆南疆盆地西部、甘肃中西部、内蒙古及山西北部、河北北部、北京等地出现扬沙或浮尘,部分地区出现沙尘暴。
随后中央气象台于3月15日早晨将沙尘暴预警升级至黄色预警:预计今天白天到夜间,新疆、内蒙古、甘肃、宁夏、陕西、山西、河北、北京、天津、黑龙江、吉林、辽宁等12省市将出现明显的沙尘天气,部分地区有沙尘暴。
	
时隔多年,北京竟又迎来沙尘暴天气。蜗牛纳当时在满天浮尘中去上班,还一边走一边想着幸好有戴框架眼镜,可以起到阻挡风沙的作用,不然可能会有东西往眼睛里面钻,如果一个没忍住揉了眼睛,就会使沙尘镶嵌在其中,这样很容易发生感染。
有人说这是他们在北京第一次遇见的沙尘暴,感觉很新鲜。但对于在北京从小呆到大的我们来说,这种沙尘天气已经很司空见惯了。当然,在蜗牛纳印象中,应该是第二次遇见这么橘里橘气的沙尘暴了,两次都是能见度不足千米,且空气污染指数爆表的情况。
尽管那天沙尘天气给市民的出行带来诸多不便,但大家都很擅长苦中作乐。
有人调侃自己出门应该骑骆驼:
	
有人震惊于今天不下雨又不下雪反倒下起了沙子:
	
有人表示这很像奥特曼打小怪兽的场面:
	
有人感叹沙尘暴下的北京变成了北宋:
	
还有人认为这在暗示前天“1314”的海誓山盟全要黄:
	
不得不说,现在网友们皮得真不止一点点,大概是因为他们都拥有一个有趣的灵魂,以及与众不同的脑洞吧。
在蜗牛纳的几个群里,也有很多人在讨论这突如其来的沙尘暴,就在大家吐槽的时候,突然有人提出一个奇思妙想:用墙抵御沙尘暴的方案能申请为专利吗?
这个问题似乎在网上也见到过,没想到已经2021年了,还会有人觉得用墙挡沙的想法可申请为专利……
想法很合理,但申请专利是行不通的。通常来说,专利要求发明具备新颖性、创造性、实用性。如果只是建造一堵很长、很高墙用于阻挡风沙,那么这种方案会因过于简单,而不能被授予发明专利或实用新型专利。
那么在防御沙尘暴方面上,什么样的发明可以申请为专利呢?
蜗牛纳通过专利检索平台,发现了几个关于防御或治理沙尘暴的公开专利信息。
比如能用于防疫防沙尘暴的封闭式防护头套。
	
据该专利摘要显示:包括头套本体和披肩,头套本体与披肩连接构成连体结构,披肩位于头套本体的下方,佩戴时头位于头套本体中,头套本体下方的披肩披在肩上。头套本体上设有护目镜,护目镜密封连接在头套本体上与头套本体构成连体结构。护目镜覆盖整个面部相当于面罩,在护目镜上对应人口的位置设有用于呼吸的透气阀,透气阀位于人口的两侧和头套颈部两侧。透气阀内设有可更换的滤芯,可定期对透气阀内的滤芯进行更换。披肩上设有用于固定的肩带,配带防护头套时肩带将防护头套固定在肩膀上,这样防护头套不容易窜动也不会轻易掉落,防护头套的部分重量由肩膀承担,减少了对头部和颈部的压迫,增加了舒适性。
这专利挺有意思的,防疫又防沙尘暴,一举两得。
有人认为沙尘暴是可以被利用起来的,或许能将沙尘暴的气流形成强大的推力转换为可供人类利用的能量。于是提出这个想法的人发明了沙尘暴能量转换装置。
	
所述装置包括:球体、多个压力水管、多个叶轮。该发明能够很好的将沙尘暴的能量转换为可供人类利用的能量。
另外,发明人还发明了沙尘暴发电系统及其发电方法。
	
所述系统包括:球壳、充气装置、控制器及至少一个发电装置。本发明能够很好的利用沙尘暴发电。
尽管有上述发明,但更多人应该是不愿意再遇见沙尘天气了,毕竟没有谁愿意把外面的一堆土“披”回家。
沙尘、强风、强烈热对流、干燥气候及地壳振动,其实没有什么条件可以轻易地将其进行控制,更无法在短时间内有效地解决沙尘暴发生的问题。
有发明人倒是认为可以尽量避免这种情况的发生,因而发明了一种沙尘暴抑制器。
	
据该专利摘要显示:用以抑制沙尘因地壳低频振动而产生共振,该沙尘暴抑制器包含一接收单元、一处理单元以及多个频率产生单元;接收单元接收多个信号,处理单元运算该些信号后输出多个频率信号,在将该些频率信号传输到对应的频率产生单元以产生对应的振动波,其中该些振动波与沙尘的共振波互为破坏性干涉。本发明根据不同的地域、地质、天气条件,以及时地提供适合的共振波,在大量的沙尘产生共振之前,便可有效地抑制沙尘扬起,避免沙尘暴的发生。
实在避免不了那就治理吧,只是目前世界上还找不到治理沙漠及沙尘暴彻底有效的方法,只能是在沙漠边沿种树、种草,以达到防风固沙的作用。
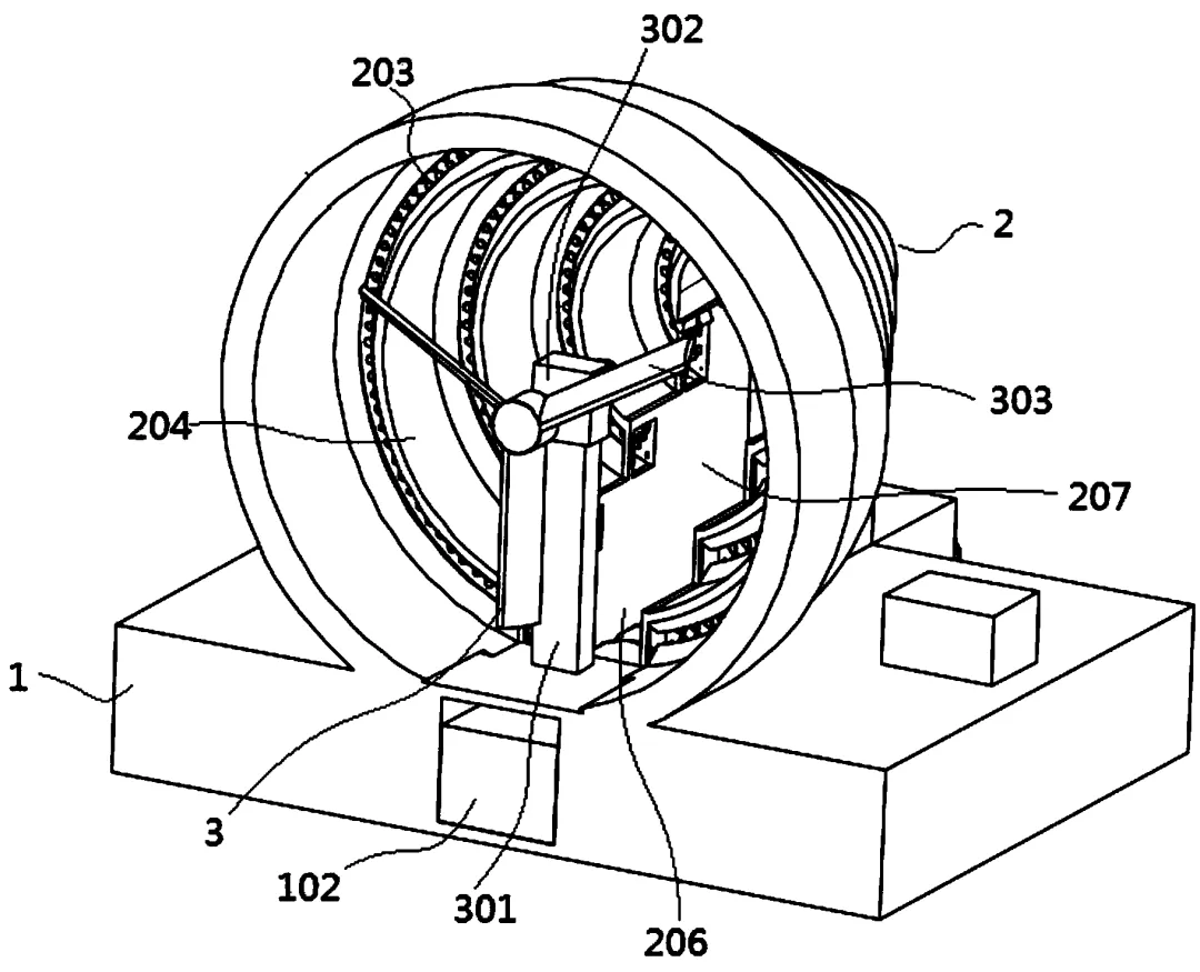
为针对这一问题,有人发明了一种用于沙尘暴吸收治理的设备。
	
该专利涉及环境治理设施技术领域。其发明包括底座,底座表面固定有壳体;底座表面且位于壳体内部固定有风力发电机构;壳体包括五个外环体;五个外环体一端均垂直固定有环形板;环形板表面阵列均开有过滤孔;环形板一表面固定有内环体;内环体、外环体和环形板合围构成导沙腔;外环体、环形板和内环体之间开有槽口;槽口两侧且位于外环体、环形板和内环体端面固定有挡板。本发明通过阶梯式中空锥形结构设计的壳体,能将沙尘暴风力大小逐步减弱,环形板表面的过滤孔对风沙中的沙粒进行过滤阻隔,经导沙腔环形下落进行收集,有效的对沙尘暴中风力和沙尘进行治理。
还有不少相关专利都让蜗牛纳眼前一亮,不禁感叹这些发明人很会想。
其实防御沙尘暴并不需要什么发明,想减少这种气象的出现,我们就应该先做到加强环境的保护。最起码得加强防止风沙尘暴的生物防护体系,从而保护和恢复林草植被,防止土地沙化进一步扩大,尽可能减少沙尘源地。
然后再加强沙尘暴的发生、危害与人类活动的关系的科普宣传,使人们认识到所生活的环境一旦破坏,就很难恢复,不仅加剧沙尘暴等自然灾害,还会形成恶性循环的结果。
既然2021年的沙尘暴源头在蒙古国,那么也应尽快与蒙古国建立长期合作防治沙尘暴的计划框架,设置到蒙古国的保护屏障。之后在我们内蒙古西部地区建起以退耕还林为中心的生态恢复保护带,同时也在北京北部的京津周边地区建立以植树造林为主的生态屏障。
总之,没有任何发明专利可彻底消除沙尘暴,就目前技术而言是很难做到的。因此有关部门需从源头治理开始,减少水土流失、沙漠化,重心放在植树造林上,以制止沙漠扩张。







