武汉小学生发明自动杀毒装置获专利证书,申请专利前可否提前公开?
发布时间:2021-03-31当前新冠疫情形势仍然在全球流行,根据目前国际疫情形势来看,疫情仍将持续比较长的时间,甚至今后还要与我们共存,所以我们随时都可能因为传染源的引入而导致新冠疫情在国内流行,甚至暴发流行。
虽然现在我们有了疫苗,可以通过接种让自己获得免疫力、保护力。不过由于世界上不存在百分百保护的疫苗,也没有一种疫苗接种后能够完全不出现感染病例的。所以无论任何时候,还是很需要戴口罩并做好个人防护,在封闭空间中也要经常消毒。
根据国家《新型冠状病毒会议诊疗方案(试行第七版)》(国卫办医函[2020]184号)明确指出新冠病毒传播途径包括“在相对封闭的环境,…,存在经气溶胶传播的可能”。
	
实际上,不仅是新冠肺炎病毒,近年流行性传染病调查研究表明,很多传染性病毒(如流感、手足口病)都具有密闭空间下生存较长时间且经空气传播感染他人的风险。因此,如何进行小范围密闭带门空间(如房间、办公室、会议室等)的快速安全杀毒是大家都十分关注且生活中必然遇到的问题。
为解决小型密闭带门空间的安全卫士问题,通常做法是采用人工方法勤打扫,或通过定期人工喷洒消毒水。显然,这些传统方法具有一些局限性,如人工打扫或喷洒消毒水不仅费时费力,而且作业人员自身面临安全风险。因为喷洒的消毒水不仅不能杀死空气的悬浮病毒,而且还可能因毒液残留造成二次污染。
所以,人们考虑使用另一种广谱、高效且无毒的灭菌杀毒方式——紫外线杀毒,目前在医院、食品车间得到广泛应用,可以说是一种高病菌载量场所的灭菌杀毒有效手段,具有用于小型密闭空间杀毒的潜力。
但是,现有相关紫外线杀毒装置/紫外线灯等未能在普通公众的房间、办公室、会议室范围广泛采用,其最根本原因是紫外线照射对人员皮肤和眼睛伤害的安全风险问题未能充分解决。这是现有紫外线灯大多采用人工通电开关或遥控开关形式进行杀毒启闭操作,且白天工作状态时紫外线肉眼不可见或难以快速被察觉,故而无法确保在紫外线灯工作状态时因不知情人员误闯入而导致紫外线照射并造成皮肤或眼睛伤害。
由此可见,如解决小型房间、办公室、会议室的安全杀毒是目前疫情期间迫切需要解决的技术问题,并且对于今后常态化疫情防控具有重要意义。
毕竟新冠疫情在短期内是难以彻底消解的,况且不光是上班族的办公之处,学生们所在的校园同样非常需要做好防疫工作。
	
图源 PIXABAY
于是为了解决上述技术问题,有3位学生通过查阅相关资料,又受到楼道自动感应灯的启发,提出了一个大胆的想法:或许可以采用红外传感器,这样有人进入教室时就自动关掉紫外灯,无人时就自动打开紫外灯。甚至他们还想到了采用报警器的方式,提醒不小心闯入开着紫外灯教室的学生。
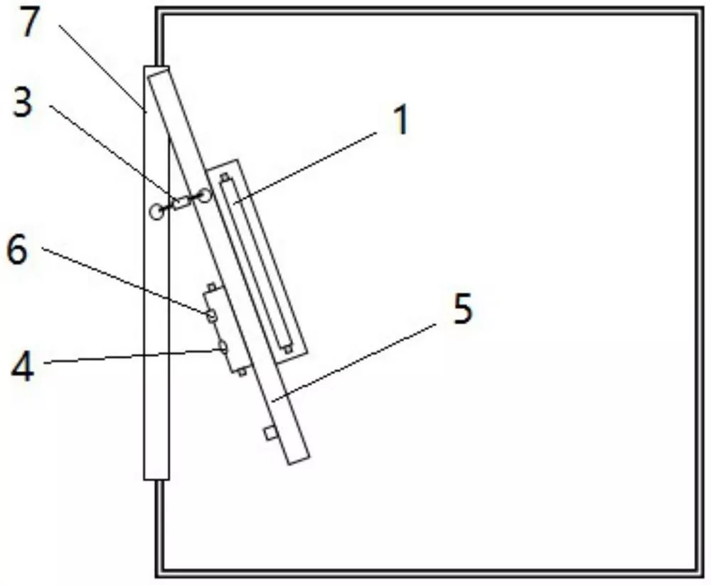
这3位学生便是来自湖北省武昌水果湖第一小学五(7)班的江晨语、章子然、赵印天,在经过大半年的讨论、设计和实践,又在老师的指导下,发明了一项能让教室进行智能杀毒灭菌的安全消杀装备——“门面式紫外线安全杀毒装置”,并获得了实用新型专利授权。
	
该专利解决了现有用于房间内杀毒装置对人体保护差的问题。技术方案包括紫外线灯和门,所述紫外线灯、电源、接触式开关和人工开关构成串联电路,其中,所述紫外线灯固定在所述门的背面,所述人工开关固定在所述门的正面,所述接触式开关的两端分别铰接在门的正面和门框之间。该实用新型结构简单、易于控制、能够对小型房间进行紫外杀毒同时有效保护人体免受紫外线伤害。
据了解,报警器、紫外灯管、电源开关、红外传感器等材料是在父母的帮助下购买的,但底座是通过3D打印机制作出来的,如此才成功拼装了紫外灯杀毒装置雏形。
据了解,三个孩子的下一步计划是在教室进行试验性应用测试。如果没有任何问题的话,也许会投放到市场中,以便更多学校、办公场所能使用这种安全性很高的紫外线杀毒装置。
	
话说这确定不是给懒人发明的吗,也不用手动开关,太省心了吧!
看到这项专利,蜗牛纳突然想起来有一位同样发明了杀毒装置的客户曾问过的问题:申请实用新型或发明专利是否需要提前公开?
为何会有这样的疑问呢?原来大部分的申请人为了缩短审查的时间,通常会选择“提前公开”。
需要先说明的是,由于实用新型的审查时间比较短,授权比较早,因此并不需要提前公开,也就不设这道程序了。但发明专利所就不一样了,这个可以请求提前公布。
发明专利申请只有公开后,才能进入实质审查,才能有可能获得授权,所以申请人在申请专利提前公开的同时,一般会提实审请求。
针对申请人,早日公开发明专利的有利之处是:
1、缩短审查周期,加快审查进度;
2、尽早获得临时保护,以尽早地保护企业的利益;
3、发明申请公布后可以影响他人在后申请的创造性;
4、早日获得授权,使企业能尽早地利用专利抢占市场;
5、可以延长行使专利权利的时间。
不利之处是:
1、申请周期缩短,有可能是早日授权,也有可能是早日被驳回;
2、使他人可以更早得知自己的技术内容;
3、发明申请公布后可以影响他人在后申请的创造性,当然也可以影响自己在后申请的创造性;
4、提前公布使申请人有意义地主动撤回申请的机会减小;
5、提前公开有可能会让发明专利申请丧失进入国外的机会。
所以申请人往往希望这种公开晚一些,以便有更多的时间来最终决定是否公开其技术或为技术的公开做准备。
但从公众的角度来看,发明专利还是尽早公布的好,这样做有利于最新技术的传播;避免重复研究,减少不必要的人力、物力和财力的浪费;在他人发明的启迪下,也能尽早地研究和开发出更新更先进的技术。
不过有几点需要注意,千万别轻易把自己的专利提前公开。
1、有了新的研究成果,一定要先申请专利,后发表学术论文。这样在符合我国《专利法》规定的情况下既能够获得授权保护,也不会影响后续相关学术论文的审查和发表。如果先发表学术论文的话,那么其他人可以用很多方式对相关信息进行反复查找,比如影片、存储装置、光盘等,这样一来论文内容就会被他人剽窃并提前抢先申请专利。
2、企业若有研发的新产品要参加展会,一定要在此之前提出专利申请;若是已经在国外申请专利的展品,需要再次在我国行使专利优先权来获取专利保护。如果没有及时申请专利,除了会引起他人优先申请之外,还会因为过早公开自己的技术或者产品而丧失新颖性,从而失去专利授权的可能性。
3.不要在没有申请专利的情况下,往朋友圈发布专利技术相关信息,否则在起诉某公司侵犯自己专利权时,会因为无证据证明发布者有限制信息传播意图,同时也无证据证明好友有保密义务的约束,故而该信息会被认定构成专利法意义上的公开。
总之,在专利申请之前做好技术保密工作,不要轻易将发明创造泄露给别人,不发表论文、不公开演示等等,也不以其他方式造成技术公开和可能的公开。否则可能因为提前公开而丧失专利授权所必须新颖性的条件,或者被别人抢先申请。
就比如刚才提到的3位学生发明的“门面式紫外线安全杀毒装置”,如果他们申请的是发明专利,并且其中一个在创造中写了文章分享到社交平台,也许现在该专利就已经是别人申请的了。这样会严重打击到孩子的积极性,也让他们对自己的探索过程产生怀疑,久而久之就会慢慢缺乏创新能力,并最终损害到他们的自信心。







