高考结束后阅卷老师压力大?智能阅卷专利帮大忙!
发布时间:2021-06-106月8日,随着外语考试结束,部分省份的高考已迎来收官,阅卷工作陆续启动。像是河北、上海、江苏、广东、湖南、内蒙古、重庆等十余省份已在昨天9日结束所有考试;北京、天津、山东、浙江、辽宁、海南等省份则在今天10日结束考试。至此,2021年全国高考正式落下帷幕。
随着考试收官,部分地区的高考成绩查询时间、志愿填报时间等也陆续公布。
截至8日,已经有近十个省份公布了高考成绩查询时间。安徽、江西的查分时间预计为6月23日;山西、吉林为6月24日;河南、湖南、海南为6月25日;广东则暂定在6月26日前。
虽然已经定下来查分时间,但阅卷工作才刚刚开始。并且为保障高考阅卷工作的公平、安全,不少地区都出台了相关举措。
为保障高考阅卷工作的公平、安全,不少地区都出台了相关举措。
例如,在黑龙江,每道题在评卷结束后,都会进行实时的数据传输和信息交换,图像数据通过加密存储,阅卷老师看不到有关考生的任何信息,评卷结束后再通过解密转换成考生的成绩。
在海南,今年该省考试局要求严把评卷选聘要求,对于评阅分值较大、主观性强的试题,如作文题、论述题、计算解答题等题型的评卷员,要求有3年以上教学或教研经验和一定的评卷经验,具有中级以上职称。
而江西则安排评卷工作现场实行全程视频监控,评卷教师不得携带手机进入评卷工作场所;评卷点对评分参考或评分细则,按国家秘密级事项进行管理,统一编号,非工作时间收回保存。
幸好现在高考一律是电脑扫描,除了非常需要老师们细心评阅的答题,选择题之类的不再需要老师手动来判了。

即便2021年全国高考报名的人数达1078万,创下历史新高。智能阅卷的出现,也会大大减轻阅卷老师们的负担。
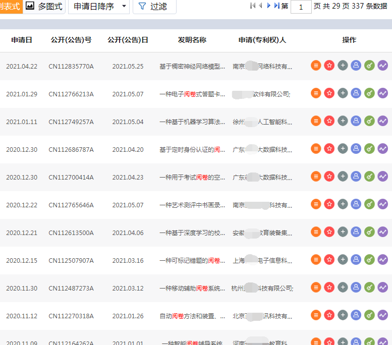
蜗牛纳通过专利检索发现,截至目前,与“阅卷”相关的专利申请信息有337项,其中“智能阅卷”的相关专利有45项。
	
举例来看,例如,科大讯飞发明的一种用于文字性客观题的智能阅卷方法及系统,
	
该方法包括:获取文字性客观题答案图像;对所述答案图像进行切分,获得待识别答案字符串的一个或多个切分结果;判断是否有字数与标准答案字数相同的切分结果;如果没有,则确定答案错误;否则,计算所述字数与标准答案字数相同的切分结果的识别置信度,和/或计算所述字数与标准答案字数相同的切分结果中各字符的识别置信度;根据计算得到的识别置信度确定答案是否正确。利用本发明,可以实现文字性客观题的自动阅卷,减少人力资源消耗,提高阅卷效率及准确性。
安徽某教育公司申请“一种阅卷用即用即查扫描仪”专利,从摘要附图来看,下机架上设有多个水平设置的支撑辊,在多个支撑辊上方形成试卷传送面;驱动辊水平设置在上机架底部且平行于支撑辊设置,驱动辊外壁设有防滑层,第一扫描头和第二扫描头设置在上机架底部且二者在垂直于所述驱动辊的方向上分布,第一扫描头和第二扫描头均与显示器连接。
	
该专利可通过上述优化设计的阅卷用即用即查扫描仪,使得试卷的连续传送扫描,能够通过显示器直接查看扫描头的扫描图像,通过设置两个扫描头实现从不同角度的二次扫描,防止发生单方向扫描图像可能存在的阴影或折皱影响,保证扫描图像清晰准确。
北京某科技公司申请了“一种智能阅卷中图像识别的方法、存储介质及装置”专利,该发明能够通过优化处理图像,突出内容显示减少无关细节,大大提升图像识别的精度;也能够通过使用可自学习的卷积神经网络,可以得到高识别率的计算网络模型,大大提升了识别效率。
	
此外这项发明还能在预测图像分类时添加的识别前序方法,进一步提升了卷积神经网络的识别精度;甚至也可通过大量采集现有图像数据集,对答题卡纸张没有特殊的印刷要求,便于大规模应用。
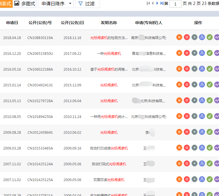
不过,想实现高考无纸化阅卷,完全离不开“光标阅读机”(Optical Mark Reader,即OMR)。
光标阅读机是山东大学和重庆大学于1988年推出的一种自动阅卷设备,能通过光学扫描和石墨感应技术,也可以识别出答题卡上的客观题答案,自动给考生打分。
此后,光标阅读机的无纸化阅卷在很长一段时间内成为国内各类考试的主要计分方式。然而随着题量、考生规模的增长,其扫描速度上的劣势逐渐显现,久而久之便被高速扫描机取代了。随后,“扫描仪+网上阅卷系统”的组合被各类组织、机构沿用至今。
以“光标阅读机”为关键词进行专利检索,能看到有23项与此相关的信息。
	
有点意思的是,企查查数据显示,河北省拥有62家“光标阅读机”相关企业,总量位居全国第一,其中衡水市就有54家,在全国占比65%。
	
毕竟衡水本地超级中学众多,教育产业本就发达。而南昊光标阅读机的崛起,也在衡水引发了示范效应,因此当地不少企业开始制造和销售光标阅卷机。
也许从那时候开始,衡水学子们就有做不完的试卷了……
不管怎样,智能阅卷、光标阅读机之类的发明,成功降低人工阅卷中疲劳、情绪等因素的影响,大大提升了阅卷效率、公平性、准确性,并将全国阅卷老师从手工批改的水深火热之中拯救了出来。
今天,全国高考均已画上句号,尽管阅卷工作还未结束,但无论结果如何,拼搏到最后的考生们就是好样的!
天空吸引你们展翅飞翔
海洋召唤你们扬帆启航
高山激励你们奋勇攀登
平原等待你们信马由缰
出发吧
祝每一位考生
都能考上自己理想的学校
开启新的征程
去拥抱无限美好的未来







