特斯拉再现颠覆性设计:激光雨刷专利获批准!
发布时间:2021-09-13谁能想到,雨刷器作为一个不起眼的汽车配件,竟然不是从汽车诞生时便已有了这项发明。
	
图源 PIXABAY
实际上在发明该配件前,人们总是为了清除挡风玻璃上的污物而感到烦恼,虽然他们尝试过抹布、海绵、刮刀甚至还准备过土豆、洋葱、胡萝卜等物品,但这些方法不仅麻烦,气味还很重,效果又不太好。
于是,在没有雨刷器的年代,人们在雨雪中基本是跟着“直觉”开车出行,因而经常发生多起交通事故。
直到1902年,美国阿拉巴马州一位叫Mary Anderson的富家小姐在遇到交通意外后,发明了第一个雨刮器。
	
最初的发明很简单,是把一块海绵绑在一根打孔穿过汽车玻璃的钢杆上。雨天开车时,司机可以通过转动杠杆的方式,让紧贴在玻璃上的海绵擦雨水。只不过这个操作很危险,下雨天时司机本来就看不清前方,如果还用手不停地转动杠杆,更容易发生交通事故。
随后Mary改进这种装置,又发明了带发条的转杆,这样擦雨器可以在上过一次劲后,能自动擦雨许多次。后来,她把这种擦雨装置命名为雨刷器,并申请了发明专利,专利说明书中对这个装置的描述是“车窗清洁装置”,也就是最早出现的雨刷装置,并被用在了当时的很多车型上。
此后,又相继出现过很多发明者将自己制造的雨刷装置申请专利。
到了现代,我们在市面上常见的雨刷器通常有三种运动形式,分别是平行式、对向式、交叉式和单臂式。其中,单臂式的雨刷器目前应用较少,一般会出现在一些小型车上。而在安装位置方面,除了有前挡风雨刷器,在汽车后挡风玻璃处也配有一个后雨刷器,通常在掀背车、旅行车、SUV、以及一些小货车上都可以看到。
如今,很多车型上已经配备了更为先进的雨刷器,比如感应式雨刷器,能够根据雨量的大小来自动调节雨刷摆动的速度;喷水雨刷片,能通过小孔将玻璃水均匀地喷洒在玻璃上,以达到不遮挡视线、喷洒效果更好、节省玻璃水的目的。可以说雨刷器的发展过程和种类要比我们想象的复杂很多。
	
尽管现在的雨刷器已经很成熟,但这并不意味着雨刷器会停止创新进步。
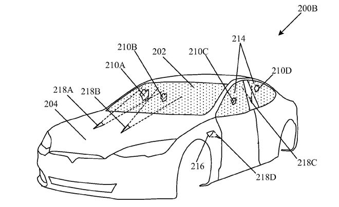
据外媒报道,美国专利商标局在前不久宣布将利用激光充当挡风玻璃雨刷的专利正式授予电动汽车制造商特斯拉。
该专利的标题是“用脉冲激光清洁车辆和光伏组件的玻璃物品上积累的杂物”,是特斯拉于2019年5月提交的专利申请,美国专利商标局于本周批准了其申请,这使特斯拉获得了这项发明的独家权利。
	
特斯拉在其申请文件中概述了这项专利:“一种用于车辆的清洁系统,包括发射激光束以照射车辆玻璃制品上的光束光学组件、检测积聚在该区域碎屑的检测电路以及控制电路。控制电路基于对累积在玻璃制品上的碎屑检测,来校准与从光束光学组件发射的激光束相关联的参数,进而控制激光束在累积碎屑上的照射水平。其中,基于以校准速率对激光束进行脉冲来控制照射水平,并将激光束的穿透限制到小于玻璃制品厚度的深度,进而移除碎屑。”
说起来,咱国内也有不少人将激光雨刷器申请为专利,我们来看看其中两项。
例如和上述专利相似的“脉冲激光雨刷清洗装置”。在需要清洗车窗玻璃时,操作人员打开激光器本体的控制开关,然后调节导向块沿导向孔滑动,此时,导向块带动连接臂在车窗玻璃上运动,激光器本体发出激光对车窗玻璃进行清洗。
	
该实用新型通过激光器本体和导向孔的设置,具有将灰尘有效清理下来的效果。
别的也挺有意思,比如“雨刷控制方法、装置及激光探测设备”。该方法可以在某些激光探测设备(如激光雷达,这类激光探测设备中可能需要使用雨刷)中应用,这些激光探测设备本来就设置有激光收发装置,同时为实现目标检测等功能本来就要计算信噪比。也可以直接利用激光探测设备的硬件组件实现雨刷控制的功能,无需再安装专用的传感器,有利于节省激光探测设备的制造成本。
	
总体来说是不受传感器影响的,对于玻璃上的雨水或其他杂物都能有效清除,同时还能有效避免了雨刷控制过程中的检测数据抖动,使雨刷有效工作,延长雨刷的使用寿命。
再继续说特斯拉,其实这家公司以前曾提出过几个关于挡风玻璃雨刷的想法。例如在今年2月份,该公司就已经获得了一项专为电动跑车Roadster设计的电磁式雨刷专利,该设计将利用电磁线性执行器(电磁雨刷)来去除挡风玻璃上的湿气。
	
该专利展示了一种单一雨刷的设计,可以在挡风玻璃上横向、横向、直接移动。与传统的弧形旋转刮水器不同,特斯拉的概念刮水器的动作与人拿着加油站刮水器工具的动作几乎相同。它用一对轨道取代了一个旋转的马达臂,基本上是在挡风玻璃的顶部和底部。这些“轨道”上和雨刷臂上的电磁铁推动雨刷前后移动。同样原理的技术推动着磁悬浮列车前进。
此外,特斯拉也在尝试不给挡风玻璃安装雨刷。在2019年11月的发布会上,特斯拉电动皮卡 CyberTruck 就没有雨刷。当时有很多人猜测:特斯拉要么是没有敲定合适的设计,要么是压根就不准备安装雨刷。现在,该公司可能会通过这项新专利解释当时 CyberTruck 缺少雨刷的原因了。
除了激光雨刷,特斯拉还有着很多听起来相当疯狂的想法。其首席执行官埃隆·马斯克(Elon Musk)曾表示,希望 Roadster 使用SpaceX冷气体推进器实现悬停,而 CyberTruck 可以在其后货箱盖上安装太阳能电池板以增加续航里程。
甚至在最近的一次电话会议上,马斯克提出了自动驾驶小巴 Robo Van 的想法。
然而,即使是崇尚高标准的特斯拉,彻底改变雨刷的想法也没这么容易实现,更不要说特斯拉想使用脉冲激光清除屋顶太阳能电池板上的碎片的设想了。
虽然不知道特斯拉研发的全新激光雨刷器何时会投入量产,或许最后产品的成型与专利图有些出入。但至少特斯拉在进行全新的尝试,没准儿他们真的有可能带来雨刷的一次革命性升级。
那么,大家对于特斯拉的这项新专利是怎么看待的呢?
蜗牛纳觉得,如果真的可以实现,应该能省下一部分洗车的成本吧,所以还是值得期待的。







