风险名单|56家违规擅自开展专利代理业务(黑代理)被处罚!
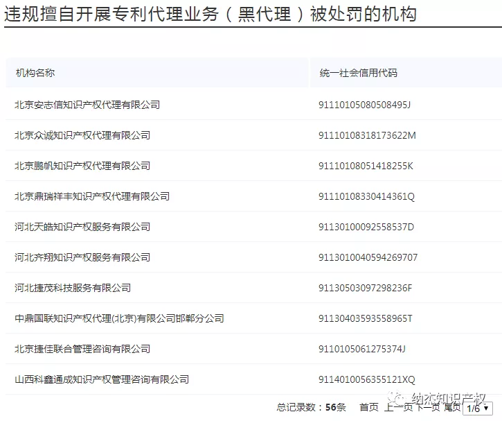
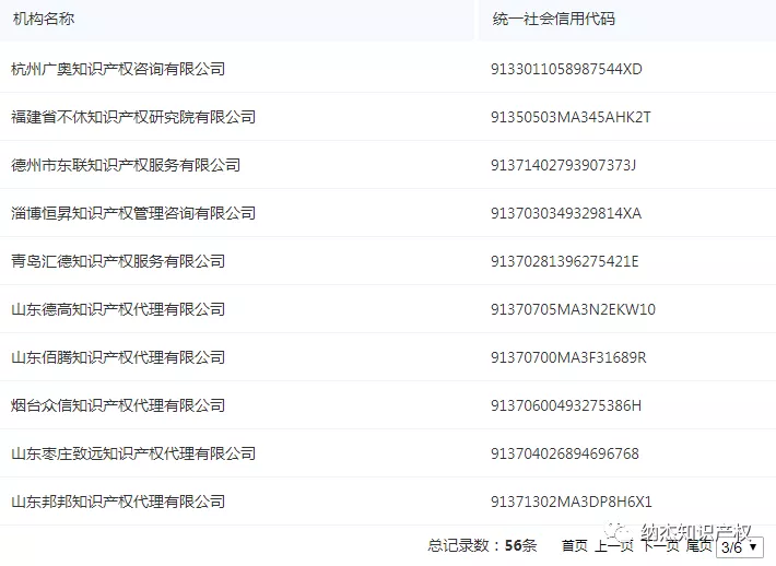
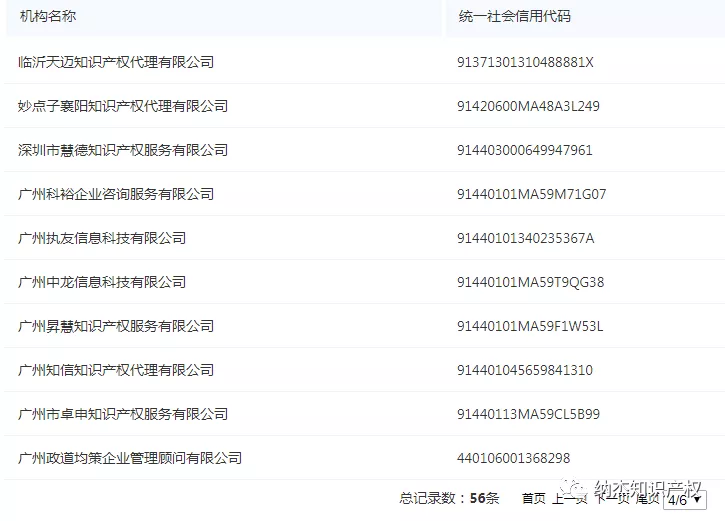
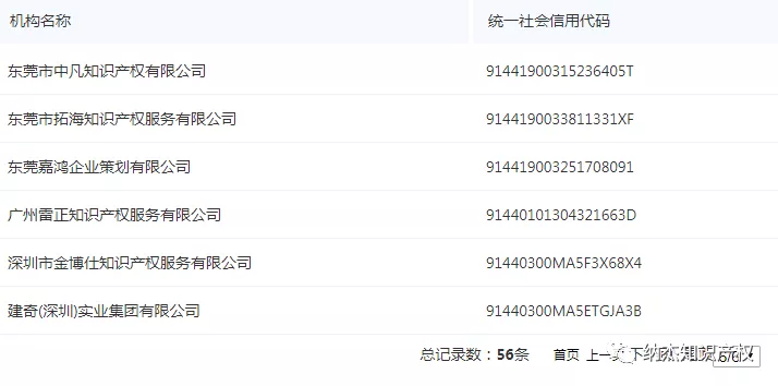
发布时间:2021-10-08最近,国家知识产权局通过全国专利代理信息公示平台公布了违规擅自开展专利代理业务(黑代理)被处罚的机构。
据统计,共有56家机构涉及违规擅自开展专利代理业务。
	
注:下列代理机构和代理人员相关行为存在风险,现予以提示。
	
	
	
	
	
	
如果想知道自己关注的专利代理机构是否能合法开展专利代理业务,可以通过全国专利代理信息公示平台中的“有资质专利代理机构公示”,输入机构的名称或代码,比如:北京爱普纳杰专利代理事务所(特殊普通合伙),我们能看到机构状态显示为正常。
	
在输入名称或代码后仍无法搜到专利代理机构的,通常是违规开展专利代理业务的“黑代理机构”。
另外,若想知道自己的专利代理师是否已考取了相关资格证,可在该平台的“专利代理师公示”中,通过名称、专业、资格证号、执业备案号进行查询。比如输入我司何自刚,可以看到关于他的一些情况。
	
现在大家应该已经知道怎么查看专利代理机构的情况了吧?可别听人家说什么就是什么,行走社会还是得多留个心眼。







