全国消防日 | 看哪些专利能防火于未“燃”、救人于水火!
发布时间:2021-11-09每年的11月9日是中国的全国消防日。由于在电话号码中,“119”是火灾报警电话,与11月9日数字相同,易为人们接受,于是从1992年起把这一天定为全国消防日。
	
图源 PIXABAY
到了2021年的今天,应急管理部消防救援局将“119”消防日扩展为消防月,并邀请“共和国勋章”获得者、中国工程院院士钟南山担任“中国消防宣传公益使者”,为消防安全“代言”,通过宣传视频和海报,提醒广大市民关注消防安全,传递消防安全知识。
钟南山院士表示,医护人员和消防员都是新时代的“逆行者”,但疫情防控和火灾预防绝不仅仅是他们的事,而是需要全民重视、全民参与,这样才能确保健康与平安,因此宣传工作十分重要。
随着全国消防日的到来,全国各地纷纷开展了形式多样的消防宣传活动。除了火场逃生、消防责任等方面内容的宣传之外,消防救援部门展示的一些消防救援技术、高科技装备等,也受到群众的广泛关注。
比如可时刻监控火情并发出预警的装置,能代替消防员进入危险区域作业的机器人,高空用消防机器人、侦查火情的消防无人机、定位消防员的装置等等,你知道这些防火于未“燃”、救人于水火之中的东西是什么样子吗?
蜗牛纳通过专利检索,查到了多项与消防有关的专利,我们来看看具体信息。
因为目前国内应用的火灾自动报警系统基本上以区域火灾自动报警系统、集中火灾自动报警系统和控制中心火灾自动报警系统为主。这种系统一般都自成体系,自我封闭,不能实现系统间的资源和服务共享,只能让大楼内部的值班室采用电话报警的方式进行反映,无法自动向城市“119”火警受理中心报告,也不能自动反映具体起火部位、火势大小等现场情况。
所以能实时监控火情并及时向火警受理中心报告,有人发明了通过物联网监控火情的消防设备箱。
	
该设备箱很方便引导救援者及时掌控火灾状况,相比现有设备,它还可以实时检测建筑稳固程度。
都说民以食为天,所以粮仓也很有必要安装个防火监控系统,以前的系统并不好用,出现火情时也无法第一时间进行自救。
有人注意到了这一问题,发明出那种用于粮仓的防火安全监控系统。
	
该专利包括粮仓本体、消防水池、本地火情监控系统和远程火情监控工系统。粮仓本体的延伸方向垂直于本地常年主导风向设置,消防水池环绕在粮仓的所在地上,而本地火情监控系统设置在粮仓的内部,可以和远程火情监控系统通讯连接,以解决现有粮仓缺少防火监控系统的问题。
发生火灾时,消防员肯定会用最快的速度到达现场并进行灭火作业。不过在现场中,还有消防机器人进行灭火和抢险救援,或是代替消防员进入易燃易爆、有毒、缺氧、浓烟等危险灾害事故现场,进行数据采集、处理、反馈等工作。然而,传统的消防机器人在作业过程中,喷水时机器人会受到作用力向后退移位,甚至翻车,并且将会导致喷水时机器人偏离目标位置,难以高质量地完成工作。
为解决上述问题,有人发明一种消防机器人,拥有能够支撑消防机器人主体以平衡消防机器人主体喷水时所受作用力的驻锄装置。
	
该实用新型提供的消防机器人,相较于现有技术而言,能够有效地消除喷水时机器人受到作用力而后移的影响,使机器人更加准确地定位停留在目标位置,以更好地完成数据采集及喷水灭火等工作。
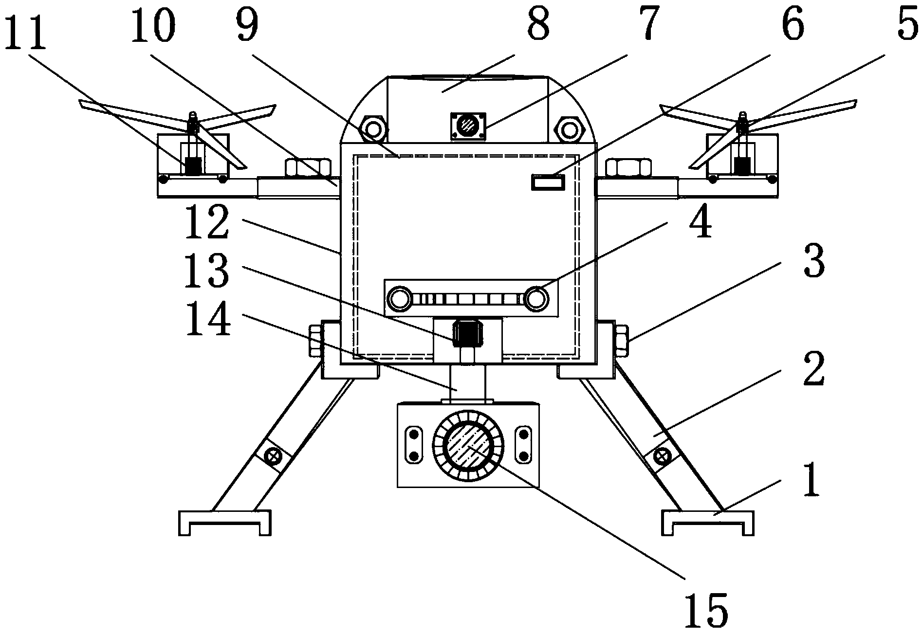
新型消防机器人虽然看上去更好用了,但在失火楼房外部时,它只能从地面进行洒水工作,对于较高的楼层便爱莫能助。
蜗牛纳发现居然有人发明了高空用消防机器人,易于操作,其调节功能可以适用于多种高度和角度的灭火施工工作,适用范围广、使用方便,且红外线瞄准器便于定位灭火位置,水带放置框便于收纳过长的水带,具有很强的实用性。
	
不过在进行灭火作业前,侦查火情是必须要做的事情。
既然有高空用消防机器人了,也应该有那种能在高空进行侦查火情工作的机器人吧?估计很多人想到一样东西——无人机。
无人机航拍作为一种新型工业技术,已被广泛应用于各种领域,在国内已有不少消防机构使用无人机成功进行过火场侦查监测、抛投救援物资等尝试,效果非常明显,尤其以消防为主的高危领域,运用无人机来代替部分人力行动。
但市场上的消防无人机在使用时,会有在飞行侦查时不够平稳的问题,而且由于其设置较为简单,缺少精确侦查的效果,可能会导致有些小型的起火不容易被觉察到,进而会造成损失,为此,有人提出一种智能定位侦查火情的消防无人机。
	
该智能定位侦查火情的消防无人机设置有摄像机、第二电机与转轴,摄像机安装在机体的下端,是为了方便对前方的景象进行无遮挡的观察,而且通过第二电机的作用带动转轴进行转动,可以让摄像机进行旋转一周,不仅使观察的范围扩大,还大大加强了侦查的效果,并起到了定位的作用。
蜗牛纳虽然希望在这些危险的地方中能让机器人代替消防员进行多种工作,但也知道很多事情仍需要人工作业,那么为了保障消防员的人身安全,多家企业也做出了相应的努力。
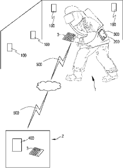
比如消防员定位装置,用于建筑物救火现场对消防员进行定位,所述消防员定位装置包括分布设置于建筑物中的多个RFID信号发送器,佩戴于消防员身上的RFID信号接受器和与所述RFID信号接受器连接的无线发送装置,以及与所述无线发送装置通过无线信号连接设置于指挥中心的无线信号接收装置。
	
也就是说,该装置可通过消防员佩戴的无线发送装置将RFID信号接受器接收到的RFID信号发送器的编码信息传送给指挥中心的无线信号接收装置,通过查对每个RFID信号发送器的编码信息所对应的建筑物中的具体位置,即可获得消防员的具体位置。
还有消防员智能服及消防员生命体征监测系统,能够实时了解消防现场的环境情况、消防员的位置信息、消防员生命体征,指挥中心通过智能终端就能够对发生危险的消防员及时作出救援反应,避免消防员陷入危险时错过最佳救援时机。
	
还有很多有利于防火、灭火、救人的专利都值得我们关注。当然,在未来,会有人能够为这些消防装备提供更科学、更准确的技术支撑,届时也会减少意外和火灾的发生,避免造成人员伤亡和财产损失。
今天是全国消防日,让我们向英勇的消防员们致敬!







