爱奇艺起诉豆瓣侵犯名誉权,盘点爱奇艺的那些维权故事!
发布时间:2018-11-06最近爱奇艺似乎受了刺激
就因为自己出品的节目
《奇妙的食光》在正式上线前
被豆瓣网友诋毁
于是他们怒诉豆瓣网侵犯名誉权
要求其删除侵权文章、公开赔礼道歉
并提供三名用户的真实身份信息
以及赔偿经济损失50万元
昨日海淀法院网就此事
发布了案件快报
表示他们已进一步审理中

这到底是怎么回事呢
原来爱奇艺发现有三名豆瓣用户
在豆瓣网上针对《奇妙的食光》节目组
分别发表了三篇吸人眼球的文章
其内容都是针对
《奇妙的食光》节目组
殴打一女粉丝事件

这些文章中写了很多
不利于爱奇艺节目的字眼
比如“爱奇艺员工打女粉丝”
“涉嫌种族歧视”
“性骚扰女粉丝”
“十几名壮汉拳打脚踢一个女生”
“节目组十几个人打一个人”等
随后经爱奇艺一方调查
认为上述言论属不实信息
而该言论内容已经
严重损害了爱奇艺名誉权
并损害了其合法权益
虽然文章是网友自己发的
但豆瓣网因未尽到审核义务
所以要承担相应的责任

也许现在很多网友
都关心法院会怎么判
若这件事处理得不好
那么就会影响参加该节目的
自家爱豆的声誉
但此时蜗牛纳的关注点
却在爱奇艺的其他侵权案上
特别是那种会影响企业发展的
知识产权纠纷案

还记得上次说的搜狐视频么
从严打盗版侵权的被害者
摇身一变为侵犯者

搜狐视频的这件事
让我们清楚地意识到
flag是不能随便立的
否则你不知道下一秒
会不会自打脸
但对比之下
同为视频网站的爱奇艺
就谨慎多了
他们很少会说大话
况且谁也不知道这类侵权案
会在哪天就找上门来

不过总找人算账的
似乎都是爱奇艺公司
他们本身就很重视知识产权
我们可以做个盘点
了解一下爱奇艺的维权史
以下不分先后顺序
“奇葩说”商标案
爱奇艺发现“营销奇葩说”与
他们注册的“奇葩说”商标
已构成相同或近似
因此以商标侵权为由
起诉《营销奇葩说》的制作公司
北京雪领网络科技有限公司
要求该公司立即停止侵害行为
赔偿经济损失200万元
并在相关网站、媒体
刊登声明消除影响

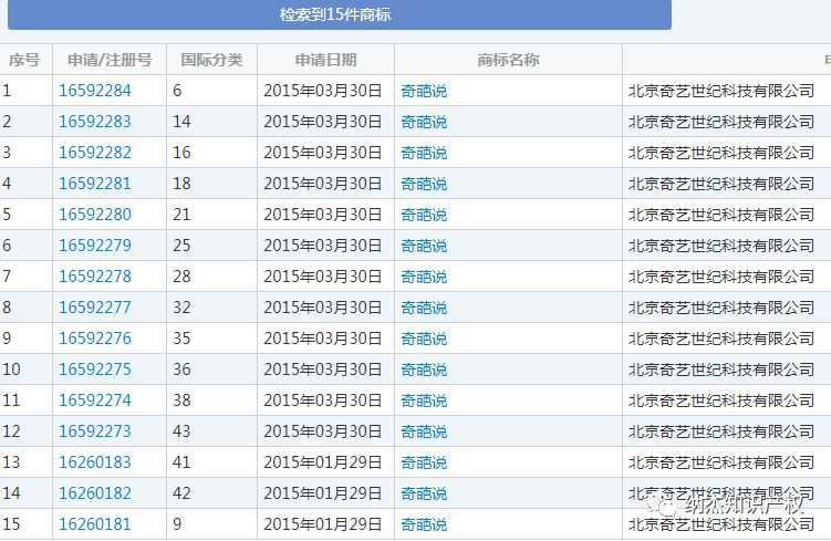
蜗牛纳从商标局上检索到
爱奇艺确实先后注册了
15件“奇葩说”商标

其中一件41类的该商标
已在2016年经授权
取得其商标专用权
因此爱奇艺有权利
将“奇葩说”商标用于
节目制作、播出、推广等环节

面对“奇葩说”商标权
归爱奇艺所有的事实
被告公司却认为自己没有错
称“营销奇葩说”非商标性使用
所以并未构成侵权
最后双方各执一词谁也不认输
所以此案未当庭作出判决
爱奇艺对此表示很头疼
但接下来让他们
更头疼的事发生了
“奇艺”商标案
因认为北京妙奇艺娱乐文化有限公司
(下称妙奇艺)
未经授权许可擅自
使用了“奇艺”字样
所以爱奇艺的两家公司
以侵害商标权
及构成不正当竞争为由
将妙奇艺诉至法院
要求他们停止商标侵权
和不正当竞争行为
并赔偿经济损失150万元
日前海淀法院受理了此案

事件大概经过是这样的
爱奇艺发现妙奇艺的微信公众号
“FunCity奇艺之城官微”
和其微博“FunCity奇艺之城”中
大量突出使用了“奇艺之城”字样
而且妙奇艺还于2018年的
9月22日至10月7日期间
在四川成都主办了一场名为
“ FunCity奇艺之城 艺术嘉年华”大型活动
并在该活动现场多处又突出使用了
“奇艺之城”或“奇艺”字样

虽然爱奇艺这边早在
9月21日活动开幕之前
就向妙奇艺等相关主体
发出了侵权警告函
但妙奇艺收函后
并未停止侵权行为
他们的活动照办不误
该用的的字依旧在用
所以才有后来的起诉
毕竟这次被侵权的商标
还是爱奇艺自家公司注册的呀
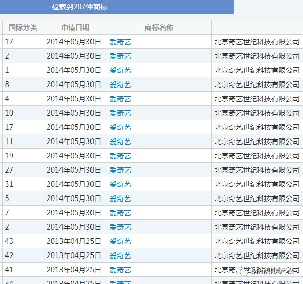
207件“爱奇艺”相关商标

还有12件“奇艺”商标

全都是爱奇艺自己的
而妙奇艺用的“妙奇艺”字号
与爱奇艺用的“爱奇艺”
和“奇艺”字号
都极为相似
极易让公众产生误认或者混淆
总之爱奇艺提供了很多证据
证明妙奇艺有侵权之实
虽然到目前为止
此案正在进一步审理中
不过由此可见
爱奇艺在商标保护上
做得非常好
不过有网友说了
爱奇艺对知识产权的认识
并不全面
例如版权就做得不怎样
人家这么想可能是因为
《中国有嘻哈》版权案
蜗牛纳觉得只要是
经常进B站看视频的人
都会知道的一个案子
因为B站未经授权
擅自传播《中国有嘻哈》节目
随后被爱奇艺起诉至法院
并索赔100万元

一般来说网友都会和原告
站在一条线上批判被告
但出乎意料的是
这次网友们都力挺被告的B站
因为爱奇艺自己就是侵权者
就目前来看他们有两档节目
被质疑涉嫌抄袭韩国综艺
其中就包括《中国有嘻哈》

这些节目所用的创意
舞美造型等元素
经过对比之后
发现与韩版的节目雷同
再加上B站自制节目的
《拜年祭》和《BML》
均在爱奇艺播放源播放
也难怪网友不看好爱奇艺了
不过话又说回来了
爱奇艺的知识产权意识
到底是强还是弱
真的不能只看单个案例
比如在影视剧的版权保护上
他们就做得非常好呀
《延禧攻略》版权案
爱奇艺因今日头条
以短视频的方式
在其手机端应用程序上
传播热播影视作品
《延禧攻略》版权案
将今日头条告至法院
要求对方立即停止侵权行为
并赔偿经济损失
及合理支出共计
3000万元

不仅如此
包括从2016年至今
海淀法院手里的一些
爱奇艺影视作品被侵权案
都无一不证实了
爱奇艺在版权保护上的
认真和负责
(下图来自每日经济新闻)

咳咳 说了这么多
看上去像是蜗牛纳
在拍爱奇艺的马屁一样
其实抛去成见
这家视频网站在各方面
都非常努力地
保护好自己的知识产权
而蜗牛纳之所以做这个
爱奇艺维权史
从商标到版权的盘点
其目的是为了能让更多
做视频网站的工作人员能够
引以为戒并自觉遵守法律
这样才更好地保护知识产权
并让整个行业及时规避
各种侵权的行为
——END——

编辑:蜗牛纳@北京纳杰知识产权代理机构
本文地址:http://www.bjnajie.com/a/falvfuwuxinwen/3582.html
来源:纳杰知识产权微信公众号(najieip)







