拜登就任美国总统后,特朗普还有闲心维权吗?
发布时间:2021-01-25美国当选总统、民主党人拜登终于在2021年1月20日正式宣誓就任美国第46任总统。不过考虑到新冠疫情,受邀出席典礼的人数大幅减少,加上国家广场暂时对公众关闭,民众摩肩接踵的景象并未出现。
通常,在总统过渡期间,权力的顺利交接得益于一系列政治仪式,并赋予正在展开的政治变迁以一种庄严感与适当感。

图源 PIXABAY
然而,拜登的就职典礼就可谓是一波三折……
据美国约翰斯·霍普斯金大学19日发布的新冠疫情最新统计数据显示,美国累积确诊病例超过2400万例,已经成为全球累计确诊病例数和累计死亡病例数最多的国家。
而在美国新冠疫情仍然严峻之际,特朗普再签署了一项政令。
当地时间1月18日,特朗普签署行政令,宣布取消与新冠肺炎疫情相关的旅行限制,1月26日起生效。
此外,特朗普还将矛头直接指向中国企业制造的无人机。根据新行政令内容,要求安全部门必须全面审查,中国无人机对美国联邦机构所带来的安全风险,并且还特别指示,在美国联邦机构采购无人机中,优先将中国制造的无人机排除在外。
作为特朗普总统任期内,这应该是他的最后一个行政指示了,蜗牛纳也没想到特朗普竟然还没有放弃对中企的打压,而这种近乎于偏执且疯狂行为也让外界感到有点吃惊。

回想过去唐纳德·特朗普就任于美国总统的时候,真的是一直都备受各方争议。也许这位先生是历来美国总统中唯一一个自带热搜话题性的人,因此经常被很多媒体骂做是疯子。毕竟所有民主国家的掌权者们都不敢得罪媒体,只有特朗普才会这么干,他总是主动地找媒体的麻烦,并宣称美国媒体成天散布的是假新闻。
但不管特朗普如何蹦跶,也改不了拜登就任于美国总统的事实。当然,尽管他拥有很多疯狂的铁杆粉丝,但同样改变不了其他美国公民对他的厌恶。
还记得么?在美国大选期间,也就是尚未确定最终结果的时候,德国杜莎夫人蜡像馆便早早地把特朗普蜡像扔进了垃圾桶,连带着特朗普的口头禅“你被开除了”“假新闻”和标志性红帽子也一起被打包扔掉。似乎是在暗讽特朗普自己就是一个假新闻制造商,只配与垃圾为伍。

当时蜗牛纳就觉得这打包的动作特别快,而且杜莎夫人蜡像馆的工作人员说扔就扔了,是因为赚够制作蜡像的钱了吗?
虽然特朗普已经被踢出了蜡像界,也被踢出了“总统群聊”,不过在美国的市场上,他还是有商业价值的,仅从特朗普的周边产品就知道大家有多“喜欢”他了。
比如一本印有特朗普头像的诗集——《做生意的吟游诗人》,主要收录了特朗普这30年间采访的经典内容,并且对他当时的采访没有做出任何的改动,能够让很多人从这本书中了解到不一样的特朗普。

不喜欢看一堆字的可能会考虑买Donald Talking笔,这本是一支很普通的签字笔,但是加了一个特朗普的大头像,就变得很有趣了,只要按下玩偶头像就可以听到特朗普亲自朗读的八句箴言。

上述两件产品也算是比较正面一些的,但外国人总是很敢做。比如这卷川普厕纸(王牌卫生纸)竟然印上了特朗普亲亲的表情。一国总统的形象就这样被抹黑是不是有些过分了呢?然而这款卫生纸在 Amazon 上购买的用户数量不少,并且有买家评论该产品质量很好,他们很喜欢。

用特朗普的脸去贴人类便便本来就很过分了,但这种印着特朗普卡通形象的狗狗便便袋,显然同制作卫生纸的点子一样邪恶。

更邪恶的点子来了:将特朗普的脸安在手柄末端的马桶刷。“特朗普”穿着蓝色的小西装,打着红色领带,用他那头招牌金发“帮”使用者清洗马桶。有意思的是,这款马桶刷的口号是:“让你的马桶再次伟大!没有一个总统有像我这样的马桶刷!我对抽水马桶情有独钟,我用力擦洗马桶,我亲吻马桶,我迫不及待地要成为一只马桶刷。”

天啊,特朗普肯定不会心甘情愿地被人恶搞成这样。可为什么这位美国总统在职期间被如此恶搞后,也没有追究商人的法律责任呢?
在美国,不论是总统还是是任何公民,只要发现自己的肖像权受损或是遭受毁誉,都可以提请诉讼。但是,政客们通常不想显得自己太敏感,并且也希望通过更多的曝光来增加名气,所以一般不会和恶搞者们对簿公堂。
尽管特朗普也只是一个普通人,但由于他做总统时的地位很高,所以在面对一些对于自己的恶搞图片、产品时,即使内心很愤怒,仍要以微笑面对。一旦真的发火,就会让人觉得他很没有度量,毕竟总统代表国家与政府,为这种事发火是有损国家形象的。
而且就算特朗普一气之下闹到法庭去了,也可能无法获得胜诉。因为被告会把借用肖像解释为某种政治言论,而言论自由受宪法第一修正案的保护,再加上维权还要花高价请律师,侵权的商家又比较多,往往顾不过来,因此很多情况下总统也只能睁一只闭一只眼。
当然,没有追责并不代表所有领导者都能忍气吞声。事实上,在上世纪70年代时,美国时任副总统斯皮罗·阿格纽曾起诉过一家企业,认为相关产品侵犯副总统的隐私和形象权,要求企业将利润作为赔偿捐给慈善机构,而企业认为他们的做法受到美国宪法第一修正案的保护,最后该案庭外和解了。
但这并不代表中国的商家可以肆意生产印有特朗普的产品,即便这位有些疯狂的前总统已经卸任并难逃美国政府的清算,但他仍有维权的资格。
要知道特朗普在中国是有注册商标的,所以中国的商家不可以随意制作此类产品。否则特朗普拿一群热衷于恶搞游戏的美国人没办法,就会把气出在中国企业的头上。
是的,特朗普现在确实没有实权了,但照样可以使用法律武器对付中国企业。所以我们这边不要随便将他给“包装”为什么产品。
如果有人非要推销与特朗普相关的周边产品,那么这可能会涉及到以下问题:
1、可能侵犯相关的商标等知识产权在先权利,这包括特朗普本人持有的权利和其他销售者持有的权利;
2、使用了特朗普的形象后,可能会侵犯他个人的“形象权”。
先说商标方面,众所周知唐纳德·特朗普是DONALD J.TRUMP的中文翻译,亦偶翻译为唐纳德·川普,可简称“特朗普”或“川普”。
据美国专利商标局( USPTO )透露,他们一共接到过 300多件来自特朗普的商标申请。而在中国商标局官网上,我们通过商标检索中可以查到,目前特朗普总共申请注册了122件相关商标。
其中特朗普自角逐2016年美国总统大选后,于2016年04月15日开始申请注册了41件以“唐纳德·特朗普”“唐纳德·川普“、“川普”、“DONALD TRUMP”、“ TRUMP”为注册的商标商标,其保护对象都是以“川普”为主。

根据查询结果看,特朗普在中国最早注册商标“IVANA TRUMP”是从2005年开始,分别在第35、36、37、42、43的服务类别上。

紧接着又于2008年注册了大量关于 “川普国际酒店大厦”、“川普地产”、“川普大厦”、“川普广场”、“川普国际高尔夫俱乐部”之类的服务和产品商标。

综上,我们可以有一个比较清晰的判断,在特朗普准备竞选美国总统之前,就为了商业需要和保护品牌而注册商标;等开始竞选总统之后,专门以“川普”人名为主进行了新一轮的商标保护。
由此可见,特朗普和其团队的商标保护意识到底有多强了。基本上在商标这块儿,没有任何商人能玩得过他,甚至连山寨都甭想。
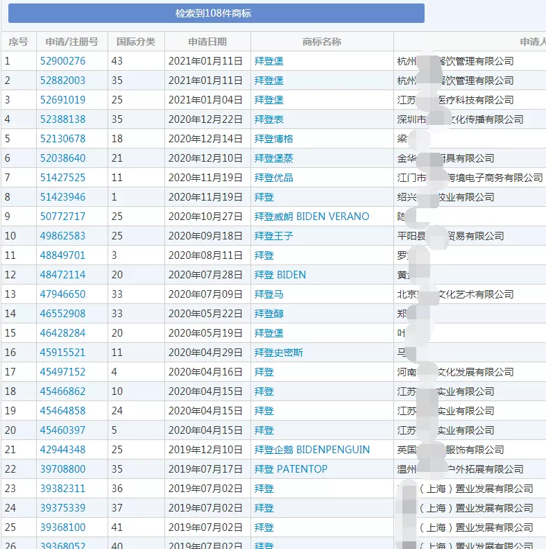
反倒拜登,可能这位政客的知识产权保护意识并不强,因此在他当选总统的两周前,我们国家知识产权局商标局网站就公布了第45466862号“拜登”商标的初审公告。

据统计,截止2021年1月20日,在拜登从2019年4月25日宣布参选美国总统,直到就职宣誓之前,总共有108件“拜登”相关商标申请。

但注册成功的商标不多,而之所以如此快的通过初审公告,是因为2019年开始我国知识产权审查质量和审查效率持续提升,商标注册平均审查周期压缩至4.5个月。而美国总统大选差不多需要1年左右的时间,所以在拜登竞选期间内足够商标局的工作人员们通过审核商标了。
只是以后这类商标多半是不会予以审核通过了,因为在拜登做美国总统之后再将其姓名申请为商标注册的话,会违反我国《商标法》第十条第一款第(八)项规定:有害于社会主义道德风尚或者有其他不良影响的不得作为商标使用。
毕竟考虑到美国总统们的知名度和影响力,也为防止影响中美关系,国家知识产权局通常会以“有其他不良影响”为理由驳回此类商标的申请。
再看肖像权。根据世界知识产权组织的定义,“Right of Publicity”(形象权)指与知名人士身份相关联的姓名、肖像、外形、声音等可以产生商业化利益的元素。
可以明确的是,以商业利润为目的使用川普形象,会涉及到此种形象权。
如果对公众人物形象的使用纯粹出于商业目的,多半会造成侵权。虽然目前为止,特朗普及其团队还没有针对相关周边产品公开地提出侵权追责。
那么销售的不是特朗普形象的服装,而是其他知名人物比如新总统拜登,或是影视剧中角色形象的周边产品呢?
若商家没有申请授权的话,也是有可能侵犯其著作权人的著作权哦。
不管怎么说,无论是外国人还是本国人,也不管是知名人物还是普通公民,只要未经对方及团队授权便擅自制作、销售周边产品的话,都属于侵权行为,需要负起相关法律责任。







