

腾讯申请“拍一拍”商标,网友:先给个关闭选项吧!
发布时间:2020-07-20这几天不少网友的微信朋友圈里,多以直升机图案+视频/动图的形式出现。因此,看到很多网友问,在微信朋友圈发直升机这是个什么梗,又是怎么火起来的。
据了解,这个最先是由朋友圈的微商带火的,一般都是在飞机里面发广告,然后底下加个视频或者是动图。可能是觉得这样的广告可爱,比较有吸引力吧。
至于这种直升机突然在朋友圈大火的原因,连腾讯官方也不清楚。所以不少人猜测可能是一些用户自己太无聊了就跟着发,毕竟他们可以在直升机图案中加入自己喜欢的一段文字,例如自己喜欢的爱豆,还有最近很火的“爬山”等等。另外,朋友圈直升机操作起来也比较方便。

不过比起满朋友圈飞的直升机,备受网友关注的还是腾讯公司自家推出的微信“拍一拍”。
上个月,微信不是上线了个“拍一拍”的功能吗。经常使用微信的人只要升级到最新版本,就可以看到自己在双击对方的头像后,聊天窗口中便会显示“你拍了拍XXX”,同时手机会进行振动。
拍一拍功能上线后立刻引起了一股社交潮流,互相拍一拍瞬间成了现象级的社交活动,大家通过修改备注和昵称与朋友们玩的不亦乐乎,一时间被网友认为是新的快乐源泉。
之后,微信竟然又新增了“增添拍一拍后缀”功能,可以设置自己的“被拍后缀”。比如设置成“肩膀”,朋友在群聊中对自己拍一拍时会以“XXX拍了拍我的肩膀”呈现,也就是好友拍你的时候会出现的内容 ,这样就不用我们再去改备注和群昵称了。
此外,微信还加粗了“拍一拍”的提醒字体。

虽然很好玩,不过有时候蜗牛纳在群里被拍的次数太多了,就会感到不耐烦,甚至很想关闭这个功能,还自己一个安静的群聊环境。

但这不是早就推出的功能吗,如今热衷于“拍一拍”游戏中的网友少了,为什么还会备受大家关注呢?
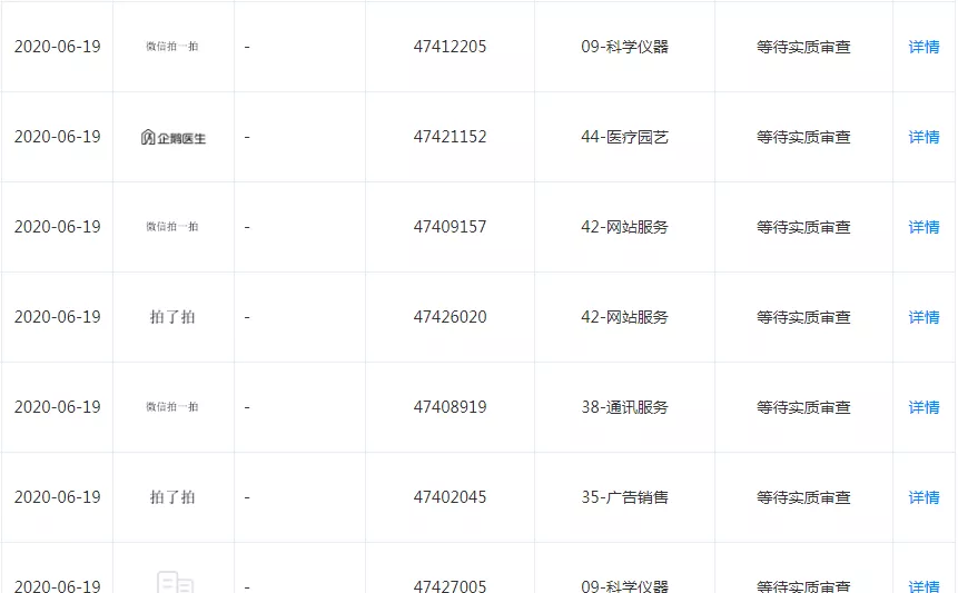
那是因为在前几日,腾讯科技(深圳)有限公司(以下简称腾讯公司)突然新增了多条商标信息,他们申请了包括“拍一拍”、“拍了拍”、“微信拍一拍”等商标注册,其分类涵盖了广告销售、科学仪器等。

截止目前,这些商标均处于等待实质审查状态中。
从商标申请的时间上来看,腾讯公司应该是在“拍一拍”功能上线之后,没多久便立即申请了与此相关的商标。
这是出于微信平台中积累的巨大流量,也为了日后能获取稳步推广,所以腾讯公司才会在各方面上针对在微信上新推出的这款“拍一拍”功能进行相关权利的保护。
由此,我们不难看出腾讯公司对于自身所持有的各项权利都有着较强的维权意识,而他们在知识产权的保护上更是十分注重。
只不过,不少网友认为这个微信的拍一拍就跟QQ的抖一抖和戳一戳一样,没有什么新花样,甚至有时候还会因为误点而感到尴尬。

尽管网友们一直在吐槽“拍一拍”功能,但对于腾讯这种商标保护的行为,还是得到很多人认可。不然腾讯不自己申请的话,肯定会被其他企业或商户抢注,届时必定会有一些的麻烦和纠纷等着自己处理。
要知道在以前,腾讯就有被人抢注商标的案例。
比如腾讯公司的表情被抢注为商标:

还有一大波与手游“王者荣耀”相关的商标:

连带腾讯公司自己的“微信”也被注册为商标了:

好在上述商标均已宣告无效,不然腾讯公司最后只能和苹果公司一样,通过购买来维护自己的品牌。
不然若人家抢注成功了,那么腾讯公司后续所有的聊天表情、软件名称、游戏形象等都将面临商标侵权风险。虽说以公众利益的角度考虑,非商业使用是不会侵犯商标权,但要是印在服装上的话就可能会涉嫌侵权。当然,包括其他方面的使用,在某些特定条件下还有可能构成不正当竞争。
所以说,身处知识经济发展的时代,企业开拓市场的同时就必须要做好核心商标的保护,而这也是当今企业的运营发展之道。

那么,在商标的保护方面,为了确保业务能够在市场中顺利开展进行,有力的抢先他人占据市场资源,蜗牛纳认为其他企业应当积极借鉴和学习腾讯公司的这种商标布局意识。
这样做的好处在于企业对产品或技术创新进行发展的同时,能够提前做好相关核心商标的规划和布局,以便及时地对自家商标进行注册保护。
你说,“拍一拍”都注册成商标了,以后腾讯搞新项目的话,岂不是能建个什么拍一拍火锅、拍一拍酒店、拍一拍KTV?
至于能不能成功注册下来,蜗牛纳还真不好说,因为在腾讯公司出手之前,就已经有数家公司将相关名称注册成商标了。

也不晓得商标局在进行商标检索工作的时候,看到这些信息会怎么认为。





