

小米多件“小爱同学”商标被驳回,商标布局请及早进行!
发布时间:2020-09-09智能音箱已成为当下最受欢迎的智能硬件之一,并成为智能家居不可或缺的智能设备。如今全球智能音箱的市场正在逐渐扩大,中国智能音箱市场也呈现高速增长的态势,例如百度、阿里巴巴、小米等国产品牌正在迅速抢占智能音箱市场。
不得不说,用智能音箱真的特别方便,它能让使用者体验到“动口不动手”的操作快感,就比如小米科技有限责任公司(以下简称小米公司)推出的小爱同学AI音箱,使用者只需要叫一声“小爱同学”,就能将其唤醒并要求其执行相应口令。

然而,作为小米公司生产的AI音箱的唤醒词及二次元人物形象,小米公司在申请注册“小爱同学”商标的时候却屡次卷入商标纠纷案件之中。
相信用过小爱同学AI音响的众多消费者都知道小米公司一直在为小爱同学的商标进行奔波,虽说小米公司在2017年便开始给“小爱同学”申请了商标,但在有关“小爱同学”的商标中有一半以上的申请人不是小米公司。
这么多商标不是小米申请,肯定会产生商标问题,后来果然收到了数份“小爱同学”商标驳回复审书。

商标被驳回了就请求复审呗,可尽管小米提交了包括商标创意说明,百度百科相关信息等在内的一系列证据材料,也还是无法成功地将“小爱同学”作为商标注册。
到底是怎么回事呢?
先拿其中一件“小爱同学”商标的驳回复审决定书举列,便于大家了解该商标被驳回的理由是什么。
第29980581号“小爱同学”商标(以下简称申请商标)是小米于2018年4月2日申请的,指定使用在第10类,电子针灸仪,出牙咬环,电动牙科设备,口罩,血压计,吸奶器等商品上。

但陈某早已于2017年8月4日在申请注册了第25700115号“小爱同学”商标(以下简称引证商标),也已经被核准使用在第10类“口罩,吸奶器,牙科设备和仪器,医疗器械和仪器”等商品上,其专用权期限至2028年7月27日。

当时国家知识产权局认为,申请商标与引证商标均为文字“小爱同学”,文字构成、呼叫相同,上述商标同时使用在血压计等相同或类似商品上,容易使相关公众认为是系列商标或存在关联性联想,进而混淆商品来源,故申请商标与引证商标已构成使用在相同或类似商品上的近似商标。申请人提交的证据不足以证明申请商标经使用已产生足以与引证商标相区分的显著特征,从而不致与引证商标相混淆。
依照我国《商标法》第三十一条和第三十四条的规定,国家知识产权局决定将申请商标在复审商品上的注册申请予以驳回。
第29992659号“小爱同学”商标都以构成近似商标被驳回了,何况是注册在其他类别上的商标呢?
这不就在最近,北京知识产权法院公开了一份关于第29992659号“小爱同学”商标申请驳回复审行政纠纷案件的一审判决书。
小米公司于2018年4月2日申请第29992659号“小爱同学”商标(以下简称申请商标),指定使用在第43类服务上。

第29784019号“小爱同学”商标(以下简称引证商标)申请日期为2018年3月23日,同样指定使用在第43类服务上,该商标申请人为案外人尚某。
被诉决定系国家知识产权局针对小米公司的商标驳回复审申请而作出,该决定认定申请商标与引证商标在文字构成及呼叫等方面相同,已构成相同商标,并存使用在类似服务上易使相关公众混淆误认,已构成我国商标法第31条所指情形。小米公司提交的证据不足以证明申请商标经使用已获得可与引证商标相区分的显著性。因此国家知识产权局遂依照我国商标法第31条和第34条的规定,作出申请商标在复审服务上的注册申请予以驳回的决定。
这件商标被驳回的理由与刚才提到的商标一致,都是构成了商标近似。
得到这一被诉决定,小米公司是这么认为的:
1、引证商标是对小米公司“小爱同学”商标的恶意抢注,目前小米公司针对引证商标提出了异议申请,请求法院中止审理本案,待引证商标权利状态稳定后再恢复审理。
2、“小爱同学”经过小米公司的使用,已经具有较高的知名度和美誉度,与小米公司建立了唯一对应关系。请求法院撤销被诉决定,判令国家知识产权局重新作出决定。
针对小米公司的上述诉讼请求,国家知识产权局辩称,其坚持被诉决定中的认定意见,被诉决定认定事实清楚,适用法律正确,审查程序合法,应予维持,请求法院驳回小米公司的诉讼请求。
庭审过程中,小米公司表示认可申请商标指定使用的服务于引证商标指定使用的服务构成同一种或类似服务,并认可申请商标与引证商标构成近似商标。
本案中,申请商标指定使用的服务与引证商标指定使用的服务构成同一种或类似服务。申请商标与引证商标在文字构成及呼叫等方面相同,已构成相同标识。小米公司对该事实不持异议,申请商标与引证商标共同使用在同一种或类似服务上,易使相关公众对服务的来源产生混淆误认,故申请商标与引证商标已构成使用在同一种或类似服务上的相同或近似商标。国家知识产权局据此认定申请商标的注册申请构成商标法第31条规定情形的结论正确。
小米公司未能提交充分证据证明申请商标经其使用、宣传已经与其形成唯一对应关系,进而可以与引证商标相区分。且至本案判决作出之日,引证商标仍为有效的商标注册申请,本案的争议焦点问题为申请商标的注册申请是否构成商标法第31条规定的情形,引证商标的注册申请是否应当被驳回与本案无关,故对于小米公司有关引证商标的注册申请具有恶意,可能被驳回,本案应中止审理的主张并无相关法律依据,法院对相关主张不予支持。
基于上述理由,北京知识产权法院判决驳回原告小米公司的诉讼请求。
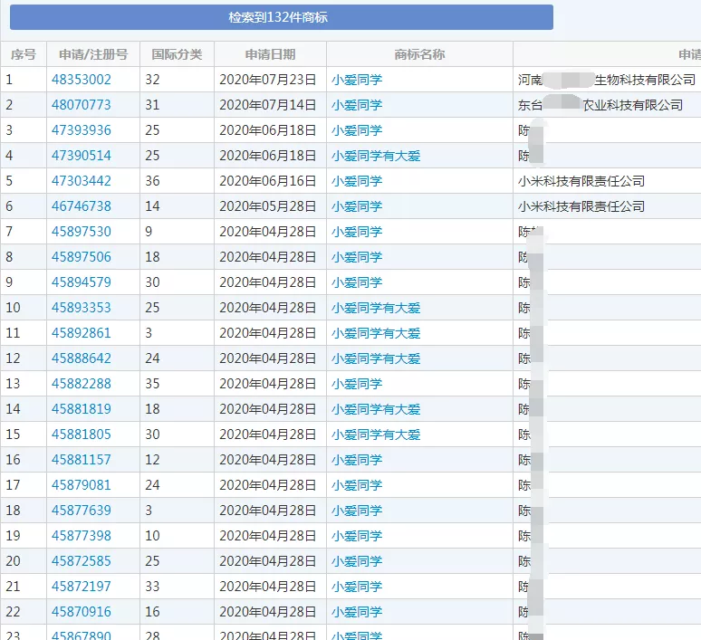
目前,通过商标检索能看到与“小爱同学”相关的商标申请共132件,其中有66件“小爱同学”商标注册申请由小米公司提出,其余66件则是由其他公司及自然人提出。

此外,小米公司还提出了52件“小米小爱”商标的注册申请,说起来,小米公司也收到过关于“小米小爱”商标的驳回复审决定书。

“小爱同学”商标屡被驳回,而这次又被一审法院作出了驳回该商标的判决,这是否意味着小米公司生产的AI印象不能再被唤作“小爱同学”?
看看被驳回的“小爱同学”商标类别和商品覆盖的范围是什么,以后就不能这些范围中的产品上使用“小爱同学”商标了。
比如被驳回的“小爱同学”商标类别和商品为:第10类“口罩,吸奶器,牙科设备和仪器,医疗器械和仪器”等,在上述产品上不可使用“小爱同学”商标,但这并不影响小米公司在音响设备上使用“小爱同学”进行宣传、销售活动。而小米公司只要在第9类“扬声器设备”等相关类别成功注册商标,那么对于目前的“小爱同学”销售便没有任何影响。
既然如此,小米公司为何如此执着地申请“小爱同学”商标呢?
因为“小爱同学”在经过长时间的经营宣传后,渐渐与企业个体产生了不可分离的联系,而一旦被他人抢注成商标,相应的风险就会随之而来。这对于小米公司这样的大型企业来说,他人注册同样商标名哪怕在不同的类别也存在风险,所以维权势在必行。
所以说,企业一定要重视商标保护,这样一来不管是注册、侵权还是近似的问题,都能在第一时间处理好,避免因其他侵权人的效仿而导致企业的维权成本过高。





