

2020媒体十大流行语发布,这些词被申请注册商标!
发布时间:2020-12-182020年终于要过去了,在这不寻常的一年里。新冠肺炎在全球蔓延,国际社会携手抗疫,共同打造人类卫生健康共同体;中国打响疫情防控阻击战,教育部下发“停课不停教、不停学”通知,网课一度成为主要教学方式;“六稳六保”惠民措施相继出台,复工复产有序推进,构建基于“双循环”的新发展格局,经济社会基本步入正轨;《中华人民共和国民法典》审议通过,意味着民事权利保障迎来全新时代;嫦娥五号的成功发射,将实现中国航天史上的五个“首次”;抗美援朝70周年,全国各地开展致敬抗美援朝老兵的慰问活动,以此表达对老兵最崇高的敬意和最真挚的祝福。2020年度中国媒体流行语记录了这一切。
虽然在昨天,@人民日报用20个创意词回顾了2020年,但作为年度“汉语盘点”活动重要组成部分,国家语言资源监测与研究中心于近日发布的“2020年度中国媒体十大流行语”更概括也更具体。

图源 Pixabay
据了解,“2020年度中国媒体十大流行语”是基于国家语言资源监测语料库,利用语言信息处理技术,结合人工后期处理提取、筛选而获得的。语料来源于2020年1月1日至11月底国内15家报纸、12个电视台和7个电台的节目、2个门户网站,数据规模10余亿字次,代表了中国主流媒体的关注焦点。
在今年发布的十大流行语依次为:有新冠肺炎、抗疫、复工复产、民法典、网课、双循环、人类卫生健康共同体、抗美援朝70周年、六稳六保、嫦娥五号。
然而,在全民回忆这一年新闻的同时,有不少嗅觉灵敏的商家早已将部分流行语被注册为商标了。

2019年底,不明原因的病毒性肺炎疫情出现。2020年1月9日,这种病毒性肺炎病原体被初步判定为新型冠状病毒,媒体开始使用“新型冠状病毒肺炎”,简称“新冠肺炎”。2月11日,世界卫生组织宣布将新型冠状病毒感染的肺炎命名为“COVID-19”。新冠肺炎在世界蔓延,给全球经济、社会生活带来深刻影响:不少企业停工停产,旅游等服务业受到严重冲击;新的工作和生活方式不断出现,社会面貌加速改变。
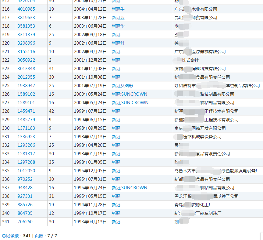
截至目前,没有人申请与“新冠肺炎”商标注册。不过“新冠”两个字以及包含有两个字的组合,却已经被很多人注册成商标。
蜗牛纳通过查询,目前共有了341件带有“新冠”二字的商标。商标申请来自各行各业,如食品、商贸、化工等,但商标服务类别与此次病毒之间并没有什么关系。并且从申请时间上判断,申请时间早于疫情爆发,应该是早期基于使用目的申请注册,而不是为了蹭此番热度而提交申请。

商标的可注册性审查判断,绝大多数情况下都是以商标提出注册申请的时间点来审查。例如是否构成抢注,是否侵犯他人在先权利,是否复制、摹仿、翻译他人在先驰名商标,都是以申请日期为界限,判断在先权利是否成立,以及商标申请注册行为是否违法。
按此标准,疫情爆发前的“新冠”二字本身并无不良影响,或者不存在其他损害他人在先权利或公共利益的情况,所以这类商标的申请注册行为并不违法。
也就是说,那些最早申请的“新冠”商标只要是有效注册商标,那么即便在疫情期间使用这些商标也不会被行政处罚。倘若被他人提出无效宣告申请了,也无明确法律依据及先例确认曾经不具有不良影响的商标在因注册后,根据社会客观情况及相关公众的认知发生变化就变成违法商标吧?毕竟在多年前,没有人会将含义积极的“新冠”与“新型冠状病毒”联系起来?
顺带说下,新冠肺炎的“冠”字是念guān而非guàn。新冠肺炎的病毒由于长得像帽子或在顶上的东西,比如皇冠、鸡冠、花冠等,故而拼音为guān;而疫情之前的冠(guàn),有冠军、夺冠等意思,并没有不良影响。
当然,疫情爆发后还申请相关商标的,基本上都不予通过。

此外,蜗牛纳还注意到全国有上千家企业名称中带有“新冠”二字,由于这些名称在此次疫情之前就已长期使用,所以并不会因疫情改名。

2019年底,新冠肺炎疫情出现并逐渐蔓延,疫情防控阻击战在全国迅速打响。党和政府汇集全国资源,采取最全面、最严格的防控举措抗击疫情;医护人员纷纷请愿,奔赴一线;建筑工人夜以继日,努力奋战,用时13天建成雷神山医院;广大民众积极配合,佩戴口罩,减少外出和聚集成为生活常态。国际上,很多国家相互支援,合作抗疫,分享抗疫经验,为全球公共卫生安全作出各自的贡献。
通过商标检索结果来看,目前总共有53件“抗疫”商标注册的申请。除了还在审查阶段没有具体信息的商标外,包括最早在2003年的“抗疫”商标,均无一件注册成功。

同样,“战疫”商标也没几个显示注册成功。

可想而抢注这类名称商标,必然会在社会上引起强烈的负面影响,不仅行为本身违法,而且会为群众所不齿。

2020年2月3日,中央提出“要在做好防控工作的前提下,全力支持和组织推动各类生产企业复工复产”。全国各地陆续吹响复工复产号角,因疫情按下“暂停键”的中国经济逐步重启。3月4日,中央强调“根据疫情分区分级推进复工复产”。4月8日,中央首次提出“全面推进复工复产”,复工复产按下“快进键”。4月17日,中央政治局召开会议,指出“全国复工复产正在逐步接近或达到正常水平”。
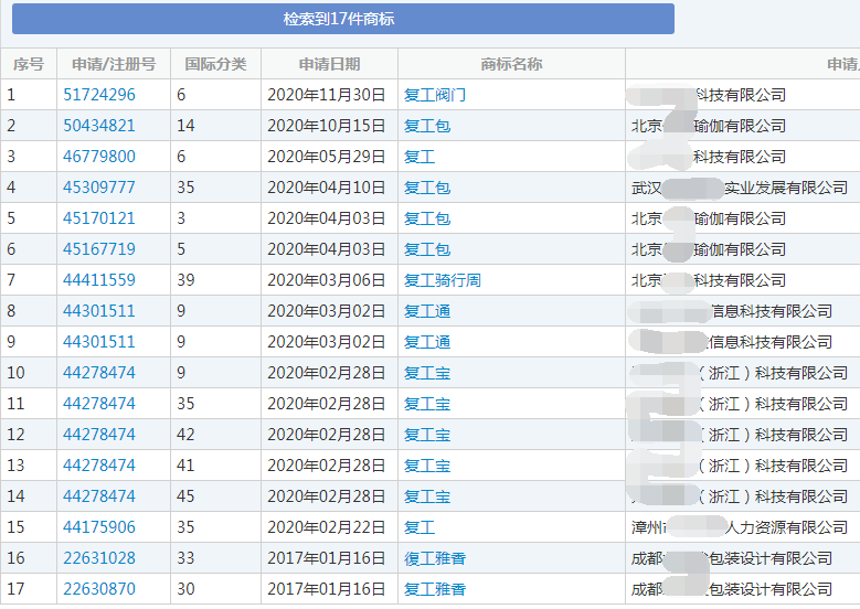
通过商标检索结果来看,目前还未显示关于“复工复产”商标的注册申请信息。不过若我们将这个流行语拆开搜的话,能看到有17件“复工”相关的商标注册,从疫情爆发后申请的商标来看,除了少数尚等待实质审查的外,其他均已被驳回或处于无效状态。

虽说有人申请“复产”相关商标,但看样子与恢复(工作)生产的意思不一样,因此蜗牛纳就不放截图了。

2020年5月28日,十三届全国人大三次会议审议通过《中华人民共和国民法典》,自2021年1月1日起施行。这是新中国成立以来第一部以“法典”命名的法律,是目前最长的、拥有法律条文最多的法律,开创了我国法典编纂立法的先河,对推动国家治理体系和治理能力现代化,推进新时代改革开放和社会主义现代化建设,具有重大深远意义。
其实在商标检索平台搜“民法典”之前,蜗牛纳就觉得应该不会有哪个申请人不长眼将其作为商标注册吧。果不其然,搜索结果显示为0,看来再黑心的商人,也不敢打《民法典》的主意呀!
虽然商标圈里没有这个词语,但我们可以看看《民法典》中与知识产权相关全部条款(含商标注册)的内容。
点击下方文字即可回顾原文:
民法典2021年1月1日起施行,知识产权是否单独入“典”引热议!

2020年1月底,面对新冠肺炎疫情的复杂严峻形势,教育部下发通知,要求2020年春季学期延期开学。为保障“停课不停教、不停学”,各级教育部门紧急动员,协调开放线上优质教育资源。与此同时,大中小学纷纷将课堂搬到网上,开启网上课堂模式。网课一度成为师生交流主要途径,上网课成为疫情防控形势下的教学新常态。
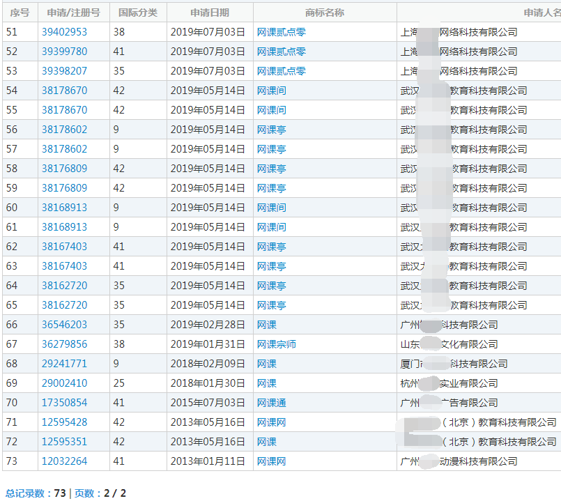
目前关于“网课”商标的申请记录有73项,原来在2013年就已经有公司申请注册了呢。

这大概是最早吃螃蟹的人吧,估计那会儿大家也没想到,有一天会如此需要通过网课来学习知识。

2020年5月14日,中央首次提出“构建国内国际双循环相互促进的新发展格局”。5月下旬的“两会”期间,习近平总书记再次强调要“逐步形成以国内大循环为主体、国内国际双循环相互促进的新发展格局”。十九届五中全会通过《中共中央关于制定国民经济和社会发展第十四个五年规划和二〇三五年远景目标的建议》,将“加快构建以国内大循环为主体、国内国际双循环相互促进的新发展格局”纳入其中。构建基于“双循环”的新发展格局是党中央在国内外环境发生显著变化的大背景下,推动我国开放型经济向更高层次发展的重大战略部署。
如下图所示,目前申请“双循环”商标的仅有10件。

除了第10类、第11类的“双循环 SPV-II”和第9类的“双循环”商标注册失败外,其余商标均处于待实质审查状态中。

2020年3月21日,习近平总书记致电法国总统马克龙,首次提出“人类卫生健康共同体”这一理念。此后,习近平总书记在向多国领导人就新冠肺炎疫情致慰问电时发出“打造人类卫生健康共同体”的倡议与主张。5月18日,习近平总书记在第73届世界卫生大会视频会议开幕式致辞中正式提出共同构建“人类卫生健康共同体”的中国主张,呼吁共同佑护各国人民生命和健康,共同佑护人类共同的地球家园,共同构建人类卫生健康共同体。
真是在蜗牛纳意料之中,或许是因为这个流行词太长了,因此目前无一人将其申请为商标。
反倒是之前的“人类命运共同体”,倒是有11项相关商标注册的申请记录。

当然,这些商标没有一件注册成功。这不是很意料之中的结果么,假如让某个企业将商标印在自家产品上,那它可以说是中央出品??
可拉倒吧,在操场上运动的时候喊喊口号还差不多。

2020年是中国人民志愿军抗美援朝出国作战70周年。回望70年前,为保卫和平、反抗侵略,中国毅然作出抗美援朝、保家卫国的历史性决策,中国人民志愿军高举正义旗帜,雄赳赳,气昂昂,跨过鸭绿江,同朝鲜人民和军队一道,舍生忘死、浴血奋战,创造以弱胜强的战争奇迹,为世界和平和人类进步事业作出巨大贡献。抗美援朝战争的伟大胜利,是中国人民站起来后屹立于世界东方的宣言书,是中华民族走向伟大复兴的重要里程碑,对中国和世界都有着重大深远意义。
目前只有3件与“抗美援朝”商标相关的注册信息,最早及最晚注册“抗美援朝纪念馆”商标的申请主体是抗美援朝纪念馆(丹东市博物馆),现下于今年9月11日的尚处于待实质审查状态,但在2008年5月5日申请的已注册成功,国际分类均为第41类。

至于以个人名义申请注册在第33类的“抗美援朝血骨铸尊”商标,则已经被驳回申请。

“六稳”是指稳就业、稳金融、稳外贸、稳外资、稳投资、稳预期工作;“六保”是指保居民就业、保基本民生、保市场主体、保粮食能源安全、保产业链供应链稳定、保基层运转。2018年,面对复杂的内外部经济环境,中央经济工作会议首次提出“六稳”方针。2020年4月,在突如其来的疫情冲击、外部不确定性持续上升的情况下,中央又提出“六保”新任务。“六稳”是大局,“六保”是前提。从“六稳”到“六保”,体现了稳中求进、危中寻机的战略定力;彰显了稳住经济基本盘,兜住民生底线的深刻内涵。
没有“六稳六保”,虽说也许还没企业想起来将它作为商标使用。不过也许是为了避免被驳回吧,因此已经有企业申请注册了“六稳”商标,截至目前只有4件。

不过从前三个商标注册全被驳回的状态来看,正待审查的第28类商标可能同样无法注册成功。
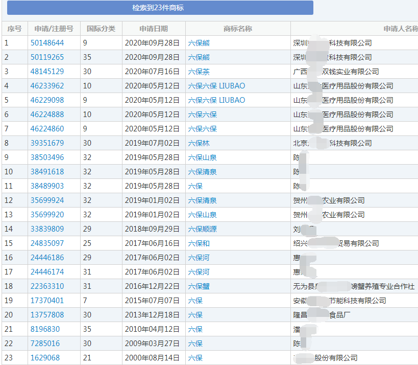
相反,注册“六保”商标的企业比较多,目前已有23项相关商标的申请记录。

鉴于“六保”是央视在今年4月份时提出的新任务,再看那个时段后申请的商标,怎么着也和居民就业、基本民生、市场主体、粮食能源安全等方面无关吧,
所以,这些商标很大概率是“如有雷同,纯属巧合”。

2020年11月24日,长征五号运载火箭携嫦娥五号月球探测器发射升空,开启我国首次地外天体采样返回之旅。12月1日,嫦娥五号成功着陆月球预选着陆区,并传回着陆影像图。12月2日,嫦娥五号完成月球钻取采样及封装。这是我国探月工程第六次任务,是“绕、落、回”三步走整体规划的收官之作,是未来月球探测的奠基之作。嫦娥五号任务的顺利完成,将有望实现中国航天史上的五个“首次”:地外天体的采样与封装;地外天体的起飞;月球轨道交会对接;携带样品高速地球再入;样品的存储、分析和研究。
毕竟是刚“出生”不久的新词,因此蜗牛纳并未在商标局检索平台上搜索到与此相关的商标注册信息。
当然,“2020年度中国媒体十大流行语”的热度会让商人们发现这个词有抢注的价值。就是不知道商评委是否觉得这个流行语不合适作为商标使用呢?
那就得看商标本身是否缺乏显著性或是对社会造成不良影响等因素,否则会被商标局驳回,从而导致商标无法正常注册。
好了,以上就是蜗牛纳目前搜索到的“2020年度中国媒体十大流行语”商标信息。
说起来,此前还有过“2020十大流行热词”的话题呢,瞧着更有意思一些,有时间蜗牛纳安排一篇出来给大家看看,在2020年最后的十几天里来个大盘点吧。





