

vivo起诉vivi商标侵权,获赔123.5万元!
发布时间:2020-12-21近年来,国产手机品牌强势崛起。在一众国产手机品牌中,除了华为、小米之外,vivo的表现一直都很可圈可点。据了解,VIVO创立于2009年,其总部维沃移动通信有限公司(以下简称维沃公司)位于广东省东莞市。经过多年发展,VIVO已成为国内外知名手机品牌,和华为、小米、OPPO并称为国产手机四大巨头。

图源 VIVO官网
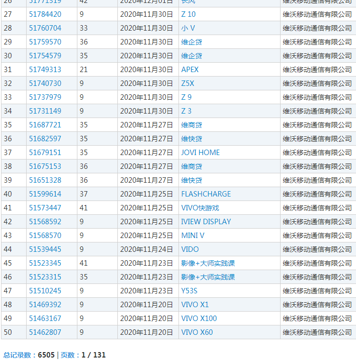
作为国内首屈一指的科技大厂,维沃公司十分重视品牌保护工作。我国商标官网数据显示,截至目前,维沃公司的商标申请量已达6505件,包括“iQOO”“VIVO”“维沃”“小 V”“蓝胖小V”“JOVI”“蓝厂”等商标,涵括多个类别,且大部分已注册成功。

值得一提的是,维沃公司于2011年7月27日申请注册的第9773708号“VIVO”商标,核定使用商品范围为变压器(电)、导航仪器、电传真设备、电话机、电子信号发射机、电子信号发射器、内部通讯装置、手提电话、天线 、荧光屏,有效期2012年09月21日至2022年9月20日,该商标曾被认定为驰名商标。

后来为了防止他人傍名牌,维沃公司还申请注册了“VJVO”、“VIVQ”、“VIUO”、“UIVO”、“VIVD”、“V1VO”、“VIVP”、“VIVB”、“VIVA”等一系列防御商标。

按理说,维沃公司为保护自家注册了那么多商标,应该不会有公司连商标查询这种事情都不做,就盲目注册和VIVO差不多的商标吧?
咳,还别说,深圳某公司确实注册了那种让消费者一眼看去就很像“VIVO”品牌的商标。
原来深圳市某通电子科技有限公司(以下简称某通公司)不仅将其生产的手机产品命名为“VIVI”,还申请注册了“ViVi”商标(见下图),此外又注册了域名为“vivi-china.com”的网站,并宣传使用了“VIVI”作为商标及品名的手机产品,同时在某宝网通过数十家店铺进行大规模的宣传和销售

而深圳市某讯科技有限公司(以下简称某讯公司)则在某宝网上注册名为“某讯科技”的店铺,通过该店铺销售多款被告某通公司生产的使用了“VIVI”作为商标以及品名的手机产品,并且销售数额巨大。
维沃公司发现此事后,认为这两家公司有大规模恶意攀附、搭便车的行为,严重侵犯了其对第9773708号“VIVO”注册商标享有的专用权,并给其造成了巨大的经济损失。
2019年,维沃公司以商标侵权为由将某通公司、某讯公司起诉至深圳市福田区人民法院(以下简称福田法院),要求这两家公司停止侵权并连带赔偿其经济损失500万元及相应维权合理开支。

图源 福田法院
直到近日,福田法院在vivo状告vivi手机商标侵权纠纷案件中,适用惩罚性赔偿机制,对侵权人按照获利金额的三倍确定赔偿数额。
经审查,法院认为:
一、被告某通公司未经原告许可,在手机上使用与原告第9773708号(图1)注册商标近似的“vivi”标识(图2),侵犯了原告的注册商标专用权。
二、被告某通公司在其官网域名中使用的“vivi”字母为普通的英文字体,与原告第9773708号(图1)注册商标的字母不完全相同,而与其自有的第23108311号(图3)注册商标字母相同,系对其自有商标的合理使用。原告主张被告某通公司使用域名“vivi-china.com”侵权其注册商标专用权,理由不成立,法院不予支持。

图源 福田法院
三、本案中,被告某讯公司销售的两款vivi手机,使用了图2及图4标识,上述标识与原告第9773708号(图1)注册商标近似,属于侵犯原告注册商标专用权的商品。被告某讯公司未经原告许可,销售被控侵权产品,亦侵犯了原告的注册商标专用权。某讯公司虽提交了《商标注册证》《品牌授权书》等证据,但并不足以证明其销售的涉案手机具有合法来源。
四、被告某通公司生产、销售、宣传使用了带有图2标识的手机,某讯公司销售使用了图2及图4标识的手机,均侵犯了原告的注册商标专用权,应停止侵权。
两被告还应对其实施的侵权行为分别承担赔偿责任。另外,由于现有证据不足以证明某讯公司销售的侵权产品来源于被告某通公司,原告要求两被告承担连带赔偿责任,法院不予支持。
关于赔偿损失的金额问题。法院经审理确定被告某通公司生产、销售vivi手机的获利金额为34.5万元(月利润1.5万元×23个月)。考虑到原告注册使用的图1商标具有较高知名度,而被告某通公司使用与原告商标图1极为相似的图2标识,其攀附原告商誉、造成消费者混淆的主观恶意明显,其生产多个型号的vivi品牌手机,积极宣传,销量较大,侵权情节严重,原告提出对其判令惩罚性赔偿,法院予以支持。
另查明,被告某讯公司销售vivi手机的交易金额已达95万余元。
一、被告某通公司应立即停止侵犯原告第9773708号注册商标专用权的行为,即立即停止在网站“www.vivi-china.com”宣传带有图2标识的手机产品,停止生产、销售带有图2标识的手机产品,去除库存侵权产品上的侵权标识;
二、被告某讯公司应立即停止侵犯原告第9773708号注册商标专用权的行为,即立即停止销售带有“VIVI”标识的手机产品,去除库存侵权产品上的侵权标识;
三、被告某通公司应于判决发生法律效力之日起十日内赔偿原告经济损失103.5万元及为制止侵权行为所支付的合理开支10万元;
四、被告某讯公司应于判决发生法律效力之日起十日内赔偿原告经济损失20万元及为制止侵权行为所支付的合理开支2.6万元。
宣判后,虽然被告某通公司不服提出了上诉,但深圳市中级人民法院对此作出了终审判决:驳回上诉,维持原判。
目前,该判决已生效。

图源 PIXABAY
时至今日,仍有很多山寨机在外观上模仿苹果、华为、小米、OPPO、vivo等知名品牌畅销机型,然后取一个极易令消费者混淆的品牌名称,再仿照个与某品牌LOGO的相似字体,这样他们就能以几百块的价格将山寨手机推销出去。
也幸好VIVO的品牌公司成功将“VIVI”商标无效宣告了,否则会有更多对手机数码品牌不太了解,或是贪图小便宜的消费者上当受骗。
当然,有的消费者可能不以为然,买个山寨机顶多让品牌公司无钱可赚,并不会影响到自己什么。但实际上这种以欺骗、虚假的形式进行销售的山寨机除了会削弱正规品牌创新的积极性以外,在质量方面也没有保障。
因为在认证手机质量时,最重要的标准是手机电磁辐射对人体的健康安全性。如果不能达到此项标准,性能再好的手机也不准出售。使用劣质手机令用户大脑周围的电磁波是空间电磁波的4-6倍,少数劣质手机产生的电磁波超过空间电磁波的100倍,这样的手机对用户健康影响巨大。
此外,用户的隐私也得不到保障。并且由于山寨机很难提供“三包”凭证,也无任何售后质量保障及使用保障,因而消费者购机后的售后服务和维权之路也会变得异常“坎坷”。
此次VIVO的“打假”给同行们打了个样儿,在注册好相关商标后,还应密切关注国家知识产权局等权威信息发布,对涉嫌“碰瓷”自身品牌的“问题”商标,及时提出异议或者无效宣告的请求;而对于傍名牌商家生产、销售山寨机的行为,要坚决将维权打假进行到底。





