

秋天的第一杯奶茶又来了,听闻去年抢注的商标被驳回了?
发布时间:2021-08-10不知不觉,我们在8月7日这天迎来了今年秋天的第一个节气——立秋。时间过得可真快啊,暑气尚在,就已是秋天了。自此,大自然将渐渐褪下繁荫浓绿,呈现闲云野鹤的自然色。
虽然按照气节,我们已经正处于秋季,但立秋并不意味着酷热天气就此结束。因为今年的“立秋”恰在“中伏”末尾,秋后本就还有一伏,再加上我国地域辽阔,“立秋”后一段时间大部分地区仍可能处在炎炎夏日当中,人们还要当心“秋老虎”发威。
也就是说,立秋之后,闷热还将持续陪伴我们一段时间。
这么热的天儿想必会消瘦不少吧?因此很多人在立秋这天贴秋膘,吃饱喝足后还要比一比体重,看立秋这天和夏初那会儿有什么变化。
然而在现实中是这样的,很多人都先点个秋天的第一杯奶茶。毕竟奶茶里有大量糖分,从另一方面来说,也算是贴秋膘了。

图源 Pixabay
想不到吧?在去年就很流行的秋天第一杯奶茶的这个梗,今年它又来了!人人都迫不及待成为那个秋天里有亲友给自己第一杯奶茶关怀的人,更有甚者,可能会一下收到好几个:来自爱人的奶茶红包,来自朋友的实物奶茶,来自乙方公司的“秋天奶茶红包”。
这里可以看到的是,相比于去年,人们开始更加认真而正式地对待“秋天里的第一杯奶茶”。除了收奶茶红包、实物奶茶,发布搞笑图片来自嘲的网友变得少之又少。
蜗牛纳发现,这个梗之所以会再次被激活,可能跟“跳水女皇”郭晶晶有关,她给同是东京奥运会跳水裁判的陈若琳做了一杯奶茶,然后陈若琳于立秋当天的早上在自己官方微博上晒出相关照片,并延用了去年的热梗:“秋天里的第一杯奶茶”。

可以说,今年立秋刚好遇上东京奥运会,又恰逢奥运明星喝奶茶,轻而易举地唤醒了人们对立秋第一杯奶茶进行“心意消费”的热情。
不得不说,人们晒秋天第一杯奶茶的行为,也唤醒了蜗牛纳对这一流行词被抢注为商标的好奇。真的很好奇,一年之后,相关商标已经用起来了吗?
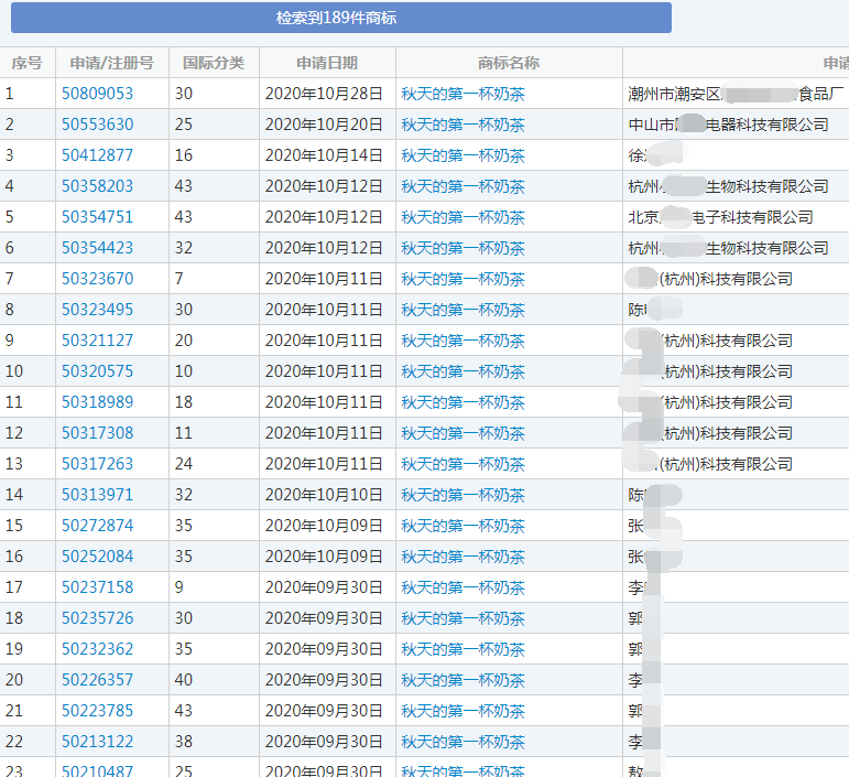
截至目前,共有189件“秋天的第一杯奶茶”商标,最晚的申请日期为2020年10月28日,概括了第10、11、24、25、29、30、32、35、43等多个商标类别。其中,以奶为主的奶茶是属于第29类,而非奶为主的奶茶则属于第32类。

从最早于2020年9月23日申请注册的“秋天的第一杯奶茶”商标来看,已处于被驳回申请的状态。

根据企查查显示,还有3件相关商标的注册申请也遭驳回。

其余商标仍处于待实质审查状态,并没有一件是已注册成功。
除此之外,围绕着“秋天的第一杯奶茶”而产生的各种近似商标,例如“秋天第一杯奶茶”“冬天的第一杯奶茶”“秋天的第一桶奶茶”“夏天第一杯奶茶”“春天第一杯奶茶”等等,这些都是在去年申请注册的,然而有不少被驳回了。

嗐!秋天的第一杯奶茶怎么这么难申请呀,如此不好搞干脆换别的字算了,比如冬天的第一顿火锅?

虽然跟奶茶没有什么关系了,但去年同个时段申请注册的,可能会让商评委联想到秋天奶茶的梗。再加上这种商标缺乏显著性,可能也不会予以通过。
若想要提高注册商标的通过率,或许可以参考奈雪的操作。比如他们申请注册的“奈雪秋天第一杯”。

和其他“季节+(的)第一+XX”的商标组词不一样的是,奈雪将自己的品牌名称放在了开头,组成了“品牌+季节+第一+XX”。毕竟“奈雪”本身就是商标,具备显著性。
众所周知,商标最基础的特征就是要有显著性。一些网络流行语自身原本就不具有显著性,而一些具有显著性的词语也由于被广泛传播和很多运用而失去显著性。
根据我国《商标法》第九条规定:“申请注册的商标,应当有显著特征,便于识别,并不得与他人在先取得的合法权利相冲突。”
若注册的是其他商标,如“红豆奶茶”仅直接表示指定使用商品的主要原料;“一斤奶茶”仅直接表示指定使用商品的数量;“第一杯奶茶”属于仅直接表示其他特点。这些显然是无法起到区分商品来源的作用,也不便于在消费群体中将这些特定的商户与其他同业者进行区分。
说白了,“秋天第一杯奶茶”属于描述性商标,非臆造性商标,与商品或服务关联性较强,因此显著性并不强。如果该商标申请类别为食品、饮品等,将因“奶茶”名称的使用而降低其显著性;如果该商标申请类别为非食品、饮品类别,则具备一定程度的显著性。
除了很有奶茶味儿的流行词语外,一些低级恶俗、带有嘲讽和恶意之意的网络流行语,以其当作商标同样不妥,并违背了《商标法》第十条第一款第(八)项的规定。
本来嘛,网络流行用语是快餐文化的一种表现形式,热点没了就容易“过气“;而商标则是企业的形象标志,是企业长期发展的一种无形资产,要经得起时间的沉淀跟考验。虽然现在还流行着“秋天第一杯奶茶”,但没有谁能保证往后每年都会在立秋之际玩这个梗。如果此类商标不再流行了,到那时申请人很可能要承担一些损失。
当然,从经济角度看,网络流行用语仍然存在着很大的商业价值,企业完全可以把这类词语当做营销手段来给企业增加效益。只是,蜗牛纳不建议随着网络流行语的改变而频繁更换商标,要知道这种行为完全违背了保护商标的初衷。
如果你希望自己的商标能蹭上热点,可以注册一件带有自己企业特点的商标。不过在此之前请先咨询专业的商标代理人,以避免因为商标注册申请被驳回,从而对产品未来的市场拓展产生影响。





