

iPhone 13出Bug不久,尚未申请商标的小米CIVI便强势登场!
发布时间:2021-09-26自iPhone 13在各平台开售后,几乎是瞬间便被用户抢完,这让苹果中国官网一度瘫痪,时间持续半小时以上,等苹果商店再次恢复,预定的送货时间已经延长至10月10日以后。
不过据说最近报道,部分消费者在iPhone 13的发售日当天,发现该手机存在Bug。
对此,苹果官方声明称,目前已确认的是备份恢复出现Bug。部分iPhone 13从备份中恢复到iPhone/iPad后,可能会导致小组件重置到默认状态。Apple Music也有可能受到影响,比如无法访问目录、设置,或者使用同步库。而可能出现该问题的设备,包括了iPhone 13系列、iPad (9th generation)和iPad mini (6th generation)。
另有媒体报道,iPhone 13出现的问题还有微距模式开关Bug。iPhone 13系列一旦打开微距摄影模式后,会遇到无法关闭的情况。
虽然苹果公司的每次新款发售时都会出现一些问题,但这对于果粉来说只是系统上的Bug,等官方更新修复就行了,所以该买还是会买。
因此,苹果每年在发布会上介绍iPhone的新产品,都会让中国的各大手机厂商连觉都睡不好,今年尤甚。如果没有强有力的狙击者,那么这一市场份额将进一步扩大。也难怪众多网友会认为王守义说得对,苹果就是十三香!

尽管iPhone 13的人气很高,但各大手机厂商的胜负欲更强了,准备在下半年的市场战中大展拳脚。有的会通过涨价来争取高端市场份额,有的会推出契合高端人群消费观的新品牌,也有的会做一些文章抬高自己的价值。
除了华为,还有哪家手机品牌在对上苹果时有一战之力呢?
在国内知名手机厂商中,营销能力最牛的绝对非小米莫属,或许是因为小米自带“流量属性”,所以关于该品牌的很多小事都会莫名其妙地异常火爆,从而成为了小米官方营销的噱头。
比如早在半年前有爆料称小米CC系列即将“复活”,并在年内推出新产品。然而米粉们等到现在也没等来小米CC系列,反倒等来了一个全新系列——小米 Civi。
是的,小米手机官方于9月23日正式公布了小米手机全新系列——Xiaomi CIVI,新品将于9月27日正式发布。

从小米曝光的图来看,小米Civi非常轻薄,看上去比小米11青春版的质感更好,颜值也和以前的小米CC一样高,就是不知道价格香不香了。
根据官方说法,小米Civi将会是小米手机全新的潮流系列,配以时尚多元的设计和创新的影像科技,可以说是CC两年的蜕变之作,脱胎换骨的全面进化。
据了解,小米CC是继数字系列、MIX系列之后,小米手机再出的一个新系列,同时这也是小米继2019年分拆红米品牌后,在手机业务上的又一大动作。分拆红米品牌解决了小米品牌走向高端的问题,而小米CC系列则是进一步向女性细分市场深耕。
为何后来又改名为小米Civi呢?可能是因为小米CC的商标申请被驳回的原因吧。
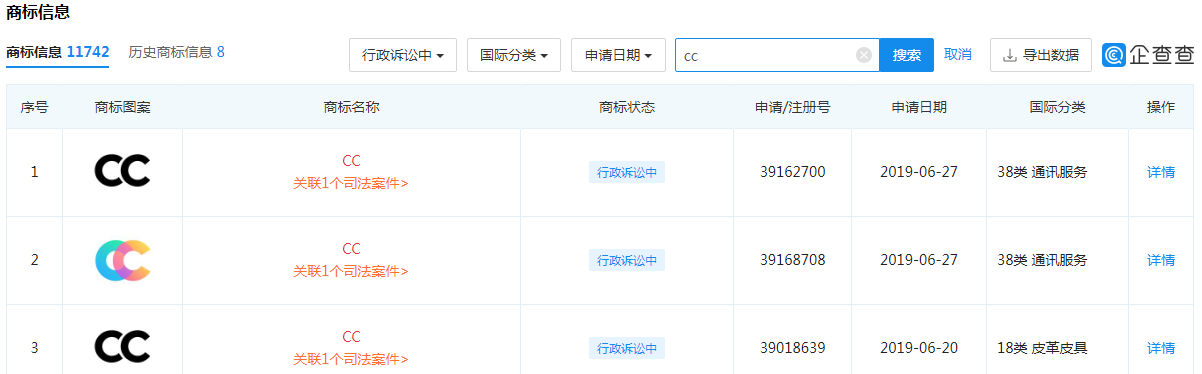
虽然小米科技有限责任公司早已在2019年5月21日向国家知识产权局商标局提交了“小米CC”商标的注册申请。但据企查查显示,小米注册的“CC”相关商标中,有3件“CC”商标状态为“行政诉讼中”,国际分类涉及第18类皮革皮具及第38类通讯服务。

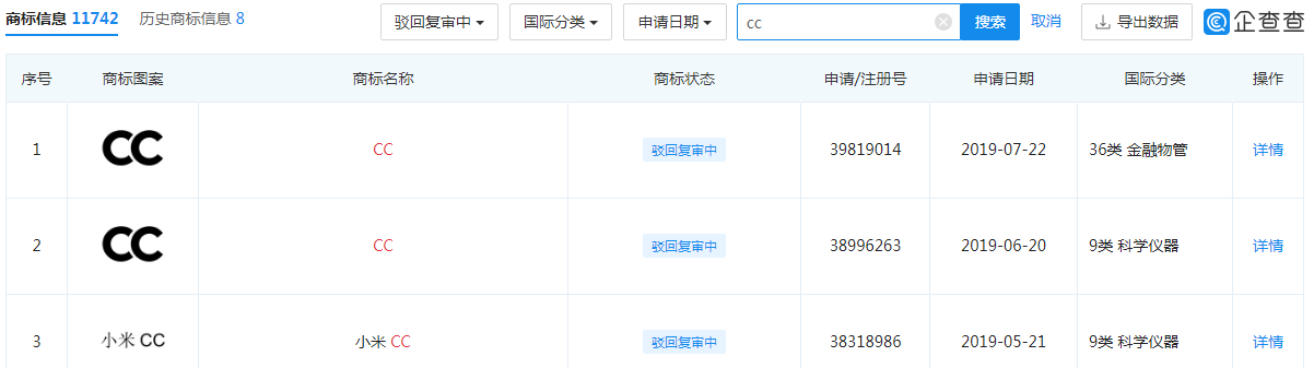
还有3件“CC”“小米CC”商标状态为“驳回复审中”,国际分类涉及第9类科学仪器及第36类金融物管。

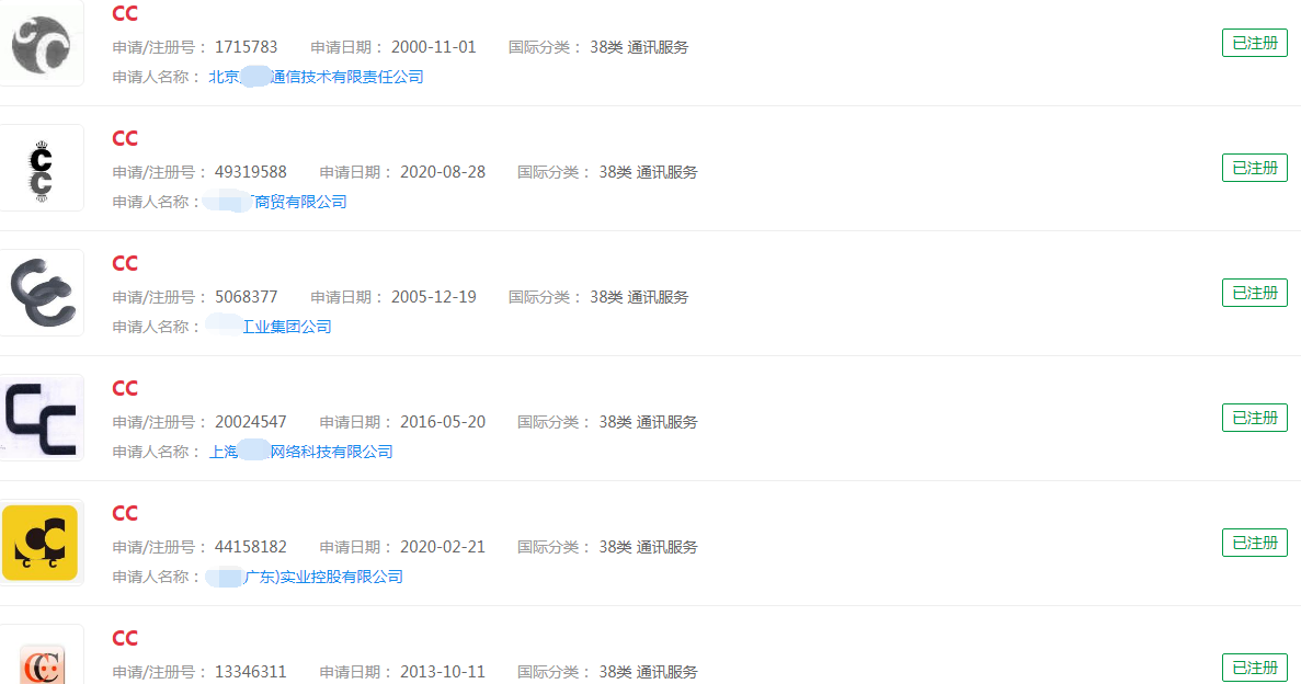
以第38类通讯服务的商标为例,通过企查查搜索,可以看到下图中已有公司早在200年将第38类的“CC”商标名称注册下来,且相同名称的商标注册成功的不在少数,其中不乏有和小米“CC”商标图形近似的商标出现。

想想小米近年来为商标打的官司,可以说是越打越憋屈。也许小米是担心商标官司打到最后仍以失败告终,所以才将CC更名为CIVI吧。
相关阅读:
小米“Mi PAY”商标终审败诉,华为的“HUAWEI PAY”有戏吗?
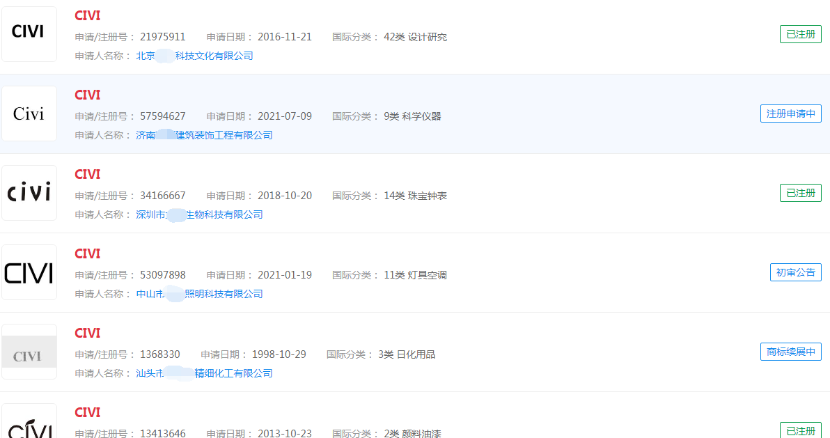
如果说因为商标问题,想宣传新品牌“CIVI”倒还能理解,但通过商标搜索,只看到其他公司申请注册“CIVI”商标的信息,却没有小米公司的。

也是奇了怪了,以前小米公司为保护“小米”“红米”商标,不是注册了大量“紫米”“黑米”“玉米”等等一系列防御商标么,怎么现在该公司在商标保护方面不再走心了?
相关阅读:
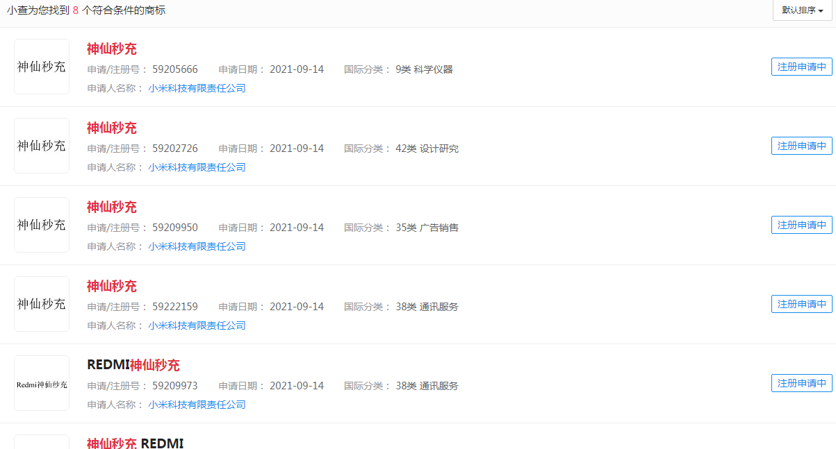
倒也不至于就此自暴自弃,要知道就在最近,作为目前拥有全球商用快充技术的小米手机,该公司为了进一步凸显自己的快充技术可以直接秒杀所有的友商,一口气申请了多件“神仙秒充”“REDMI 神仙秒充”等商标,并指定使用在第9类,35类,38类,42类等商品及服务上。目前商标状态均为商标申请中。

据了解,在全球范围内,小米是第一家实现无线充电首次突破百瓦大关的手机厂商,这一充电速度甚至要比苹果、三星的旗舰手机有线充电速度都还要更快,更猛,可见小米申请这个"神仙秒充"商标,确实也是底气十足,尽管这个商标名称听起来又土又俗气。
由此可见,小米公司的商标保护意识还是很强的。
至于不提前申请注册“MIX”“CC”“CIVI”相关商标的原因,那就剩下一种可能了:它们都并非小米品牌的核心产品,大概率是雷军用来试探广大消费者的新产品吧。
随着社会的发展,近几年各企业对于自己商标的保护已经越来越全面,大批商标侵权案例浮出水面,因此对于商标的全面保护也势在必行,也正是这些前车之鉴,让大家也越来越重视,就比如上述的“Mi PAY”“小爱同学”等商标侵权案不就给大家敲了警钟么?
所以蜗牛纳觉得,不管小米准备推出的小米CIVI是否为试水产品,应该及早做好相关的商标保护工作,而在开展品牌保护时,也应转换思路,通过多种手段和方式开展商标布局。这样一来,即便是遇到商标抢注、商标侵权或是构成近似等问题,都可以在第一时间处理好,避免因其他侵权人的效仿而导致企业的维权成本过高。





