

孟晚舟回国后网友喊话让华为注册商标,殊不知早已有人出手了……
发布时间:2021-09-272021年09月25日晚,在党和人民亲切关怀和坚定支持下,孟晚舟在结束被加拿大方面近3年的非法拘押后,乘坐中国政府包机抵达深圳宝安国际机场。当晚,孟晚舟一袭红裙,在深圳机场哽咽着说:“我终于回家了!”“祖国,我回来了!”“提前祝祖国母亲生日快乐!有五星红旗的地方,就有信念的灯塔,如果信念有颜色那一定是中国红!”

对于美国、加拿大是否会再找理由让孟晚舟回去接受审判的问题,孟晚舟的律师发表声明说:我很高兴孟晚舟女士与美国司法部达成了暂缓起诉协议,且该协议已获得纽约东区法院唐纳利法官的批准。根据该协议条款,孟晚舟不会被美国进一步起诉,加拿大的引渡程序将会终止。孟女士没有认罪,我们十分期待14个月后对她的指控将被完全撤销。
很多人可能不太清楚,为什么孟晚舟回国一事闹得全国皆知,甚至各大官媒争相报道?
这里先引用央视评论员杨禹评孟晚舟回国的话:“这是一场靠斗争赢得的重大胜利,这场胜利的取得是因为有党中央的坚强领导,有中国政府三年来的不懈努力,有14亿中国人民的鼎力支持,还有孟晚舟女士自己的顽强和坚韧等等。这场胜利,是中国人民的胜利!”
显然,孟晚舟代表的不只是一个中国公民。要知道“舔狗”加拿大为了帮美国打压华为公司,并逼华为公司就范,非法扣押了孟晚舟三年之久。所以孟晚舟代表的是华为公司、是中国企业、是整个中国。她能够回到祖国,不仅是华为公司的胜利,也是中国企业的胜利,更是中国外交的胜利!
这是中国对国外放出的一个警告:中国人不会再像以前那样默默接受不平等待遇了,如今的我们已经有骨气也有实力可以进行反击,因为每一个走在世界各地的中国人,其背后都有一个最坚实的依靠。
可以说,孟晚舟回国一事,是一个最难得的、活生生的、发生眼前的最好的爱国主义教育。这怎能不让各大官媒关注、报道呢?
蜗牛纳跟朋友们在群里聊天的时候,看到有人发了一段话:孟晚舟上了热搜也是非常知名的人物了,没啥名气的二女儿姚安娜都能有他爸帮着申请注册商标,这次还不赶紧再帮帮大女儿?
这位网友说的话让蜗牛安回想起任正非曾以华为公司名义申请注册“姚安娜”商标的事情。当时任正非的二女儿姚安娜(又名姚思为)已经宣布进入娱乐圈,发行了单曲,还成为了国内某款汽车的代言人。也许是担心二女儿的名字被其他商家拿去乱用吧,所以任正非才通过华为公司的法务部来注册。
只是这一行为很快引起了热议,其公司内部已经受到一些影响,而外界也因此对华为的好感度有所下降。对于此事,任正非表示他是第一次公权私用,而在事后也向全体员工道了歉。

于公,公权私用,按照公司内部的规则来说,的确需要给员工一个交代,而任正非独揽全责,那次道歉可以看得出他的诚意,以及对员工的尊重和敬意。有这么一个好的榜样在,也难怪华为公司这么多年仍长盛不衰了。
但于私,任正非作为一个爱女心切的父亲,又没有什么过错,他尊重姚安娜的所有选择,也会保驾护航,并为女儿遮风挡雨。同时,作为一个商人,任正非有自己的商业考量,或许认为这样做更能保护到女儿吧。
不过在今年8月份,华为公司申请注册的“姚安娜”商标中,有部分流程状态已经变更,由商标注册申请变更为驳回通知发文。

不论“姚安娜”商标能否注册成功,这个事情在我们外人眼里,顶多觉得任正非是太爱这个二女儿了。
然而比起姚安娜,大女儿孟晚舟可就没有这么幸运。
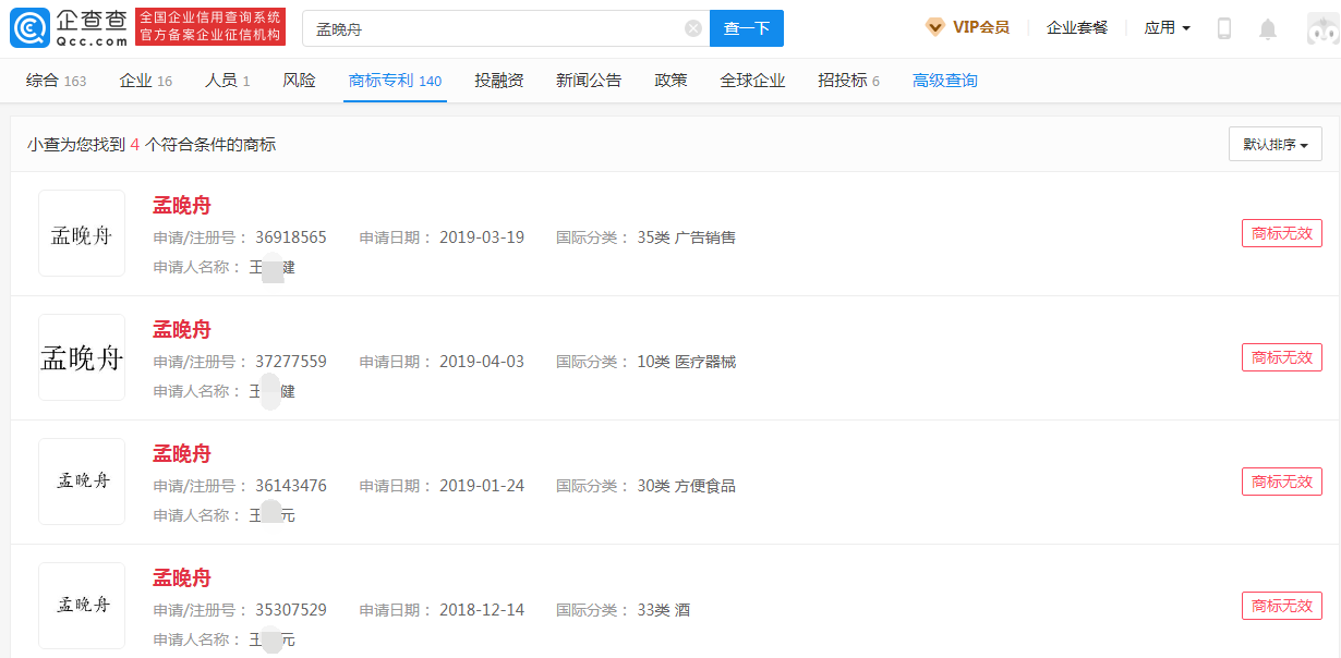
据企查查数据显示,“孟晚舟”商标早已被多人申请注册,国际分类包括广告销售、医疗器械等,商标申请日期在2018年12月-2019年4月之间。不过,这些商标申请均已被驳回,目前商标状态为无效。

“孟晚舟”商标被驳回在意料之中,因为申请人侵犯了知名人物的姓名权,此举甚至还可能会造成消费者的混淆误认。
那么换个名称,比如“梦晚舟”?
蜗牛纳通过企查查平台搜索了一下申请的相关商标,发现在2018年12月以后,有14件“梦晚舟”商标被申请注册,其中7件处于注册申请中的状态,5件已无效,余下2件申请成功。

这2件成功注册“梦晚舟”商标,分别涉及第33类的酒和第43类的餐饮,商标专用权日期都是2019-08-07至2029-08-06。
除了“梦晚舟”,还有“梦晚周”“梦碗粥”之类的谐音商标被他人申请注册。


不过大多数已处于无效状态。
毕竟国家知识产权局商标局在商标注册便利化改革政策解读中,曾提及要积极打击大量抢注名人姓名等他人在先权利行为。该种类型的恶意注册申请表现形式有:
1.恶意抢注与国家、地区或者政治性国际组织领导人姓名相同或近似商标的行为;
2.恶意抢注政治、经济、文化、宗教、民族等领域公众人物姓名的,足以对我国政治、经济、文化、宗教、民族等社会公共利益和公共秩序产生消极、负面影响的行为;
3.恶意抢注其他具有较高知名度的公众人物姓名,易导致相关公众误认为指定使用的商品或服务系经过该公众人物的许可或者与该公众人物存在特定联系的行为;
4.恶意抢注已故公众人物的姓名的行为。
对于以上恶意申请,审查阶段通常会根据不同情况进行驳回。由于本文主要讲知名人物的姓名商标,因此我们只针对这一点进行相关法律的科普:
抢注具有较高知名度的公众人物姓名,易导致相关公众误认为指定使用的商品或服务系经过该公众人物的许可或者与该公众人物存在特定联系的,适用商标法第十条第一款第(七)项的规定驳回。
另外,存在大量抢注名人姓名情形的,另以扰乱正常商标注册秩序,适用第十条一款(八)项进行驳回。
总之,这种为博噱头恶意抢注名人商标的行为是违法的。
可能就是因为孟晚舟的名字曾被抢注为商标,且最早的申请时间刚好是其在加拿大被捕的那一年,所以任正非才吃一堑长一智,及时出手抢注了姚安娜的商标吧。
到了现在,蜗牛纳算是理解到老父亲的爱女之心了。
谁让现在的商业活动越来越频繁了,而名人姓名的商业价值已得到广泛的认可,如果能找到合作共赢、树立品牌的有效方法,对名人自身、对全社会也都是有好处的一件事。
因此,目前有很多名人,尤其是艺人、文体明星、文化艺术界名人都在尽快将自身的姓名提交商标注册申请,以给予全面的保护并积极树立自己的品牌,这些举措应得到鼓励和保护。而对于恶意抢注名人商标、谋取不正当利益的行为,名人应积极拿起法律的武器维权。





