

潼关肉夹馍协会状告上百家商户侵权,是维权还是割韭菜?
发布时间:2021-11-25逍遥镇胡辣汤商标维权事件,经当地产业中心责令暂停,已偃旗息鼓:
河南多家逍遥镇胡辣汤店被起诉,原告:早已注册商标并希望接受协会统一管理!
随后又看到潼关肉夹馍协会打响肉夹馍商标维权战,并在全国发起几百起诉讼……
据河南广播电视台此前报道,11月21日,河南几十家小吃店的商户们求助称,他们卖的肉夹馍因带了“潼关”俩字,被陕西“潼关肉夹馍协会”告了,要求他们赔偿3至5万元不等,如果他们想继续使用“潼关肉夹馍”商标,需缴纳99800元。商户们表示,和他们有类似经历的小吃店,全国有上百家。

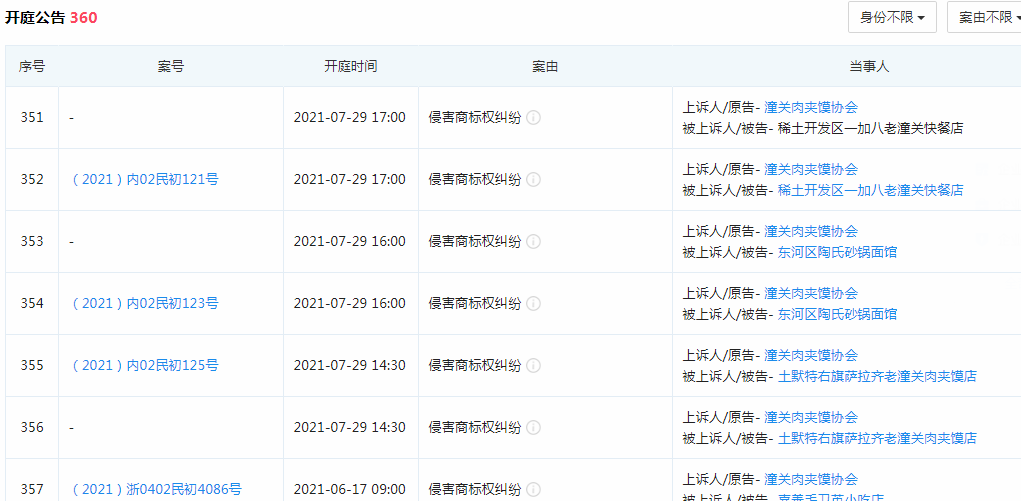
据企查查平台中的开庭公告信息显示,自今年6月,潼关肉夹馍协会以“侵害商标权”为由,将上百家小吃店、快餐公司等诉至法院,诉讼地域涉及内蒙古、河南、浙江、天津、贵州、广东、山东、上海等。

从商标信息来看,该协会共申请了13件,包括“潼关肉夹馍”“老潼关”。其中,仅有方便食品类的“潼关肉夹馍”商标完成注册,其余状态均为无效或等待实质审查。

此外,该协会多个名称也引发网友关注。其现用名为“潼关肉夹馍协会”,曾用名为“老潼关小吃协会”。
而疑似其官网显示,该协会2018年发布《关于对违规、违法、侵权新闻追责的声明》署名则为“潼关肉夹馍小吃协会”,印章仍为“老潼关小吃协会”。
此外,认证为该协会的微博名称为“潼关肉夹馍总部”。

不过目前潼关结案的几起案件,均以撤诉告终,假如这个协会胜了,以后兰州拉面、沙县小吃、山西刀削面等带有地名的餐饮店,会不会也被各地协会挨个起诉,甚至引发餐饮界有史以来的第一场大混战?
其实不论是潼关肉夹馍还是逍遥镇胡辣汤,当地协会所注册的商标均属于地理商标,该商标不能禁止别的组织和自然人正当使用。
何谓正当使用?
用现在争议较大的潼关肉夹馍举例说明。任何在城里、乡下的个人或团体开的餐饮店,都有权利使用“潼关肉夹馍”字样说明或描述自己的商品,甚至在陕西全省乃至全国各地,只要是潼关人开的店,也有权使用。
不过,即便不是潼关当地人,与这个地方也没有任何关系,并在在“潼关肉夹馍”为注册商标之前,就已经使用这些字的,潼关肉夹馍协会没有权利禁止其继续使用。
《商标法》第五十九条:注册商标中含有的本商品的通用名称、图形、型号,或者直接表示商品的质量、主要原料、功能、用途、重量、数量及其他特点,或者含有的地名,注册商标专用权人无权禁止他人正当使用。
《北京市高级人民法院关于审理商标民事纠纷案件若干问题的解答》第二十六条:构成正当使用商标标识的行为应当具备以下要件:
1、使用出于善意;
2、不是作为自己商品的商标使用;
3、使用只是为了说明或者描述自己的商品。
如果商标的独特性与社会公共需要的普遍性产生了冲突,根据商标的特性,应让位于公共利益的需要。这也与《商标法》的立法目的:保障消费者和生产者、经营者利益,促进社会主义市场经济发展相一致。
话又说回来了,你们不觉得逍遥镇胡辣汤协会、潼关肉夹馍协会的这种涉嫌敲诈手段,有点眼熟吗?
大家想一想,是不是与前几年那些图片公司差不多?就因为拥有不少图片的版权,于是到处发律师函、去起诉,而且还都是找规模不大的公司、商户或小自媒体,以维权名义“依法勒索”,最终逼得人家不得不赔偿几千、几万元块钱了事。
相关阅读:
有意思的是,协会让那些想继续使用地名的商户缴纳入会费,这种手段与图片公司要求使用者缴纳授权许可费是一样的,都是合法收取“保护费”。
自#卖肉夹馍带潼关俩字被告#话题上热搜并引发网友们的关注和热议后,潼关肉夹馍协会相关工作人员在接受大象新闻采访时表示,从2020年12月开始便面向全国维权,起诉的初衷是希望所有做“潼关肉夹馍”的商户都能加入协会共同发展。
而对于缴纳99800元费用的原因,对方给出的回答是:“这个是律师全权代理的,我们也不清楚。”
对于此事,陕西潼关县商业局工作人员也给出了回应:目前此事影响面较广,已经引起关注,潼关县政府相关领导正在和“潼关肉夹馍协会”的工作人员开会协商。
接下来商家们只能等有关部门的协商结果吗?与其被动等待,不如主动出击,商户们可以联合起来,反诉这些协会滥用商标法敲勒索的野蛮强盗行径!





