

雷军个人签名申请为图形商标,若作为文字商标注册还能用艺术字体吗?
发布时间:2021-11-29近日,据企查查显示,小米科技有限责任公司(以下简称小米公司)将雷军的个人签名申请为图形商标,国际分类涉建筑材料,申请日期为2021年11月16日。

这图形怎么看都不像雷军的名字,倒是有点像“Jex”“Lex”,当然也可能是连体字。不过对于很多没见过雷军签名的人来说,很难辨识出这是个什么图形。
虽然蜗牛纳用的是小米手机,也写过雷军的商标布局,但也没见过他的签名。
为了确定该商标是否为雷军本人的签名,蜗牛纳在网上找到了一张带有雷军签名的小米11图,将手机上面的雷军签名与商标中的签名对比过后,笔迹完全一致,确实是雷军手写签名效果。

据了解,这款在机身左下角印有金色雷军签名版的小米11,采用了独特的立体纹理玻璃后壳材质,首创玻璃表面热压纹理工艺,在视觉和触觉上都更加立体,能在不同光线下呈现多种颜色的渐变效果。
至于为何其他机型没有推出雷军签名版的原因,是小米公司为了回馈粉丝这么多年对小米的支持。
虽然采用了极其复杂的工艺,但是雷军依然坚持原价销售,这也贯彻了小米“价格厚道,感动人心”的价值观。而正因为小米11雷军签名版拥有独特的工艺,且价格厚道,导致了该版本完全供不应求,让许多喜欢的用户根本抢不到,甚至需要通过二手平台加价千元来购买。
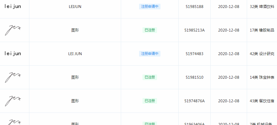
值得注意的是,这并不是小米第一次为雷军签名申请商标了,他们在去年小米11发布之前就已经陆续提交上百件相关商标的申请,其中不仅有雷军的手写签名图形商标,还有雷军的名字拼音“lei jun”。

从这些商标申请信息来看,小米公司对雷军的名字拼音商标和手写签名商标都是45类全类注册,可以说是进行了全方位的保护。
不过大家也别觉得小米公司注册雷军的名字拼音和手写签名商标,就代表他们将有新的动作,或是准备进军新的领域等等。其实小米公司此举只是一种防御性保护策略,为了能够有效预防和避免商标被他人抢注,因此才会全面完善相关的商标品牌保护体系。
并且对于小米申请雷军签名商标一事,小米公关部总经理王化也已经进行了回应:不要看到有新增的建筑材料分类就以为又有大新闻了,其实就是阶段性的补充申请。
也不知道在今年12月16日的小米新品发布会上,小米12系列手机是否会继续推出加量不加价的雷军签名版。
有人说将艺术字体申请为图形商标比较容易一些,但若想申请为文字商标就很难了,因为使用艺术字体的话可能会被驳回。
虽然《商标法》是不允许擅自改动注册商标的结构及外观,但在实际使用中,如外框、比划粗点、细点,或者圆形的角度,有些许差别是没有问题的。不过若申请人在注册时用的宋体字,而在实际使用中却用艺术化的汉字,这就不被允许了。
所以说,申请人在使用艺术字体做商标的时候,要注意规范地使用汉字,不要随便破坏汉字的结构。
《中华人民共和国国家通用语言文字法》明确规定:“公共服务行业以规范汉字为基本的服务用字。因公共服务需要,招牌、广告、告示、标志牌等使用外国文字并同时使用中文的,应当使用规范汉字。”
《商标法》第十条一款(八)项的规定:“有害于社会主义道德风尚或者有其他不良影响的标志不得作为商标使用”。而在《商标审查及审理标准》中进一步指出:“有害于社会主义道德风尚的或者有其他不良影响的”情况就明确包含“商标含有不规范汉字或系对成语的不规范使用,容易误导公众特别是未成年人认知的”情形。
在商标实践中,对于包含“不规范汉字”的商标通常会基于《商标法》第十条一款(八)项的规定而驳回,大致包含以下几种情形:
1、含自造字,易使消费者对其书写方式造成错误认知,产生不良社会影响。例如:支付宝在开展“集五福”活动时别出心裁创造的第22075541号“福”商标。该文字虽然凝聚了申请人对“集五福”活动的巧妙暗示,也十分具有创意,但该文字对于青少年对汉字“福”的正确书写方式误导性较强,最终被予以驳回,不得作为商标注册和使用。
2、含缺少或增加笔画的文字,造成汉字不规范使用,易使消费者对其书写方式造成错误认知,从而产生不良社会影响。例如:第18071355号商标“魔瞳”。该文字经过艺术化设计后文字缺少笔画,是不规范的写法,作为商标注册使用易产生不良社会影响,构成《商标法》第十条第一款第(八)项规定之情形,属于不应予以核准注册和使用的情形。
3、含共用偏旁部首的文字,易使消费者对其书写方式造成错误认知。例如:第7574651号“翡翠”商标。二字共用的“羽”字部分,容易造成汉字不规范使用,有不良社会影响。
4、过度艺术设计,改变了文字的基本结构,也易使消费者对其书写方式造成错误认知。例如:第14808883号“上坐”商标。“坐”字过度设计,与汉字中常用“坐”字的写法不同,属于不规范汉字,作为商标使用易扰乱规范汉字的使用秩序、误导青少年对规范汉字的认知。
看了上面的几个例子,可能会让大家觉得文字商标必须写得很规范,并且也不能有艺术化的设计。
所以,文字商标永远都不能加入自己的一些创意设计了?
别急,我们可以根据其他几个案例,看看如何将这种创意文字申请为商标。
有些申请商标中虽然包含“不规范汉字”,但是并不会造成消费者书写错误认知的,一般来说是可以作为商标进行使用和注册的。
1、文字的某一笔画呈图形化设计,不易使消费者对其书写造成错误认知的。例如第15725541号“开心熊”商标。虽然“心”字的中间一点被一个熊的图形所代替,但是整体并不影响消费者对其书写方式的正确识别和认知。
2、文字整体风格化明显,几乎可以视为纯图形商标,不易使消费者对其书写造成错误认知的。例如第37229943号“风 INS”商标。尽管所含“风”字笔画相连,非常规正确的书写方式,但是商标整体更接近于图形表现形式,不易误导消费者对其书写方式的错误认知。
3、文字的某一部分含设计元素但没有改变书写笔画,不易使消费者对其书写造成错误认知的。例如第14528961号“简约MEN”商标。其所含文字的偏旁部首“⺮”和“纟”部分进行了风格化设计,但整体上并没有改变书写笔画,导致消费者对书写错误认知的可能性较小。
4、申请商标中所含的“不规范汉字”实际上是繁体字、外文汉字、书法形式汉字等具有明确出处的情形,一般是可以作为商标进行使用和注册。例如:“1点点”注册商标。其中所含“點點”部分为繁体字,且该繁体字借鉴了中国汉字的传统书法表现形式。其部首“灬”在行书、草书等书法写法中大多是在底部覆盖住整体上方部分的写法,商标中所含“點”字并非自造字或不规范汉字,可以作为商标进行使用和注册。
看了这么多例子,对文字商标的申请应该已有所了解了。蜗牛纳考考你:雷军的个人签名商标能否成功注册为商标?





