“美国麻将”引发惹争议,网友提问该图案能否申请专利?
发布时间:2021-01-20还有二十多天,就是农历每年末最后一天的晚上,即大年初一前夜。每到这一天,家家户户都忙忙碌碌或清扫房屋,有的地方还会根据当地习俗迎祖宗回家过年,并以年糕、三牲奉祀。
不过住在城里的人就不能搞什么祭祀活动了,顶多在白天把家里家外打扫得干干净净,然后贴门神、春联、年画,再挂几个红灯笼;到了晚上,一家子吃完饭后掏出花生、瓜子等零嘴吃,一边看春节晚会一边聊家常。
如果觉得看春晚没意思,那就斗斗扑克、打打麻将、唱唱歌乐呵一下。若要说老少皆宜的游戏,大约是打麻将吧。这应该是流传最广、国民喜爱最多的国粹了。闲来无事时,可以打麻将消遣;朋友聚会时,可以打麻将娱乐;在春节期间打麻将更是流传最广的娱乐项目。
	
图源 PIXABAY
据了解,麻将起源于中国古代的博戏,到清代中期“马吊”发展成麻雀纸牌,即现代麻将的雏形。然而原先的纸牌抓拿不便,特别是在船上风大玩时极为不顺,于是麻将发明人陈鱼门在清咸丰年间结合纸牌和骨牌的特点,制成了流传至今的现代麻将。
当然,也有一些资料说麻将是冯梦龙发明的游戏,而他的发明初衷也是满足多人娱乐,又更具趣味。也有的说麻将是郑和发明的,只是为了让船员的心情高涨起来。似乎也有资料说是其他人发明的,只是没有确切资料证实是谁想出搓麻将的点子。
总之,作为千年国技,麻将运动在神州大地上可以说是随处可见,流行范围涉及社会各阶层、各领域,并且麻将文化也基本是家喻户晓、妇孺皆知。
再后来,麻将随着中国人的脚步走向全世界,各国人民则根据自己的聪明才智开发出了不少新玩法。不过再怎么玩,麻将上也有我们中国元素,因此很多国家的人一看麻将就知道这个游戏来自中国。
但最近,有一些外国人似乎要把我们的国粹,创新为他们当地的“特产”。
据《Inside Edition》报道,近日,有三位美国女子推出新式“美国麻将”引发热议。新式麻将用英文字母代替了中国汉字,抹去了中国元素,她们认为“更符合当下时髦人士的审美”。报道称,这款麻将售价325美元到425美元不等,每套都超过2000元人民币。
	
该系列麻将一经发布即遭网友强烈反对,有亚裔美国人称这一举动为“文化剽窃”。有华人认为,中国麻将历史悠久,不应被随意篡改。路易威登和爱马仕等奢侈品设计师也曾改造过麻将,但都保留了其传统样式。此事发酵后,新式麻将创始人道歉称,这只是为了激励新一代的美国麻将玩家。
不少网友得知此事,觉得这种“创新”非常不可思议:
	
蜗牛纳看到评论中有人问:创新个麻将图案,能申请专利?
发明和实用新型这块儿肯定是不能的,但麻将牌的外观到是可以考虑申请外观设计专利,将创新的部分,也就是正面的图案申请为外观设计专利,势必要审查其新颖性。可实际上这种专利就算申请成功了,其意义也不大,毕竟申请费用是一笔支出,而每年都要交相关保护费,如果专利卖不出去的话,那么这些钱就白交了。
那么麻将的打法能申请专利吗?
当然……不能!根据我国专利法第9条、第25条,游戏方法、计算方法等不属于专利保护的范围。
既然如此,给麻将桌改造一下总可以了吧?
自然是可以的,甚至已经有公司将他们发明的麻将桌给申请为专利了。
最早在专利文献中提到麻将的是法国CITY OF PARIS EXPORTATION-IMPORTATION 公司,于1925年申请了“一种用于麻将游戏的折叠桌”。想不到吧,我国麻将在这么早的时候就已经被外国人玩起来了。
有了手动折叠的桌子,自动安排麻将的设备还会远吗?
在上世纪70年代,日本申请了大量有关麻将的专利,其中KATAJIMA IWAZOU(个人)在1979年5月申请了“发送自动安排麻将的设备”,同年9月13日ISHIDA SANGYO KK公司申请了名为“自动麻将设备”和“自动麻将桌”的2件专利。
若要说我国何时才在这方面进行发明,那得是改革开放过后,在自动麻将机传入了中国之后,申请人倪建华于1998年围绕自动麻将机的叠推机构、整列定位、洗牌送牌机构申请了3件专利。
	
而这也是我国最早关于麻将机的专利申请。
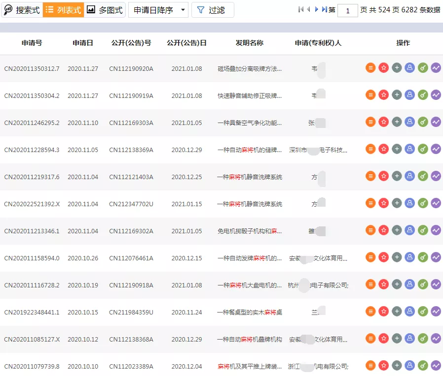
虽说比外国晚了许多,但自1985年我国设立专利法后直到现在,我国有关麻将的专利申请就有6000多件,已经是麻将第一大申请国了。
	
看到这么多我国企业和个人申请麻将相关专利的信息,蜗牛纳就放心了。
说起来,专利保护与打麻将有很多相似之处呢。
麻将和牌的要诀在于“跟上家、盯对家、挡下家”,即尽量不让他人和牌的基础上,让自己和牌。而在专利保护过程中,我们需要做的是利用情报跟踪来关注在先的专利权,以此防范竞争对手,避免“点炮”,同时争取尽可能大且稳定的保护范围,为竞争对手设置障碍,早早让达到让自己“和牌”的目的。
这么一看,是不是更能理解专利保护了?







