多地降雨量破历史极值,看大家如何用专利防雨!
发布时间:2021-07-13自入“三伏”,大雨与“桑拿天”相伴而来,多地遭遇入汛以来最强降雨,一些地方的降雨量甚至突破了历史极值。并且据气象部门预报,从7月11日到13日,华北、黄淮北部和东部、东北地区南部等地有大到暴雨,山西东部、北京西部和北部、天津北部、河北北部和中南部沿山一带,河南北部等地部分地区有大暴雨,太行山东麓局地特大暴雨。
此前,中国气象局召开7月例行发布会指出,中国东部主雨带已由长江中下游北抬至淮河流域,且今年华北雨季较常年降水量偏多,7月中旬后期至下旬前期,华北出现持续性强降雨天气可能性仍较大。
	
看来,这段时间北京各区要一直下雨,而雨天路滑、湿衣湿鞋,必然会给人们的出行带来诸多不便。那么,我们该如何消除不便呢?
这就要看各家技术了。蜗牛纳通过专利检索平台,在输入关键词“雨”后,看到有89308件与“雨”有关的专利,让我们来看一看这些专利是如何解决雨中难题吧。
在我们日常生活的经验中,所熟悉的雨具中雨裤和雨鞋多为分体式结构设计,且雨裤和雨鞋之间没有联系的中间结构,由于雨裤的肥大,人们常常需要将雨鞋的靴筒的顶端套在雨裤的底端外部,这就使雨水很容易的流进雨靴中打湿人的脚部。
针对现有技术中的问题,有公司提供了一种雨靴雨裤套装的实用新型专利。
	
利用雨靴和雨裤之间子母扣的结构设计,使雨靴雨裤在不使用时可以拆下收纳,在使用时可以将雨裤底端折叠并连接雨靴,避免雨水流入雨靴之中,影响雨靴的挡雨效果。同时在雨裤和雨靴内设置海绵垫,防止极少量的雨水渗入导致的粘连现象发生。
双肩书包是日常生活或旅行较为普遍使用的收纳袋体。但下雨时,人在前面打伞或者未打伞,背在背上的书包很容易因遮挡不全而打湿,大部分书包都采用布料制成,很容易透过雨水将内部物品弄湿。虽然有背包防雨罩,但存在功能单一的缺点。针对现有的技术存在上述问题,提供了一种具有改良防雨罩的双肩包的实用新型专利。
	
在雨天外行的情况下,取出并展开包体防雨罩,将其扣罩在包体外部,通过松紧带圈进行缩口紧固,以防止包体及其内物品被淋湿。另外可将帽体防雨罩取出并展开,将其戴于头部,以避免头部被淋湿。
婴儿车的使用在近年来已越来越为普遍,而对于其便利性亦有越来越高的要 求。此外,由于人们对于假日休闲及亲子互动关系越来越为重视,故使用婴儿车 以携载幼儿外出的机会也越来越增加。当然外出时难免有机会遇到下雨,此时婴儿车用雨罩便应运而生。
	
无纺布材质的顶部可以遮阳,防雨布材质的前部可以防雨,具有多功能性。顶部与前部分别设置3根弹性支撑杆,可以固定雨罩形状,防止雨罩贴合到坐卧于婴儿车内的婴儿身体上带来不适。遮阳顶部与防雨前部通过拉链活动连接,可以方便将婴儿抱入与抱出。遮阳顶部下方侧面设置有透气网,设置位置正好位于婴儿头部附近,可以形成空气流通,有利于婴儿呼吸新鲜空气。后围部设置的开口与系带,方便雨罩的安装与拆卸。整个雨罩结构简单,制作方便,通用性和实用性强。
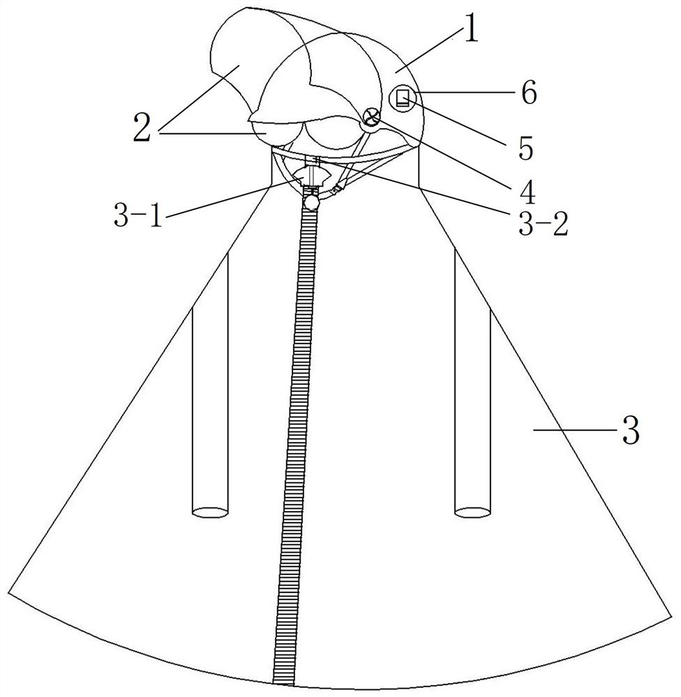
随着人们生活水平的日益提高,越来越多的人注重生活品质,尤其是体现在个人护理方面。目前,越来越多的人尤其是骑行电动车相对较多的女性用户特别注意四季防晒,之前她们直接穿戴带帽的防晒披肩即可进行简单防晒护理,但现今为进一步提升摩托车、电动自行车骑乘人员和汽车驾乘人员安全防护水平,有效减少交通事故死亡人数,公安部交通管理局部署在全国开展“一盔一带”安全守护行动。为此,骑乘电动车或摩托车出行的人员必须佩戴头盔,这导致人们不方便再穿戴传统防晒衣或雨披。因此,有人设计出一种结构简单、装拆方便、兼具头部保护和防雨防晒功能于一体的带晴雨两用服的头盔。
	
用户可根据自身需求选择单独使用或配合使用,产品灵活度高,用户根据自身脸型尺寸通过第一锁紧件调节上衣边松紧度至上衣边围设在脸上,使防雨防晒服与用户身体配合更牢固,提高防雨防晒效果,防雨防晒服采用防晒防水材质,可同时作为防晒服和雨披使用,兼具防晒、防雨功能,功能多样,拆装方便,简单便携。
不过,一般人出行还是会用到雨伞,毕竟打开收起也比较方便。那么到了目的地后,该怎么处理雨具呢?
雨天出行,雨伞是必备工具。随之带来的是雨伞携带问题,尤其在南方多雨地区的商场或者写字楼,一到下雨天,出入口地板全是雨伞滴落的雨水,容易出现摔倒等事故。现在普遍的方法是给雨伞套上一次性塑料袋,但是塑料容易造成大量白色污染,导致一系列的环境问题,所以现在国家也倡导不再使用一次性塑料袋。
针对以上所述问题,某工程学院发明一种多功用的智能烘干机。
	
该实用新型专利可以快速烘干雨伞,还增加了针对鞋底的烘干处理,另外又特别设置伞面紫外线灯带消毒方式和雾化手部消毒(疫情期间消毒功能使用频繁),这样不仅能解决雨水堆积地面的问题,还能快速做到进出公共场所便捷消毒;同时也可以根据天气和室内环境,通过手机App远程预约提前将家里消毒烘干,可推广居家使用。
如果以为宅在家里不出门就万事无忧,那可错了。
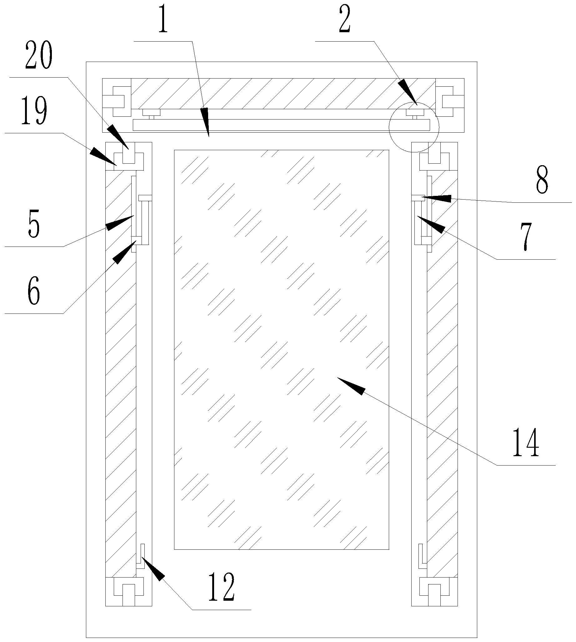
室内是遮风挡雨的地方,同时还需要通风和透光,因此需要在墙面上开窗口,将窗口内放置窗户。由于传统的窗户的打开方式,使得在下雨的时候,受到下雨的方向影响,容易从窗户开启处进入雨水,如果不打开窗户,室内无法通风。因此为了解决在下雨天开窗同时也不进雨的情况,设计一种雨天打开防进雨的窗户是很有必要的。
	
该发明包括条形窗框,所述条形窗框内设防进雨机构。有益效果是,一种便于在下雨天打开,同时下方通风,也便于防雨,安装比较方便的装置。
真是不搜不知道,一搜吓一跳,没想到居然有那么多非常实用又创意十足的专利,可见发明人为了让大家在雨天安全出行,真是费了不少心思。
如果你在防雨方面上有自己的奇思妙想,并想通过专利更好地保护技术创新,就找正规的专利代理机构吧。毕竟专利代理师更擅长和审查员打交道,也知道如何最大限度的保护你的权利范围!







