针孔摄像头可让百人在线观看,快用相关专利让偷拍无处遁形!
发布时间:2021-08-12以前,在宾馆里安装摄像头的人,只想通过这种偷拍手段满足自己的私欲。而随着科学技术的发展,越来越多的高科技出现,很多东西都做得越来越精致,便于携带。如今市场上出现了一种非常小的针孔摄像头,更加难以被人发现,于是被一些不法分子当成了牟利工具。
曾有警方破获的案例显示,有不法分子将针孔摄像头暗藏在酒店客房内,再通过分享APP邀请码,使他人获得观看权。针孔摄像头安装者往往以每个150元到200元的价格,将邀请码销售给下线代理,代理再层层加价进行分销,最终一个邀请码可卖到5、6百元,而每个摄像头可生成100个邀请码,供百人同时在线观看。
	
近年来,非法安装摄像头进行偷拍的行为越来越多,从贩卖偷拍设备、视频监控账号到出售偷拍视频,已形成黑色产业链,而偷拍视频在网上大肆传播、售卖,给受害者带来极大精神伤害,引发公众不安,造成公众心理恐慌。
但对于防止他人偷拍的问题,似乎没有什么好的方法能解决。不然网上也不会频频曝光多件被偷拍的新闻了:
	
由此可见,社会上的偷拍事件一直都有。不仅是爱穿漂亮裙子的小姐姐被偷拍,连去ATM机取款,或是入住宾馆的人都会被偷拍。
虽然很难制止不法分子安装隐藏式针孔摄像头,但我们可以利用网上视频的教程,拿手机检测红外摄像头。如果觉得视频内容不太靠谱,可以根据一些企业研发的防偷拍相关专利,检测到针孔摄像头,以保护个人隐私。我们来看看都有什么吧:
一种隐藏摄像机侦测器。该专利可以使用光学镜头进行放大,从而让侦测的距离更远。光信号模块与无线信号侦测模块的配合,也能让这个隐藏摄像机侦测器侦测到针孔摄像机的光学镜头以及无线窃听偷拍设备。
	
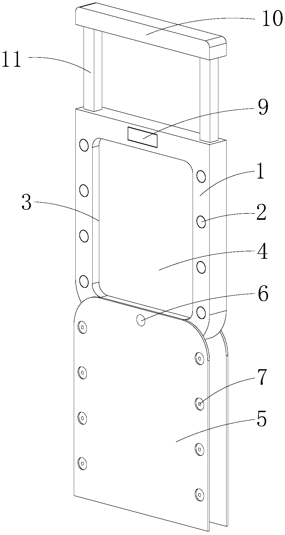
一种便携式防偷拍装置。该专利可以查找隐藏在角落里的微型摄像头,保护用户隐私;在不使用本装置时,将两侧的保护板转动至覆盖壳体两侧以对滤光片进行保护,防止在收纳的过程中损坏滤光片影响使用时的精确性,有助于延长滤光片的使用寿命;在使用本装置时,将两侧的保护板转动180度使用户可通过滤光片观察周围物体,此时保护板起到手柄的作用,便于用户拿持。
	
一种基于红外热成像与特定电磁波探测技术的反偷拍探测器。该专利能通过软件整合了无线信号远场探测、红外热成像探测和视频行时钟频率近场探测三大功能,可分三阶段进行全面系统探测,也可以每个功能单独检测,适用于酒店、出租房、娱乐场所包厢、政企会议室等不同场所,满足准确探测和定位用于偷拍的针孔摄像头的使用需求。
	
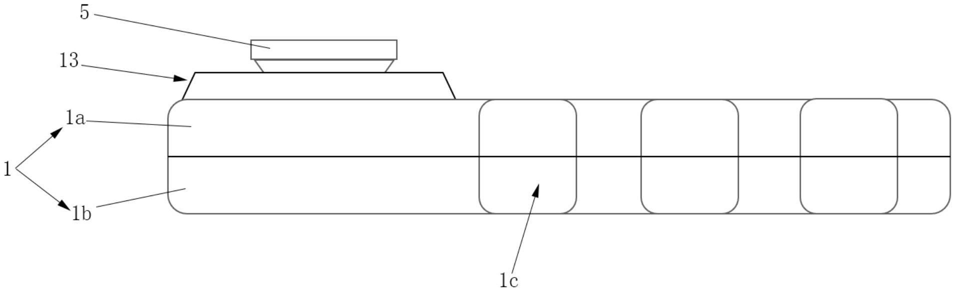
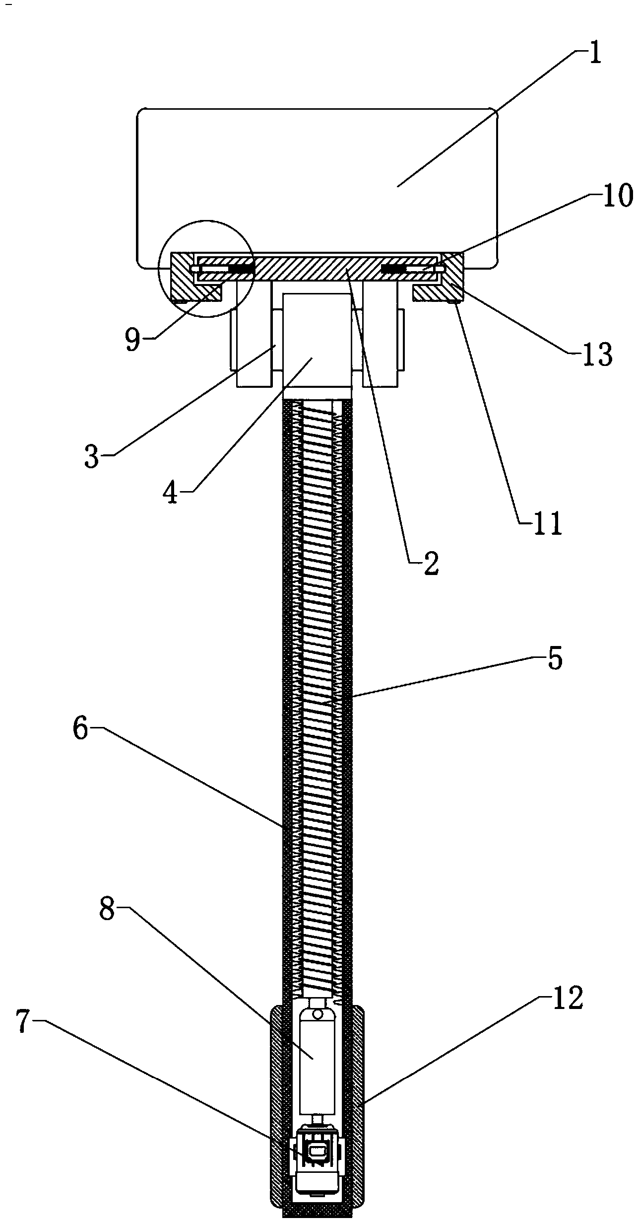
一种手持式酒店客房防窃听偷拍检查装置。该专利涉及防监听设备技术领域,携带方便,结构简单,设有便携升降结构,其与探测器本体采用分体连接,使用卡接组件进行连接加固,通过便携升降结构实现了探测器本体的升降伸缩,方便探测,使得探测器本体在检测到高处的监听设备时,能够缩小锁定监听设备的布置范围,进而可以有效提高探测器本体的检测精度。同时,增加人机功效,方便检测,每当客人退房之后,需要打扫房间,这个时候顺便拿着该装置做一个安全检查,提高酒店的安全管理。
	
尽管有公司开发了一些偷拍探测设备,主要是利用场强计探测摄像头运行时发出的电磁波原理,但是这种方式凡是探测到会发出电磁波的设备就会报警,误报率太高,也无法有效的探测联网型设备。
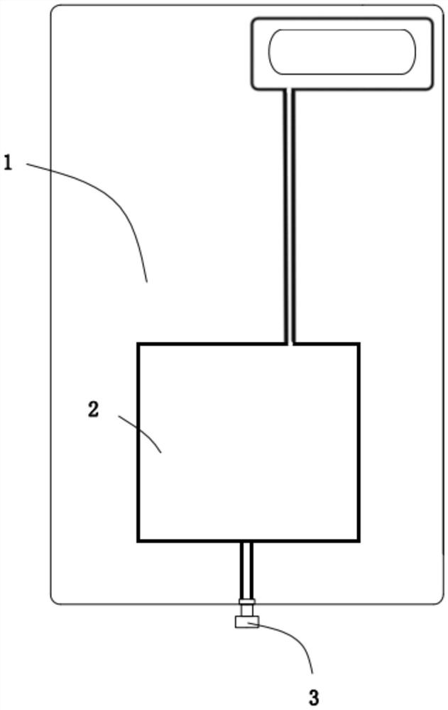
为解决这一问题,有人发明具有探测WIFI和偷拍设备功能的手机壳,可以通过该手机壳将获取的WIFI设备数据信息发送到手机,用于探测带WIFI功能的偷拍装置、WIFI信标探测等。由于将所有功能所需原件集成在手机壳上,使得整个装置便于携带,使用非常方便、操作简单。
	
由于监控系统是安防系统中应用最为广泛的一种系统,例如公司、工厂等办公场地、酒店、小区、公共场所、私人会所、学校甚至家庭都会安装监控系统来帮助使用者进行监测管理。但现有技术中对摄像头工作的控制通常通过软件程序进行控制,所以只要有通电线路在,哪怕使用者通过软件系统控制摄像头关闭,黑客仍旧可以通过这条线路进行入侵,从而造成隐私泄露。
为了防止偷拍、保护用户隐私,同时不增加设备体积,有人发明出一种具有隐私保护的摄像头。
	
该专利属于摄像设备技术领域,其包括壳体和设置于壳体内的摄像组件,摄像组件包括镜头和电连接于镜头的镜头板,壳体内位于摄像组件拍摄前端的一端设有遮挡机构,遮挡机构用于遮挡镜头,遮挡机构包括切换外壳和滑动设置于切换外壳内的遮挡片,遮挡片连接有驱动组件,驱动组件用于带动遮挡片滑动以实现对镜头的遮挡或避让。
有这么多专利技术,可能还是无法杜绝偷拍事情的发生。所以蜗牛纳认为,想要彻底斩断偷拍黑色产业链,不仅需要酒店采取必要措施并履行安全保障义务,还需要市监局、工信部、网信部、公安等多部门联手对偷拍黑色产业链的各个环节进行全链条监管。
据了解,今年5月以来,中央网信办会同工业和信息化部、公安部、市场监管总局深入推进摄像头偷窥等黑产集中治理工作,清理相关违规有害信息2.2万余条,处置平台账号4000余个、群组132个,下架违规产品1600余件。对存在隐私视频信息泄露隐患的14家视频监控APP厂商进行了约谈,并督促其完成整改。
那么,蓄意偷窥他人隐私将受何种法律惩处?
第四十二条:偷窥、偷拍、窃听、散布他人隐私的,处五日以下拘留或者五百元以下罚款;情节严重的,处五日以上十日以下拘留,可以并处五百元以下罚款。
第六十八条:制作、运输、复制、出售、出租淫秽的书刊、图片、影片、音像制品等淫秽物品或者利用计算机信息网络、电话以及其他通讯工具传播淫秽信息的,处10日以上15日以下拘留,可以并处3000元以下罚款;情节较轻的,处5日以下拘留或者500元以下罚款。
第二百八十三条:【非法生产、销售专用间谍器材、窃听、窃照专用器材罪】非法生产、销售专用间谍器材或者窃听、窃照专用器材的,处三年以下有期徒刑、拘役或者管制,并处或者单处罚金;情节严重的,处三年以上七年以下有期徒刑,并处罚金。
第二百八十四条:【非法使用窃听、窃照专用器材罪】非法使用窃听、窃照专用器材,造成严重后果的,处二年以下有期徒刑、拘役或者管制。
此外,偷拍、传播、叫卖视频的行为违反我国《民法典》的诸多规定,不仅侵犯了受害人的肖像权或隐私权,还可能侵犯了名誉权,构成《民法典》第一千一百六十五条的过错侵权行为,而行为人应依照民法典侵权责任编、人格权编的规定进行赔偿。
如果偷拍的内容涉及性行为,并予以传播或者出售,情节严重的,涉嫌构成传播淫秽物品罪或者传播淫秽物品牟利罪。
当然,为提高监管的时效性,也需要运用人工智能、大数据等技术。不过有这些是不够的,相关部门应加快个人信息保护法、数据安全法等法律的立法进程。







