你去游乐园过万圣节时,有人通过卖这些营造鬼怪气氛的小玩意儿挣钱了!
发布时间:2021-11-01时间过得好快呀,突然一下子就进入11月了,再过一个月就要酝酿一下感情,准备和2021年说拜拜了。
不过现在大家的关注力应该都在过节上。
什么节日,11月还有某个节日可以过吗?
当然的,今天11月1日是西方的传统节日——万圣节,而在昨天10月31日则是万圣节前夜。每年这个时候,为庆祝万圣节的来临,很多小孩就会装扮成各种可爱的鬼怪,然后去敲每家每户的门不停地说:“TRICK OR TREAT”。(不给糖就捣蛋)
	
图源 PIXABAY
据都市传闻说,各种鬼怪也会在这一晚,装扮成人间的小孩并混到群众之中,所以为了能让鬼怪们和人类相处得更融洽,人类才想出扮成鬼怪的法子,一起和他们庆祝万圣节的来临。
要是有人不肯给糖果的话,扮成鬼怪的孩子们就很不高兴,会用各种方法小小地惩罚这个人。如果运气不好遇上了真正的鬼怪,那就只能自求多福了。不过很多人都会给糖果,毕竟小孩子眼巴巴看着自己的样子太可爱了。
尽管万圣节是西方国家的传统节日,但随着中西方文化交流活动的开展,万圣节也逐渐在中国盛行。以鬼怪、吓人、惊悚、玩乐,以及与死亡、魔法、怪物有关事物为主题的万圣节深受大小朋友的喜欢。
想必有不少人的朋友圈已经被各种“妖魔鬼怪”给占领了吧,尤其南瓜与Cosplay更是被频繁提及。
不过今年在上海迪士尼参加“万圣狂欢日”的游客们,全体在各大社交平台上COS起了“可怜鬼”。
10月31日晚间,据@上海迪士尼度假区发布重要通知称:接外省市协查通报,为配合新冠肺炎疫情流行病学调查,上海迪士尼乐园和迪士尼小镇从即刻起停止游客进入。所有已在乐园的游客在离园时需要在出口处接受核酸检测,并遵循疾控中心的要求相隔24小时后再做核酸检测,待两次核酸检测阴性后,做好后续12天自主健康监测。
	
原来,杭州报告1例确诊病例,曾赴上海迪士尼乐园游玩。10月31日上午,浙江省杭州市从省外过境杭州列车截下人员中,检出一例新冠病毒核酸阳性,系上述上饶病例的密接者。而浙江省教育厅发布的一份紧急通知称,该病例于10月30日6点30分乘车前往上海迪士尼乐园游玩,17时出园。
并且根据上海市文化和旅游局的景区实时客流系统,31日晚6点半时,迪士尼乐园内有游客4万6千人。
说真的,现在全国多地疫情散发,各地都应该立即取消娱乐休闲等不必要的聚集,不是没疫情的地区就没风险了,或许只是处于潜伏期尚未被发现而已。每个人都该做好防护,阻断这一轮的多点散发。
虽说今天还有不少地方继续开展万圣节活动,不过蜗牛纳建议都别去了,实在想体验体验这个氛围就带好口罩去商场附近感受一下,或是买一些符合万圣节主题的小玩意儿放家里,总比去人挤人的游乐园要好吧?
还别说,有的人虽然在过万圣节,但他们不仅哪里都没有去,反而还在家里鼓捣一些东西让喜欢万圣节的人们心甘情愿掏钱给自己。
如同双十一狂欢节一样,万圣节的相关商标也已被不少商家盯上了。不过蜗牛纳通过企查查平台搜索看到,目前有5件“万圣节”商标注册信息,但均已处于无效状态。
	
虽然根据我国现行商标法的相关规定:任何能够将自然人、法人或者其他组织的商品与他人的商品区别开的标志,包括文字、图形、字母、数字、三维标志、颜色组合和声音等,以及上述要素的组合,均可以作为商标申请注册。
也就是说,将传统节日名称作为商标进行申请注册,并未违反我国现行商标法的相关规定。
但另据我国现行商标法第五十九条第一款规定:注册商标中含有的本商品的通用名称、图形、符号,或者直接表示商品的质量等特点,注册商标专用权人无权禁止他人正当使用。
由于节日类的商标本身显著性较低,也就是俗称的弱商标。因此,即使将其注册为商标亦难以进行独占使用,也无权禁止他人作为常用甚至通用的吉庆语、节日语正当使用。
不过话又说回来,想要成功注册一个充满恶作剧的商标,只需脑洞再打开一点,就可以让自己的商标混出名堂来。毕竟有些节日商标注册并不能排除他人在商业活动中善意地、正当地使用。
比如下图中与万圣节相关的商标,就处于已注册状态。
	
不过蜗牛纳还是建议别轻易将家喻户晓的传统节日作为商标注册申请在商标或服务上,本身就不具商标本该具备的显著性,所以大概率是不会被核准注册的。
在商标界是很难让商家的“万圣节”名扬四方了,那么就在专利界动动脑筋好了,要知道很多消费者更喜欢看起来奇奇怪怪的万圣节产品。当然,如果没这么容易坏,并且每年都能拿出来用用就更好了。
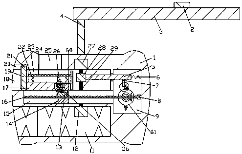
比如一种万圣节装饰扫把。这可是欢度万圣节不可缺少的装饰品, 而万圣节扫把的扫把头和扫把杆一般通过固定连接,但在使用万圣节扫把的过程中,扫把头与扫把杆在用力过度的情况下会断开且不能够重新连接起来,从而影响扫把的使用寿命。于是有人针对这个问题进行改良,增大万圣节装饰扫把的使用寿命。
	
还有万圣节骷髅玩具,过去只能用于摆放或重复一些点单的动作,但后来有人发明了个新的,可通过随机按动按钮触碰机关,使骷髅咬住玩家的手,增加了骷髅玩具的恐怖性和趣味性,也能使骷髅玩具可以多个人一起玩。不需要玩的时候,可以将该骷髅玩具摆放在房间内当作万圣节装饰品。
	
除了装饰品和玩具,面具也是万圣节中的一大亮点。有人为了让面具更生动,发明了会动的校园万圣节装饰面具。和普通面具不一样的是,它可以通过滑轮、凸轮、连杆和电机的配合,带动翅膀上下摆动,以更生动的形象贴近万圣节主题。
	
有了面具怎么可能没有南瓜灯呢?
如果觉得提着南瓜灯不方便拿糖果的话,可以看看这种能够直接收取糖果的万圣节南瓜灯。当给的糖果不足时,能通过控制南瓜灯内灯亮灭速度,提示给的糖果不足,而这一亮一灭的灯光增添了恐怖气氛,也提高了玩乐的趣味性。
	
还有很多与万圣节有关的专利申请,蜗牛纳觉得每个都很有意思,带出去吓人也会很有成就感。
消费者喜欢的东西,商家也会喜欢,甚至可能有人想“复制粘贴”同款万圣节产品。
可别这么做,在未经授权的情况下擅自生产、推销“爆款”万圣节产品属于侵权行为。
蜗牛纳发现商家都喜欢推那些印刷复仇者联盟、星球大战、蜘蛛侠等一些火热大片里面的角色原型,但这种比较容易侵权。除非拿到授权,否则还是三思而后行。
虽说节日名称可以用于商业宣传,但如果标题和描述中添加了已注册为商标的大牌名字进行引流,一旦被亚马逊的机器人抽检到,被投诉下架都算轻的了。
也许有些热销的万圣节服饰没有申请外观设计专利,而品牌方可能也不会发起任何相关的投诉或起诉,但是需要注意的是,未申请专利的产品不代表没有进行版权登记,所以是不排除有被诉风险。
不管怎么说,今年万圣节的最大赢家应该就是商家,在消费者冒着感染新冠病毒的风险去游乐园过万圣节时,他们已经通过售卖这些营造鬼怪气氛的小玩意儿,安安稳稳地在家里数钱了!
其实即便大家不懂发明创造或做生意也没什么,只要在工作上的成就惊天地泣鬼神,在生活中做个永远的开心鬼,就比去游乐园还开心,你说对吗?







