都是凭专利宠人,为何76岁老大爷比中科院大佬更正能量?
发布时间:2021-10-28近日,有媒体报道称“儿子获奖发明和父亲研究所成果高度相似”,引发舆论关注。针对此报道,中国科学院合肥物质科学研究院在其官网作出回应,称高度重视,已迅速组织人员对此事进行调查,后续将及时向社会反馈调查结果。
	
据了解,被质疑的获奖作品有两个,其中一个是“酒驾安全激光快速筛查系统”,与孩子父亲刘建国的发明名“激光酒驾道边在线监测系统”很相似。
	
这可能是属于职务发明,这位父亲大概在利用自己和实验室团队的科研成果,供儿子获奖升学……
相关阅读:
不过从技术方案来看,还是有不一样的地方,因为使用的酒精吸收峰的波段不同。就是不知道中科院合肥研究院在调查此事时,是怎么认为的。
虽说父爱如山,但这种“宠”孩子的方法要不得,他并不会从中感到父亲对自己深沉的爱意,而只会对发明创造、专利申请有错误的认知。
在蜗牛纳看来,这位中科院大佬还不如76岁的民间发明家呢,同样靠科技宠人,但大爷的新闻就比较正能量一些。
这位76岁的大爷宠妻到了什么程度呢?在冬天洗菜时怕她手冷,于是发明了“洗菜机”;在拖地时怕她累着自己,又发明了“拖地机”。
据了解,这位今年76岁的发明家叫辛世武,是陕西省宝鸡市陈仓区卫生局一名退休干部。在过去20多年的时间里,辛大爷已经有了31项发明,包括打击乐器、升降电梯、洗菜机、翻身机、搓澡机、捶背机等五花八门的发明创造,服务对象都是老年人,其中有5项还获得了国家专利。
为老年人搞发明创造的初衷不是为了宠妻,而是为了帮助卧病在床的父亲。据辛大爷介绍,他父亲那时候正卧病在床,起不来也翻不了身,深感痛苦。于是,辛大爷就想为他父亲搞一个自动翻身机。随后经过不断试验,这张保健床终于研制成功了!
	
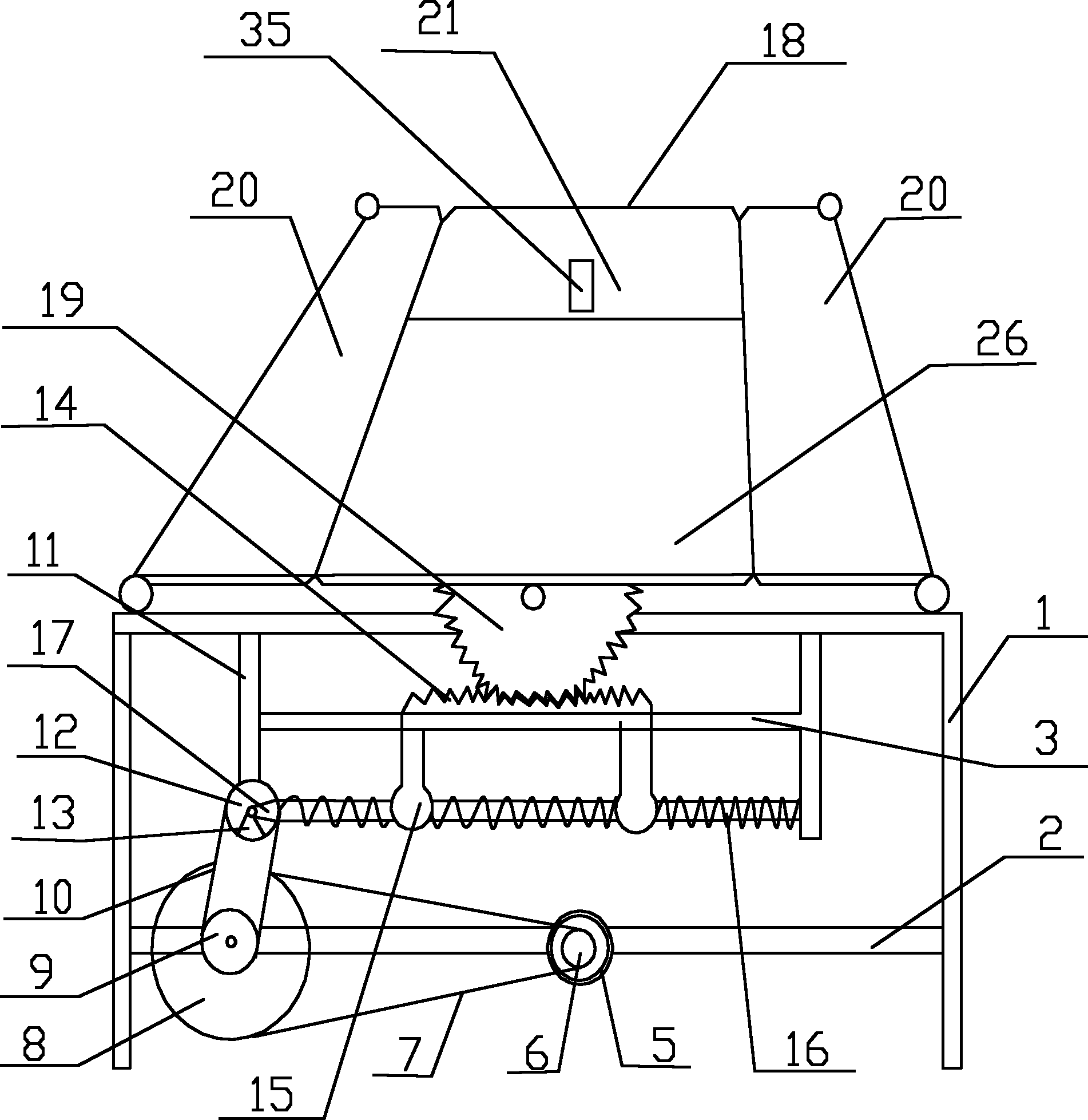
如上图所示,只要按一下按钮,卧床者就会被缓慢推坐起来,此外还可以左右翻身。而这款多功能健身床后来获得了国家实用新型专利。
	
从专利案例摘要来看,该专利的床架底部设有可将起坐靠背抬起或放下的起坐装置,以及可以将大小便孔打开或关闭的自动便溺装置。这充分考虑了长期卧床的瘫痪病人生活和体能恢复的需要,能使行动不便的病人在床上方便的变更姿态,并且增加大小便孔还可让病人在床上大小便,有利于病人的生活需要。
可以说是从这开始,辛大爷的发明之路便越走越宽。并且他每一项新发明的问世,辛大爷的妻子李巧翠都是第一个体验者,不过与其说他妻子是最捧场的受益人,倒不如说这些发明的灵感就来自于她。
有次在冬天,辛大爷看到妻子一天三次拿着盆在凉水里洗菜,就有些心疼了。后来他利用两三年的时间,给妻子发明了一个洗菜机,想让她在不用碰凉水的情况下洗菜。当然,这种家用洗菜机同样获得了国家实用新型专利。
	
当菜随水涡流旋转时,拦截器拦截产生与水涡流同向的冲刷力,并且拦截器的拦截环阻抗到一定力度时冲刷力放弃拦截,完成一次冲刷,经过拦截器多次往返拦截将菜彻底清洗干净,极大的提高了菜的清洗质量与清洗效率。
有了洗菜机怎么可能没有洗碗机呢?辛大爷又发明了一种家用洗碗机。
	
该装置采用外刷和内刷对碗体外壁与内壁同时进行洗刷,与现有技术单纯用高压水长时间喷洗相比,不存在无法进行有效清洗的死角,且操作便利快捷、清洗时间短,极大的提高了清洗碗的效率。
值得一提的是,辛大爷还懂点音乐,因为他发明过一种秦腔键式电动打击乐,每个秦腔打击乐器上均对应设有电动打击机,键盘上每个音键的下面均对应设置有常开按钮,常开按钮的两个触点分别与电源和电动打击机上的一个接点相接,电动打击机上的另一个接点与电源的另一个接点相接。
	
该实用新型将秦腔打击乐科学地组合为一个整体,用键盘操作,电动击打,既省力,又能达到高度协调统一之效果,音质标准、稳定、洪亮,节奏清晰、准确,乐队由5人减为一人,节约了人力,提高了工作效率,将对秦腔剧种的振兴起到较大的促进作用。
该不会辛大爷在外有组织什么乐队,或是认识的人里有玩音乐的,由于经常不能组到五个人,所以才有了此项发明。
果然发明灵感来源于生活,这些有利于老年人的发明,都是通过辛大爷在平时生活中的观察,然后基于自己的兴趣爱好和极强的手动能力创造出来的。
辛大爷的事迹经媒体报道后,很快有不少网友为其点赞叫好,并表示本来在看很实用的发明,结果却被塞了满满一盘狗粮。
不过也有的网友认为,辛大爷的一些发明早就已经有人申请过专利了,并且只要在某个电商平台上随便搜搜,也能出现很多相关的产品,哪个不比辛大爷发明的更实用?
普通又常见的小发明,真的没有它存在的意义吗?
其实,能主动地认识自然和改造自然,并不断地有所发现、有所发明,是人类的本质。人类原本便是利用天然条件创造了劳动手段和工艺,并在发明器物的过程中意识到外部世界的性质和自身的力量。
没有任何人能够否认,发明是技术和生产活动的起点。在远古时期,正是有了打制石器、人工取火的发明和应用,才开始了人类的物质生产和社会生活的历史;正是有了石器的磨制、冶铜炼铁、制陶晒砖和养蚕织丝等发明,才让古代社会有所进步;正是有了新的纺织机、蒸汽机的发明,才在18世纪兴起了产业革命;也正是有了电子计算机和一系列的现代发明,才从根本上改变了人们的劳动方式、生活状况和社会面貌。
即便是在技术变革和技术进步的现在,社会历史的发展也仍旧离不开发明创造。总体来说,全球人类的文明史首先就是一部发明创造史,而这一历史也将在今后继续“写”下去。
但要说过去的发明家是否清楚自己创造性活动的社会意义有多重要,答案肯定是否。因为他们在改进已有的器物或工艺时,大都从切身的需要出发,以业余的方式从事发明创造,没有也不可能充分认识到自己的发明有什么价值和应用后果。
什么时候才有这个意识呢,大约自近代起,人们才日益明确地认识到发明的重要性,不仅运用专利制度鼓励和保护发明,还建立起专门开发研制的机构和交流成就的组织,以此让发明创造规律性的研究受到重视,也让发明创造教育和发明方法的培训得到普及。
因此,不论是小孩子还是老人,也不论是男是女,都可以进行发明创造。也许有些小小发明并不值得一提,但我们都不应该全面否定他们的想法,如果每一项发明都被PASS了,让原本有一脑子金点子的人逐渐变得不敢说也不敢做,失去了创新的勇气,那么社会上还能有多少为国家创新贡献自己一份力量的发明家呢?
要知道,许多发明创造并不是出自人们想象中的发明天才、学界泰斗、业内专家,而是普通的“门外汉”,比如坦克的发明就是一个很好的例子。
一战时,有个名叫贝斯特·斯文顿的英国随军记者在法国目睹了英国远征军浴血奋战的悲壮场面后,突然产生灵感:如果给拖拉机穿上钢甲外衣,不是既能进攻敌人的阵地,又能抵御敌人的机枪和炮火的射击吗?于是他建议英国的防务委员会将“霍尔特”型拖拉机改装成装甲战车。这个建议最初遭到了陆军大臣齐吉纳的拒绝,但斯文顿的好友汉凯是当时的国防委员会秘书,经过他的鼎力相助,这个建议才得以被时任英军海军大臣的温斯顿·丘吉尔采纳,用一年多时间制造出世界上最早的坦克“小游民”,即第一次世界大战期间最有影响的发明——陆地巡洋舰(坦克)。
这就是有心栽花花不开,无心插柳柳成荫。为什么知识渊博经验丰富的武器装备专家没有想到这一点,一个从事新闻采访的记者却产生了如此新奇独特的想法呢?有人分析说是内行专家往往会受知识和经验的影响,常常会不自觉地在现有的知识和经验中去寻找解决问题的办法,但这在无形之中形成了思维框框,限制了发明创新。
所以说,不要小看任何人的小发明,或者提出的一个想法,谁又能知道小小的东西在未来能有极大的作用呢?
当然,也不要太有目的性地为了获奖升学而进行专利申请,蜗牛纳认为培养孩子们对科技的兴趣比出成果更重要。如果专利真能在孩子们的创新中起到作用,那也应该是帮助他们开拓视野,尝试创新的基础资料。
所以,与其撺掇孩子申请专利去获个奖,不如培养其独立思考、解决问题的能力,这可能会促进他的思维方式和实践能力。而不是为了让升学之路更好走,教给他投机取巧的手段,要知道在人生的道路中没有什么捷径。







