实用新型专利申请范文
发布时间:2017-09-29实用新型专利申请范文
实用新型专利申请说明书范文
对流式玻璃加热炉
[实用新型名称应简短、准确地表明实用新型专利请求保护的主题。名称中不得含有非技术性词语,例如人名、地名、商标、代号、型号等或者商品名称等,也不得使用商业性宣传用语。名称应与请求书中的名称完全一致,一般不得超过25个字,应写在说明书首页正文部分的上方居中位置。]
[依据专利法第二十六条第三款及专利法实施细则第十七条的规定,说明书应当对实用新型作出清楚、完整的说明,所属技术领域的技术人员按照说明书记载的内容,就能够实现该实用新型的技术方案,解决其技术问题,并且产生预期的技术效果。说明书应按以下五个部分顺序撰写:技术领域、背景技术、实用新型内容、附图说明和具体实施方式,并在每一部分前面写明标题。]
技术领域
本实用新型涉及一种玻璃加工设备,尤其是一种玻璃加热炉。
[技术领域应当是要求保护的实用新型技术方案所属或直接应用的技术领域,而不是上位的或者相邻的技术领域,也不是实用新型本身。]
背景技术
现有玻璃加热炉通常以辐射方式工作,即利用电阻加热元件发出的热量对玻璃进行加热。例如,公告号为CN2265979Y的中国实用新型专利,公开了“一种回转式弯钢化玻璃加热炉”,其通过安装在圆形加热炉膛内部的电热丝对玻璃进行加热。此种通过电热丝辐射热量加热的方式存在着缺陷,由于一些品种的玻璃黑度小,其反射率和透射率相对较高,对辐射加热吸收比较差,因而采用常规辐射方式进行加热,存在加热时间长、加热效率低的问题。又比如,制作LOW-E玻璃,即低辐射玻璃时,大量的热量被反射,玻璃表面温度达不到要求。
另外,辐射加热时,因辊道向玻璃下表面直接传导热量,而这部分传导热大于玻璃上表面所接收的辐射热,致使玻璃上、下表面存在一定的温度差,引起玻璃边部翘曲,同时在与辊道相接触部位产生白雾现象,并最终影响玻璃加工质量。
[背景技术是指对实用新型的理解、检索、审查有用的技术,可以引证反映这些背景技术的文件。背景技术是对最接近的现有技术的说明,它是作出实用技术新型技术方案的基础。此外,还要客观地指出背景技术中存在的问题和缺点,引证文献、资料的,应写明其出处。例如,本申请引用在先专利文献说明背景技术中的辐射式加热存在加热时间长效率低、引起玻璃翘曲和产生白雾现象等问题,这些问题均是本申请要解决的技术问题。在背景技术部分不必指出不相关的问题,也不应过于笼统的指出存在的问题。]
实用新型内容
[实用新型内容部分应当描述实用新型所要解决的技术问题、解决其技术问题所采用的技术方案及其有益效果。]
为了克服现有技术中玻璃加热过程中加热效率低、受热不均匀、玻璃上下表面存在温差而导致玻璃翘曲、加热炉中产生白雾等缺陷,本实用新型提供一种采用喷流加热技术的对流式玻璃加热炉,将高温气体喷吹到玻璃表面,通过高温气体与玻璃的对流热交换,而完成对玻璃的加热。
[要解决的技术问题是指要解决的现有技术中存在的技术问题,应当针对现有技术存在的缺陷或不足,用简明、准确的语言写明实用新型所要解决的技术问题,也可以进一步说明其技术效果,但是不得采用广告式宣传用语。]
本实用新型解决其技术问题所采用的技术方案是:一种对流式玻璃加热炉,包括上炉体、下炉体,上、下炉体两侧设置有玻璃输入口和玻璃输出口,下炉体上安装有玻璃输送辊道,上、下炉体内分别设置有至少一个集气箱,该集气箱为密闭箱体,其内设置有气体加热装置,集气箱其上设置有集气箱进气口和出气口,出气口处设置有喷流板,喷流板上设置有高温气体喷出孔和废气回收孔,集气箱的喷流板上的高温气体喷出孔面向玻璃输送辊道设置,风机通过管道与集气箱进气口、喷流板上的高温气体喷出孔、废气回收孔、废气回收管道和炉体内腔共同构成一个气体循环回路。
上述的对流式玻璃加热炉,风机的排气口通过第一管道与集气箱进气口相连;所述喷流板上的废气回收孔通过废气回收管道与集气箱外部的炉体内腔相连通,炉体内腔通过第二管道与风机进气口相连;所述上、下炉体中的集气箱分别与各自的风机相连,并分别构成相互独立的气体循环回路。
上述的对流式玻璃加热炉,所述喷流板为波浪形、锯齿形或方波形,所述高温气体喷出孔分布在接近玻璃输送辊道的位置,所述废气回收孔设置在远离玻璃输送辊道的位置。
上述的对流式玻璃加热炉,所述气体加热装置为电加热元件,电加热元件采用电热管或电阻丝。
上述的对流式玻璃加热炉,所述上炉体中的集气箱通过悬吊机构可上下移动安装在上炉体上,所述下炉体中的集气箱支撑在下炉体中设置的可上下移动的升降装置上。
上述的对流式玻璃加热炉,所述悬吊机构为螺杆螺母机构,集气箱通过第一螺母悬吊在第一螺杆上,第一螺杆固定在上炉体上,其上端伸出炉体顶壁并与第一蜗轮蜗杆操纵机构相接;所述升降装置为螺杆螺母升降机构,所述集气箱与第二螺母相固定,并通过第二螺母与第二螺杆相连,第二螺杆可转动安装在下炉体上,第二螺杆与第二蜗轮蜗杆操纵机构相连,并可在第二蜗轮蜗杆操纵机构操纵下旋转。
[技术方案是申请人对其要解决的技术问题所采取的技术措施的集合。技术措施通常是由技术特征来体现的。技术方案应当清楚、完整地说明实用新型的形状、构造特征,说明技术方案是如何解决技术问题的,必要时应说明技术方案所依据的科学原理。撰写技术方案时,机械产品应描述必要零部件及其整体结构关系;涉及电路的产品,应描述电路的连接关系;机电结合的产品还应写明电路与机械部分的结合关系;涉及分布参数的申请时,应写明元器件的相互位置关系;涉及集成电路时,应清楚公开集成电路的型号、功能等。必要时,技术方案还应描述原理、动作及各零部件的名称、功能或用途。存在多个名称相同的部件时,例如“管道”、“螺母”等,为了避免混淆,应当分别命名为“第一管道”、“第二管道”、“第一螺母”、“第二螺母”等。]
本实用新型的有益效果是,本实用新型加热炉采用向玻璃表面喷射高温气体的方式对玻璃进行加热,有效地消除了传统加热炉在加热高反射率和高透射率玻璃时所存在的加热效率低和加热时间长的缺陷。将加热元件设置在集气箱内后,可方便地根据所需高温气体的温度、流量选取加热元件的功率,尤其是能够将喷射在玻璃上下表面的高温气体设置成具有不同的温度,从而使玻璃上下表面受热均匀,使其加热质量得到保证。
[有益效果是实用新型和现有技术相比所具有的优点及积极效果,它是由技术特征直接带来的、或者是由技术特征产生的必然的技术效果。有益效果应与要解决的技术问题和技术方案相适应,不得出现相互矛盾或不相关的情况。例如,本申请要解决的技术问题是克服现有技术中加热效率低、受热不均导致玻璃翘曲等问题,则相应有益效果是消除加热效率低的缺陷,使得玻璃受热均匀。]
附图说明
下面结合附图和实施例对本实用新型进一步说明。
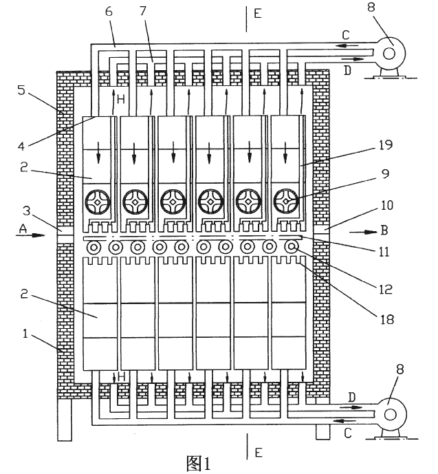
图1为本实用新型示意图;

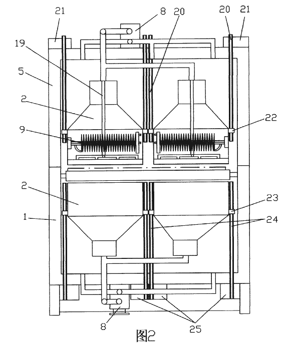
图2为沿着图1中E-E线的示意图;

图3为上炉体的集气箱的喷流板结构示意图;

图4为沿着图3中F-F线的示意图。

图中1.下炉体,2.集气箱,3.玻璃输入口,4.集气箱进气口,5.上炉体,6.第一管道,7.第二管道,8.风机,9.电加热元件,10.玻璃输出口,11.待加热玻璃,12.玻璃输送辊道,16.高温气体喷出孔,17.废气回收孔,18.喷流板,19.废气回收管道,20.第一螺杆,21.第一蜗轮蜗杆操纵机构,22.第一螺母,23.第二螺母,24.第二螺杆,25.第二蜗轮蜗杆操纵机构。
[附图说明应写明各附图的图名和图号,对各幅附图作简略说明,必要时可将附图中标号所示零部件名称列出。]
具体实施方式
【实施例1】
对流式玻璃加热炉包括下炉体1、上炉体5,上、下炉体两侧设置有玻璃输入口3、玻璃输出口10,下炉体1上安装有玻璃输送辊道12,上、下炉体内分别设置有12个集气箱2,该集气箱2为密闭箱体,其上设置有集气箱进气口4和出气口,出气口处设置有喷流板18,喷流板18上设置有高温气体喷出孔16和废气回收孔17,集气箱的喷流板上的高温气体喷出孔16面向玻璃输送辊道12设置,集气箱进气口4通过第一管道6与风机8的排气口相连,每个集气箱2内均设置有电加热元件9,风机8进气口通过第二管道7及集气箱2内的废气回收管道19吸入集气箱喷流板上废气回收孔17处的废气,集气箱2内的废气回收管道19将废气回收孔17处的废气引入集气箱2远离玻璃输送辊道端的炉体内腔中,风机8进气口、第二管道7、炉体内腔、集气箱2内废气回收管道19、废气回收孔17、风机8排气口、第一管道6、集气箱进气口4、高温气体喷出孔16共同构成一个气体循环回路,每个集气箱2中均安装有一电加热元件9,该电加热元件9位于集气箱进气口4至高温气体喷出孔16之间的气体通道上。电加热元件9为一电热管,通过电热管辐射的热量加热集气箱内的气体,再通过高温气体喷出孔16对玻璃上、下表面进行加热。上炉体5中的集气箱2为剖视状态。上炉体5中的各集气箱2分别通过第一螺母22悬吊在两根第一螺杆20上,第一螺杆20可转动安装在上炉体顶壁上,第一螺杆20上端与第一蜗轮蜗杆操纵机构21相连,在第一蜗轮蜗杆操纵机构21的操纵下,第一螺杆20旋转并由此带动集气箱2上下移动。下炉体1中的各集气箱2分别通过第一螺母23支承在两根或四根第二螺杆24上,第二螺杆24下端可转动安装在下炉体1上,第二螺杆24下端与第二蜗轮蜗杆操纵机构25相连,在第二蜗轮蜗杆操纵机构25的操纵下,第二螺杆24旋转并带动与其相连的集气箱2上下移动。
如图3、图4所示,上炉体5的集气箱2出气口处的喷流板18的断面为方波形,在集气箱2上,高温气体喷出孔16分布在接近玻璃输送辊道12的位置,所述方形废气回收孔17设置在远离玻璃输送辊道12的位置,废气回收管道19将废气回收孔17与炉体内腔连通,而与集气箱2内腔相互隔离。
【实施例2】
上、下炉体中的集气箱可对称设置,例如,上、下炉体各采用7至10个集气箱,也可非对称设置。在上、下炉体中分别通过设置多个集气箱2的方式来覆盖被加热玻璃表面,不但便于集气箱2的加工、安装、维护、保养,而且使炉体内各个部位加热功率的分配更加方便,同时有利于对玻璃加热状态的控制。由于集气箱2分设与上炉体5和下炉体1中,并且各集气箱2相对独立,因此,可根据被加热玻璃上下表面的具体情况,有针对性地设置集气箱的数量和各集气箱的位置。各集气箱中电加热器的加热功率可以相同,也可不同,各集气箱的体积、结构完全相同,也可各具适当结构和大小。
【实施例3】
喷流板18的断面还可以是规律、均匀的波浪形、锯齿形,甚至可以是各波峰、波谷位置不一致的非均匀形。因上炉体5中集气箱2的喷流板18直接面对被加热玻璃,而下炉体1中集气箱2的喷流板18与玻璃下表面之间相隔有玻璃输送辊道,因此,为了使被加热玻璃上下表面受热均匀,上、下炉体中集气箱2的喷流板的形状可以制成不同的形状。为了使被加热玻璃在上炉体5中或下炉体1中各部位受热一致,上炉体5或下炉体1中各集气箱及其喷流板也可制成具有不同的形状。
【实施例4】
电加热元件9也可以为一电阻丝,通过电阻丝发热辐射的热量加热集气箱内的气体,进而对过高温气体喷出孔对玻璃上下表面进行加热。
本实用新型工作时,待加热玻璃11从炉体一侧的玻璃输入口3进入炉体,并支承在玻璃输送辊道12上,风机8将气体沿图1中箭头C送入各集气箱2中,进入集气箱2的气体通过电加热元件9变成高温气体,加热后的高温气体从喷流板18上的高温气体喷出孔16喷向玻璃上、下表面,与玻璃进行对流热交换后的废气从废气回收孔17和废气回收管道19进入远离玻璃的炉体内腔,并通过炉体上设置的通孔被吸入风机8,风机8将吸入的废气再次输送到集气箱2,使之重新进入循环,如此往复。将集气箱2上下移动安装在上下炉体中后,不但便于集气箱2的维修、保养,而且便于集气箱2内加热器的更换和维修。
[具体实施方式是实用新型优选的具体实施例。具体实施方式应当对照附图对实用新型的形状、构造进行说明,实施方式应与技术方案相一致,并且应当对权利要求的技术特征给予详细说明,以支持权利要求。附图中的标号应写在相应的零部件名称之后,使所属技术领域的技术人员能够理解和实现,必要时说明其动作过程或者操作步骤。如果有多个实施例,对每个实施例都应当结合附图进行清楚地描述。]
本文地址:http://www.bjnajie.com/a/guonazhuanlixinwen/20170929/816.html








