-
专利
专利无效宣告 食品专利申请 日本专利申请 家具专利费用 发明专利费用 专利申请流程 -
商标
北京商标注册 国际商标注册 商标流程费用 商标驳回复审 香港商标注册 美国商标注册 -
版权
美术版权登记 版权代理注册 软件版权登记 汇编作品版权 文字作品版权 版权登记费用 -
法律服务


今天是世界避孕日,请做个知性智行的商标申请人
发布时间:2018-09-26真没想到
今天9月26日居然是
世界避孕日
你没看错
避孕这种事儿
竟有属于自己的纪念日
而且还与国际接轨了
之所以建立这个纪念日
意在提高年轻人的避孕意识
以此促进他们对自己的
性行为与生殖健康
做出负责任的选择
提高安全避孕率
并改善生殖健康教育水平
据说现在世界避孕日
已经得到了全球超过70个国家
12个国际非政府组织
和科学医药团体的支持
而中国则是在2009年
才首次加入了
世界避孕日的宣传活动
此后每年9月26日
全国各地都会进行主题宣传

到2018年世界避孕日
北京举行了宣传活动
其活动主题为
“高效避孕,孕育健康”
旨在倡导和推进
使用高效避孕的方法
减少非意愿妊娠
并维护群众生殖健康
说起避孕话题
我们通常会想到避孕药
避孕环和避孕套
那么如何正确使用
以及做哪些避孕措施才能
起到保护女性的作用呢
想知道这些的话
就去活动现场听听讲解
若是不能去也没关系
一起上微博刷刷话题吧
因为今天微博上的各大官博
都在宣传该活动的主题内容
让所有年轻男女
做个知性智行的人
当然也看了不少有趣的文案
不过蜗牛纳还是特别期待
杜蕾斯在这个纪念日里
会出什么绝佳文案
虽然目前还没有发布
不过我们可以看看
杜蕾斯官博在2017年
发过的内容

无内涵不杜蕾
果然是做避孕的大佬
想必人家从业那么多年
很少四处“碰壁”吧
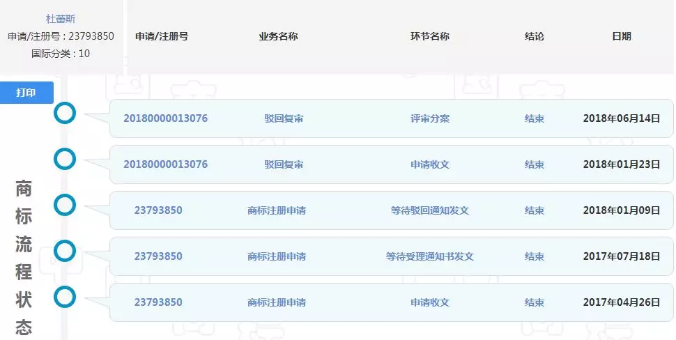
然而蜗牛纳在商标界里
发现杜蕾斯混得很好
除了一些“杜蕾斯”商标
期满未续展外
只仅一件处于驳回复审状态


而别的商标均已成功注册
是不是超厉害呢
不仅如此
其他企业和个体商户
想注册杜蕾斯的商标
都无一例外地被驳回了申请
杜蕾斯品牌做得很大
已在民间有了影响力
当然了 若没做好商标保护
照样会被别人抢注
说到这个
蜗牛纳突然想起
自己以前写过一篇文章
避孕套要出咖啡味?星巴克都要跪求商标局了!
内容讲的就是
本属于星巴克的“星冰乐”商标
最后被做避孕套的名邦给注册

此后星巴克几番上诉
都没能打赢官司
从此“星冰乐”变成了
一个有咖啡味的避孕套
如果蜗牛纳告诉你
央视爸爸旗下的一频道名
差点被人注册成避孕套商标呢
你是不是觉得这个人疯了
如下图所示“央视一套”商标
在2006年1月1日被一位
姓李的自然人给抢注了
其涉及的范围包括子宫帽
避孕套、非化学避孕用具等10种

最让人无语的是
当时央视完全不知情
若是无人提出异议
那么最后该商标很可能
就属于这位李姓申请人了
并且有消息称深圳某家公司
愿以40万元价格买下该商标
谁都知道中央一套
是全国人民都知道的
特定的电视频道
这位抢注者却机智地
把它和安全套扯上了关系
并且还特别形象生动
虽然商标局最终驳回了
“中央一套”的商标申请
但又有人别出心裁地
申请注册“中央抬”商标

蜗牛纳忍不住吐槽
这些商标申请人
就不能好好了解下
国内的《商标法》吗
什么商标不可以注册
里面都已经写清楚了
不过在知名品牌上面
打避孕套主意的人
确实还有不少呢
比如之前有95后创业者
欲抢注“脑白金”商标

可他也不想想
脑白金是驰名商标
而国内对驰名商标
是有严格的保护
因为国家有规定
驰名商标可以对抗
其他人的恶意抢注
注册“脑白金”就算了
毕竟人意思是老年人
能够拥有丰富的夜生活
即便最后没能成功注册
也不会有太多人指责他
可接下来要说的某企业
就未免太过分了
他们早起申请注册了
英雄“叶问”为避孕套商标
叶问后人作为利害关系人
随即提出了商标异议
好在经过一年多的努力
总算将该商标异议成功

诸如此类的事情太多了
不知道今年的世界避孕日
又给谁带来新的点子
蜗牛纳只希望这些商家
别乱注册商标了
若是特别想注册一个
就请在申请商标注册之前
咨询专业的商标代理人
以此避免自己
申请的商标不能注册
——END——

编辑:蜗牛纳@北京纳杰商标代理机构
本文地址:http://www.bjnajie.com/a/sbpb/3437.html
来源:纳杰知识产权微信公众号(najieip)
推荐阅读:





