-
专利
专利无效宣告 食品专利申请 日本专利申请 家具专利费用 发明专利费用 专利申请流程 -
商标
北京商标注册 国际商标注册 商标流程费用 商标驳回复审 香港商标注册 美国商标注册 -
版权
美术版权登记 版权代理注册 软件版权登记 汇编作品版权 文字作品版权 版权登记费用 -
法律服务


12年,我的商标终于初审公告了!
发布时间:2018-11-302018年11月27日,商标局发布商标注册便利化改革取得突破性进展的文章,里面关于商标审查周期这样写道:
目前,“大幅缩短审查周期”年内商标改革目标已经提前完成,11月9日,商标注册平均审查周期已经缩短至5个月28天,提前52天实现将商标注册平均审查周期缩短到6个月以内的目标。

同日,商标局官网发布的商标公告中的一个商标成功的引起了我的注意。
为什么这个商标会引起我的注意呢?回答问题前我先给大家讲一个故事。
故事开始:2006年,一个名叫A的人委托B代理公司申请注册一个叫做C的商标。
故事结束:2018年,B代理公司告诉A,C商标通过初审公告了。
是的,这个故事就是这么简单,但时间却跨度十二年之久。
但这真的是一个故事吗?
接着我就来告诉大家为什么商标公告中的一个商标成功的引起了我的注意,因为故事成为了现实。
2018年12月27日,商标局发布了最新一期的商标公告,上文所说的故事主角赫然在列。

该商标名称叫做“DYDDYD”,申请人是林保均,申请日期是2016年11月22日,初审公告日期2018年11月27日,注册在服装;皮衣(服装);茄克(服装);羽绒服装;风衣;运动衫;婴儿全套衣;游泳衣;游泳裤;制服商品上。

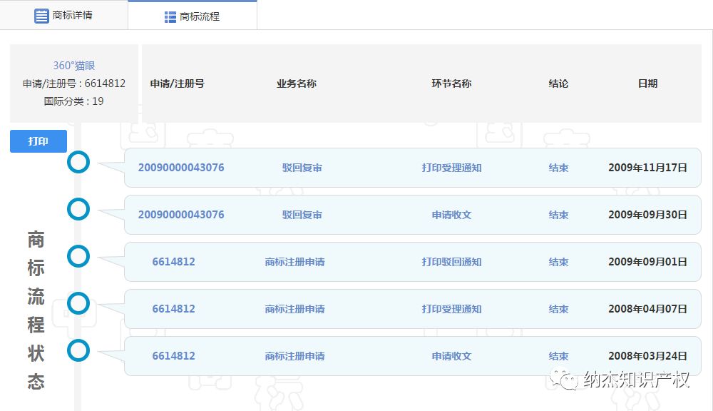
接下来我们再来看下该商标的具体流程

一目了然,毫不复杂!
除了这个商标外,下面这个商标也吸引了我的注意力,你认为呢?


本文地址:http://www.bjnajie.com/a/sbpb/3721.html

相关阅读:





