-
专利
专利无效宣告 食品专利申请 日本专利申请 家具专利费用 发明专利费用 专利申请流程 -
商标
北京商标注册 国际商标注册 商标流程费用 商标驳回复审 香港商标注册 美国商标注册 -
版权
美术版权登记 版权代理注册 软件版权登记 汇编作品版权 文字作品版权 版权登记费用 -
法律服务


说东北大板超难吃的你,确定买对了吗?
发布时间:2019-03-08“今儿天气不太好呀。”丽姐摸了摸鼻子跟小妹说她突然想吃冰糕了。
丽姐掰手指头算了算,虽然距离立夏还有59天,寒意刚刚退去,酷暑尚未到来,但在这个春暖花开、绿草如荫的三月里,不正是吃着冰糕与友信步闲游的好季节吗?
吃冰的食物嘛,自然是想吃就吃咯,完全不用看天气的脸色(‘大姨妈’探亲的这几天除外)。爱在春冬季节吃冰糕的丽姐也表示:吃冰不就是图那种冻脑的刺激感么。
越想越馋,因此丽姐下班后就迫不及待地去了路边的小店里买冰糕吃。可问题是...吃啥冰糕好呢?她在冰柜里一堆花花绿绿的包装纸中挑了半天也没决定吃哪根。

后来,丽姐瞄到了另一边的冰柜,发现了一种她从未吃过的冰糕。于是拍了照发微信问小妹好不好吃。彼时小妹正忙着做收尾工作,没仔细看就用非常肯定的语气推荐她买。
然而下了班的小妹却被丽姐给吐槽了,说她推荐吃的冰糕其实味道很一般。
小妹走近了丽姐,才发现她手上拿着的冰糕外包装似乎和自己吃过的不一样。虽然远看像是红宝石生产的草原奶味“东北大板”,但实际上却是不知哪里产的“东北大块”!
可惜小妹没能及时拍下来,加上她有个每天清理聊天记录和图片的习惯,因此蜗牛纳也不知道丽姐吃的“东北大块”外包装是不是和“东北大板”的很像。(下图为红宝石牌的东北大板)

看不到也没关系,凭丽姐描述的口感就能知道她吃的冰糕是不是真的东北大板。因为在这冰糕很火的时候,网上流行一句话:“如果跟谁闹不愉快了,那么就请这人吃东北大板,绝对一根泯恩仇。”可想而知东北大板是多么的受人欢迎。
毕竟蜗牛纳是是做知识产权行业的,在得知此事后就上网查询了相关信息,结果这么一查还真查出问题来。蜗牛纳认为丽姐买的冰糕可能就是山寨版“东北大块”,并非红宝石自产的“东北大板”。
这不,制造“东北大板”的大庆市红宝石冰淇淋有限公司(下称红宝石)发现有其他冰淇淋公司在未经授权的情况下,擅自将“东北大板”商标使用在他们的产品生产、销售及宣传中。
那么红宝石是在什么时候注册了“东北大板”商标呢?这就得从该产品的诞生时间开始说起了。根据资料显示,2013年红宝石生产出的东北大板在黑龙江省内进行销售,同年5月6日申请了“东北大板”商标注册。直到2014年红宝石才将这种冰糕推销至全国各地,由此在美食圈里火速蹿红。

到目前为止,红宝石总共注册了14件“东北大板”相关商标。
如今红宝石的“东北大板”商标已经有了较高的知名度和美誉度,而消费者只要看一眼“东北大板”,就知道是红宝石独家生产的产品。
红宝石的成功让不少同行眼红,某冷业有限公司便是其中一个,他们生产的凯多宝“东北大块”雪糕所使用的产品包装上面,便印有“东北大块”名称,猛一看还会错认为“东北大板”,并且该包装与“东北大板”的草原奶冰淇淋外包装也极其相似。
于是蜗牛纳很好奇,到底有没有公司注册“东北大块”,上去查了下,发现有两家公司都注册了30类的“东北大块”商标,一家是红宝石,另一家应该是被起诉的该某冷业公司。

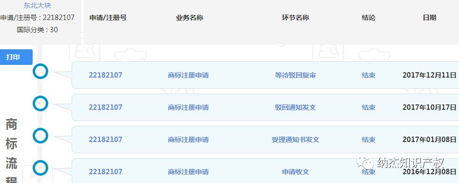
从这个申请时间来看,最早注册了“东北大块”商标的是红宝石,某冷业公司则是在十年后的2016年才注册,只不过并没有成功。(下图为某冷业公司注册的“东北大块”商标被驳回流程)

明知道“东北大块”和“东北大板”都是红宝石的却还在自家产品上使用,这是脑子进冰激凌了还是进冰激凌了呢?
要知道这种行为,很容易让消费者误认为该冰淇淋是由红宝石开发、销售的,或者与其有特定联系。总之借用其商业信誉谋取非法利益,已经侵害到了红宝石的商标权。
正因为如此,红宝石才会将销售商北京某食杂店及生产商某冷业有限公司起诉至法院,要求判令二公司立即停止生产、销售侵权商品,赔偿损失5万元。
目前海淀法院已经受理了此案。
虽然海淀法院的案件快报中并没有写这家冷业公司的全名,但蜗牛纳猜它应该是与红宝石交手多年的南昌一冷业公司,他们曾经被匿名举报涉嫌生产假冒“东北大板”,以及“东北大块”商标侵权问题。
根据信息日报讯,当时该冷业公司提供了相关证据证明他们从2012年就已经生产了标注名为“东北大板”的冰棒,而红宝石则是后来才注册该商标。(下图来自信息日报)

直到2018年6月底,南昌市市监局签发的行政处罚决定书才给这件事打上了句号。
据了解,办案人员依据《商标法》第五十九条第三款规定:“商标注册人申请商标注册前,他人已经在同一种商品或者类似商品上先于商标注册人使用与注册商标相同或者近似并有一定影响的商标的,注册商标专用权人无权禁止该使用人在原使用范围内继续使用该商标,但可以要求其附加适当区别标识。”加上双方提供的证据不足,且执法人员对双方提供证据的真实性难以认定,所以没有判定宏远冷业生产“东北大板”侵权,并建议双方协商解决或向法院提起诉讼。
而对于“东北大块”的侵权问题,在该“行政处罚决定书”中也有了处理:认定宏远冷业构成侵犯商标注册专用权的行为,依法责令其停止违法行为,没收当事人生产的“凯多宝东北大块雪糕”和“凯多宝东北大块巧克力味”产品共计250箱并处以19000元罚款。
所说可以双方协商自个儿和解,但红宝石明显不愿意把这亏咽下肚,而南昌冷业公司也不承认自己侵权,所以海淀法院才在2019年受理了此案。
实际上,除了南昌冷业公司,以前市场上还有“蓝宝石”、“绿宝石”、“红钻石”等几种东北大板在销售,不过均已被红宝石给打压下去了。
这事情告诉我们,像红宝石这般知名商品特有的名称和包装装潢,是受法律保护的,不管商家名气有多大,只要打了“擦边球”照样属于违法行为。
——END——
本文地址:http://www.bjnajie.com/a/sbpb/4299.html

相关阅读





