-
专利
专利无效宣告 食品专利申请 日本专利申请 家具专利费用 发明专利费用 专利申请流程 -
商标
北京商标注册 国际商标注册 商标流程费用 商标驳回复审 香港商标注册 美国商标注册 -
版权
美术版权登记 版权代理注册 软件版权登记 汇编作品版权 文字作品版权 版权登记费用 -
法律服务


猴菇or猴姑傻傻分不清,都怪江中太“专情”!
发布时间:2019-04-30当初看综艺节目《向往的生活》时,没少被黄磊、何炅等明星安利养胃的江中牌米稀。经常看得蜗牛纳口水泛滥,要不是这产品价格略贵,蜗牛纳早就买一箱回来喝了,也不至于眼巴巴隔着屏幕学古人望梅止渴。

虽然没喝过江中米稀,但朋友曾送了同样养胃的饼干给我吃。感觉和普通的饼干差不多,也没尝出猴菇的味道来,这倒是让蜗牛纳有点失望。
没准米稀和一般的米糊味道差不多呢,想了想,蜗牛纳瞬间对价格高、口感一般的江中产品没了好感。
但最近有一场官司让蜗牛纳怀疑自己从前的判断,没准蜗牛纳吃的饼干,并不是江中牌的。
江西江中食疗科技有限公司(下称江中食疗)因为西安市一小食品批发部及兴平市一食品厂(下称兴平食品厂)在未经授权许可的情况下,擅自销售、生产使用与江中食疗的“猴姑”商标近似的商标商品,以侵害江中“猴姑”商标权为由,将两商家起诉至法庭。
4月23日的庭审中,江中食疗一方表示这两个商品名无法直接区分,易误导消费者误是江中食疗产品,而两被告商家以谋取不正当利益,在主观上明显具有侵权故意,侵犯了江中食疗的商标权。请求判令两被告停止侵犯其注册商标专用权商品的行为,并赔偿经济损失15万元。
被告的两商家中只有兴平食品厂出庭,他们辩称江中食疗起诉无依据,自己一方也没有故意侵权的主观动机。再者商标与江中食疗的商标在含义、文字、图案上都不相同,因销量很少也没有获得利益。同时认为江中食疗“猴姑”的商标是以猴子姑娘为本意,而他们使用的“猴菇”是猴头菇的简称,两者根本不可能混淆。

随后双方根据是否构成侵权展开辩论,经过法庭调查、法庭辩论等环节后,双方同意调解,法庭也将择期宣判此案。
讲真,要不是这场官司,蜗牛纳都不知道市面上卖的“猴姑”饼干是江中食疗生产的,毕竟他们总主打“养胃”功效的猴头菇饼干。所以蜗牛纳下意识认为这个饼干就叫“江中猴菇”。
但事实上,江中食疗生产的饼干叫“江中猴姑”,而那个“猴菇”饼干是兴平食品厂生产。

想想也是醉了,既然饼干里有猴头菇成分,就叫“江中猴菇”呗,非得叫“江中猴姑”,谁知道这意思是猴子的姑娘?蜗牛纳就想问猴子姑娘和养胃有什么关系?
网友们也这么想,甚至表示这两个字很难区分开来,甚至还有的网友认为江中猴姑一点也不无辜。

有支持维权也有拿产品效果说事儿的,蜗牛纳看完后觉得有些网友的知识产权意识不太强,也关注错重点了。
江中食疗起诉的本意是为了维护他们的商标,从通过商标局检索到该公司总共申请注册了46件与“猴姑”有关的商标就可以知道,他们很重视商标保护,知道只要注册了就可以拥有这个商标权。

其中被侵权的是江中食疗拥有的第13055691号“猴姑”商标专用使用权。该商标于2014年12月14日已核准注册,核定使用范围包括饼干、蛋糕、面包及干果和坚果制的早餐食品等。

但这和江中食疗虚假宣传和高价那是另一件事,作为消费者可以去追究商家的虚假宣传,对于兴平食品厂的傍名牌行为,咱们不应该鼓掌支持这种便宜的山寨货,毕竟他们涉嫌侵犯江中食疗的商标权。
侵权就是侵权,哪怕很多人不喜欢江中食疗的宣传,只要人家有商标权,就可以起诉批发部和兴平食品厂。这在法律上完全站得住脚,跟产品有没有效果是没有关系的。
从反不正当竞争法来看,两被告商家此举构成了不正当竞争的混淆行为,未经他人许可擅自使用他人有一定知名度的相同或相似的商标标识。
不过从根源上来看,这其实还是江中食疗在当初注册商标的时候“专情”了,他们并没有和大白兔等企业一样,注册相似商标,比如“猴菇”。
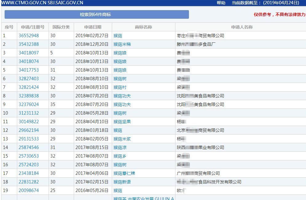
蜗牛纳通过商标局检索到64件与“猴菇”有关的商标,其中并没有江中食疗的申请记录,这也给了其他商家一个在注册流程上“捡漏”、“钻空”的机会。

如果以为搭便车、傍名牌什么的很轻松,打算自己也这么干的话,蜗牛纳奉劝还是别动这个心眼了。因为一旦法院确定侵犯了商标权,那么后面将有一大笔赔款单等着支付。
根据商标法第五十三条规定:被侵权人可以要求侵权人立即停止侵权行为,赔偿损失,其中,侵权赔偿额为侵权人在侵权期间所获得的利益,或者被侵权人在被侵权期间因被侵权所受到的损失,包括被侵权人为制止侵权行为所支付的合理开支,如果前两者都难以确定,由人民法院根据侵权行为的情节判决给予50万元以下的赔偿。
民法通则第一百一十八条规定:商标权遭受侵害的,有权要求停止侵害、消除影响、赔偿损失。
对侵犯注册商标专用权但尚未构成犯罪的,工商行政管理机关可以根据情节处以非法经营额50%以下或侵权所获利润五倍以下的罚款;对侵权单位的直接责任人员,可根据情节处以1万元以下罚款。
与其在后期交那么多罚款,倒不如一开始就做自己的产品呢。
虽然现在相关的法律法规正不断地完善中,但遏制恶意注册,彻底杜绝不良商家“傍名牌”的行为,不仅需要社会各方的共同努力,还需要企业自身做好知识产权保护。
——END——
本文地址:http://www.bjnajie.com/a/sbpb/4666.html

相关阅读





