-
专利
专利无效宣告 食品专利申请 日本专利申请 家具专利费用 发明专利费用 专利申请流程 -
商标
北京商标注册 国际商标注册 商标流程费用 商标驳回复审 香港商标注册 美国商标注册 -
版权
美术版权登记 版权代理注册 软件版权登记 汇编作品版权 文字作品版权 版权登记费用 -
法律服务


2019年上半年又有热词被注册成商标了,手速真快!
发布时间:2019-08-09已经是八月了,眼看着2019年已经过去了一半,而我们还和以前一样喜欢在社交平台结识来自天南海北的新朋友,然后凑在一起议论时下热门的话题。
当聊得兴起的时候,大家会使用一些在网络上流行的热词。作为一个经常在群里跟00后吹水吹得飞起的90后大双子,总是通过群友们的口头相传了解每一年的网络流行热词是什么。
但蜗牛纳的几个朋友却对此一无所知,总爱问某个词语的意思是什么。
其中一位还是自诩为经商天才的90后小哥哥,然而他的商业嗅觉却不够灵敏,因此总是给蜗牛纳一种财路不太平坦的赶脚。

讲真,现在不懂网络热词是没办法跟小哥哥小姐姐们打成一片的,因为这种非常现代的新词语已经成了年轻人网上交流沟通的方式。
其实不懂网络热词也没什么,网友们不仅不会因为谁不懂某个词语就各种嘲笑谁,反而还会耐心地解释这个词语的意思。
可对于从商的人来说,不懂网络热词可不行,因为每个热门词语都可能是一个能为自己带来巨大财富的商机。
不错,多数商家一发现哪个热词流行了起来,就在第一时间申请注册商标!
往年的就不说了,单说今年上半年的网络流行热词吧。
比如蜗牛纳和那个朋友聊的:
雨女无瓜

其实这是出自于《巴啦啦小魔仙》中的一个谐音梗,是游乐王子整天带着面具高冷地回复“与你无关”。但因为这位扮演游乐王子的演员方言口音有点重,所以我们听起来是“雨女无瓜”。
不是瓜的什么“亲戚”,也不是小哥哥小姐姐故意写错的字。只单纯地在玩一个谐音梗罢了。
不过在商人眼里,这个谐音梗可不单单是用来玩。
蜗牛纳在商标局通过检索,发现从今年5月29日开始到7月22日,目前已有46个“雨女无瓜”商标的注册申请记录。

这很明显是在“雨女无瓜”刚流行起来没多久就注册的嘛,蜗牛纳真是不得不感叹这些商家的速度。
柠檬精

也可称柠檬人,这个词语是指很喜欢酸别人,无论说什么话,做什么事儿,都要膈应别人一下的杠精,后来又延伸出“我酸了”的词语。
本来这个梗是在电竞圈里传的,主要用来形容WE战队的脑残粉们。据说是因为RNG获得了很多奖项,所以WE的粉丝就吐槽,还说了很多带着酸味的话。反正就是见不得别人好的意思。
但是柠檬精再精也精不过商人呀,分别抢先注册了“柠檬精”商标的公司和个体户,大约也在得意洋洋地看别人酸得冒泡了。

不过没关系,有不怕酸的人注册了第30类的“我酸了”商标,让打算售卖以谷物为主的零食小吃、米线、 粉条、土豆粉、 酸辣、调味品、茶饮料等产品的人,连酸的滋味都体会不到。

但想注册其他类别的人,还是有机会自我酸一把的哦!
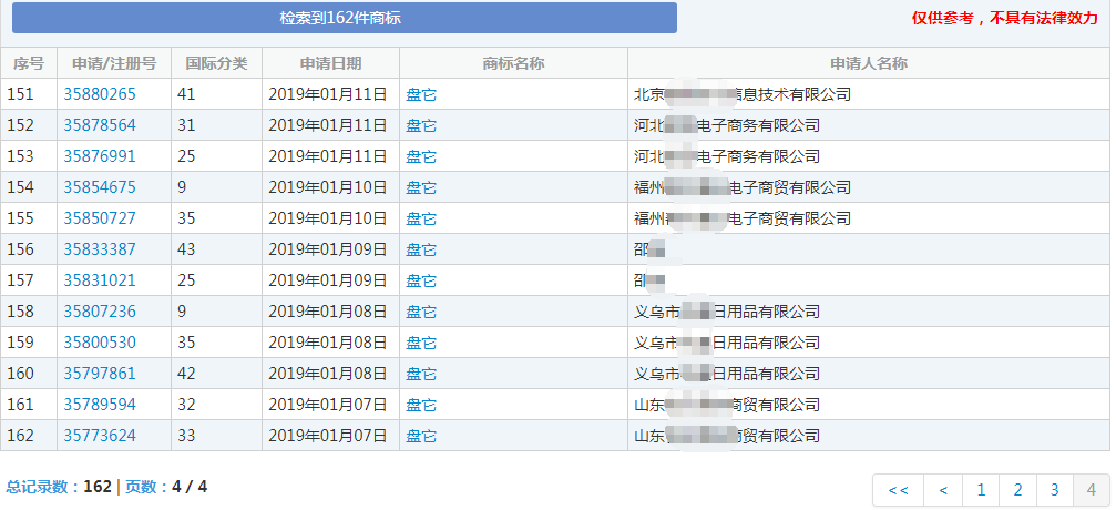
盘它

这个词语出自《相声有新人》里孟鹤堂周九良的相声《文玩》:“干干巴巴,麻麻赖赖。一点都不圆润盘他!”。原本是用来表示自己看不惯的某件事情或者某个人,但后来表现对某人、某事、物的喜爱,就可以用盘他。
于是在网上就演变成一个话题:万物皆可盘,盘就完了!
该说果然是个什么都能盘的热词吗?蜗牛纳也没想到它居然还盘起了那么多公司对“盘它”商标注册的热情。目前居然有162个与此有关的商标注册申请记录。

连“盘他”、“盘她”、“盘他她它”等各种“盘XX”的商标都被商家给注册了。

最早的商标都是在今年一月份注册的,由此可见“盘它”有多受商人的喜爱,并且从侧面也体现出了从商人士对他人、他物的掌控欲求。
996 ICU

这是指从上午9点工作到晚上9点才下班,每周连续工作6天的996工作制,最后可能会因为疲劳过度病倒住进了ICU的意思。最初是用来代表中国互联网企业盛行的加班文化,后来则是表达程序员们抵制互联网公司的996工作制的态度。
现在没多少人喜欢996的工作制吧?毕竟辛辛苦苦挣来的血汗钱若全花在了ICU上,就等于之前做的苦工全白干了。
但对于个别老板来说,他们怕是巴不得员工为自己做牛做马,反正已经有某公司注册了“996 加班宝”、“996 续命宝”、“996 活力丸”商标,估计等以后推出了相关产品,人家就买来给员工补身子呢。

蜗牛纳还注意到其中有企业和个体户注册了“996 ICU”、“996 名片”、“996 时代”的商标。
蜗牛纳就想问这些人,真的不担心商评委会以“无显著性”或“易造成不良影响”等理由驳回这些商标的注册申请么?
XX自由

该热词最早出自“车厘子自由”,该词来源文章《26岁,月薪一万,吃不起车厘子》。文章中作者提到了一个“女生财务自由的15个阶段”对照表。
这篇文一瞬间让车厘子成了在切糕、茶叶蛋之后的新晋富有代名词。不过申请注册“车厘子自由”商标的公司却没有蜗牛纳想象中的那样多。

虽然这五件“车厘子自由”商标都处于待实质审查状态,但从某建筑公司在2月11日注册的这两件商标的流程状态来看,被驳回的概率较大。

多半是没有显著性,要么就是格调不高。
虽说“XX自由”已经成为新媒体时代的社交用语,但类似的还有“贫民窟女孩”等,都是通过自黑或者降级的方式调侃、嘲笑自己的贫穷。
好在没人将“贫民窑女孩”注册为商标,因为最早注册“贫民窑”商标的人,已经被驳回了其注册申请以及复审。

毕竟这个词语,很显然是属于易对社会公众造成不良影响的词。
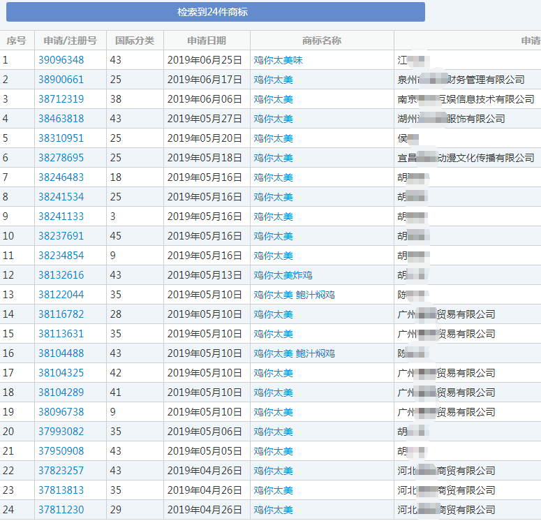
鸡你太美

“鸡你太美”的原句为“只因你太美”。是当红艺人蔡徐坤此前在选秀节目的自我介绍视频中,唱了一首《只因你太美》。但因为他唱的太快,调又有点怪,被空耳成:鸡你太美。后来网友用这个视频中的篮球秀和舞蹈进行恶搞后,很快在B站上形成病毒式传播。
不知道为什么,蜗牛纳总想起那只尖叫鸡来,事实上也确实有人用尖叫鸡cos过蔡徐坤,甚至连游戏都拿这个梗来恶搞。
但若想注册“蔡徐坤”或“蔡徐坤 鸡太美”等商标的话,百分百会被驳回,因为早在去年7月3日,蔡徐坤的工作室就已经注册了全45类的“蔡徐坤”商标。

但“鸡你太美”商标倒是可以争取一下,在目前为止共有24个该商标注册的申请记录。

申请人中并未有蔡徐坤工作室,想来他们也不是很喜欢这个热词吧。
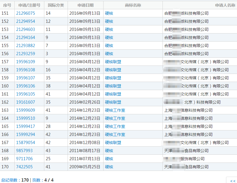
硬核

原本它是用来形容说唱和游戏,后来被网友用于形容那些专业的、小众的、门槛高的事物或者是对某一事情专精又狂热的人,从而又衍生出超级酷、与众不同、让人震惊或癫狂的、让人难以理解的意思。简而言之就是很厉害、彪悍、牛X、刚硬的意思。
虽说是今年流行的热词,但它在十年前就已经“登陆”了商标界。虽说09年注册的已撤销并连续三年停止使用注册商标,但其他“硬核”商标依可进行注册。

都是想做硬核创业家的人,有野心没什么不好,对吧?
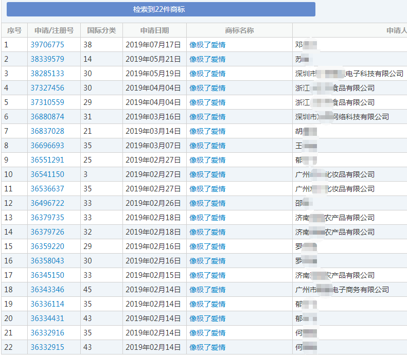
像极了爱情

这是出自网易云音乐的热评,原句是”暖昧上头的那几秒,像极了爱情”,意思是人在这句话中体会到了对爱情的嘲讽。之后这个梗被用于抖音和快手的各种地方,不再特指爱情,更多是调侃的含义。
但令蜗牛安没想到的是,这个梗居然也在商标界火了一小把,瞅瞅下面的截图,有22件“像极了爱情”商标呢,最早的还是在今年2月14日情人节申请注册。

emmm,突然觉得商标界也挺沙雕的,不知道商标局在审核的时候怎么想。
光想青年

这是指光想着干点啥,就一直干想着的人。此类认的想法多,行动少。虽然想要变美变瘦变漂亮,也想有钱有闲有人爱,但却总因为拖延、懒惰、没勇气等原因,让理想生活光停留在想上。
说白了这就是一群光说不做的人,即便心里面有着很多的想法,但是从来都没有将之付诸于实践。
蜗牛纳认为这个热词并不适合注册成商标,因为它不仅寓意不好,而且还易造成不良影响。但通过检索却看到有8个“光想”青年商标注册的申请记录。

申请人自己倒是个想了就立马行动的人,可这种含义不太好的词语即便成功注册为商标,也并不利于企业进行商标的设计和推广。
AWSL

该热词通常用于表达自己看见可爱东西的兴奋之情。最早是由日本传来的,是“A Watashiwa Shintei Lu”的缩写,本意为“啊我死了”,而中文拼音首字母也是AWSL,于是就演变成这个意思了。
那么这个梗能用来注册商标吗?目前只有两家公司注册这个“AWSL”商标,并且因为是正等待受理的状态,所以蜗牛纳还无法查询该商标的详细信息。

但想起此前其他公司申请过的拼音商标,总有种不太好的预感。中文博大精深,谁知道商标局在审查的时候会不会开脑洞,把这个拼音理解成别的意思?
更何况,“AWSL”和“NMSL”很相似,都有“XX死了”的意思,含义不好,所以被驳回申请的概率较大。
这里插个题外话,从“AWSL”拼音商标上,蜗牛纳想到了近日美图和魅族的商标纠纷案,其原因就在于他们的拼音商标构成近似。

商评委是这样认为的:美图的“meitu”商标与魅族的“MEIZU”商标在字母构成、呼叫发音等方面相近,仅在个别字母和字母大小写方面存在不同,整体上不存在显著差异,容易造成相关公众混淆误认,故“meitu”商标与“MEIZU”商标构成近似商标。
根据《商标法》第三十条规定:“申请注册的商标,凡不符合本法有关规定或者同他人在同一种商品或者类似商品上已经注册的或者初步审定的商标相同或者近似的,由商标局驳回申请,不予公告”。
虽然美图后来上诉至北京知识产权法院,但该法院还是驳回了美图的诉讼请求,他们认为美图提交在案的证据不足以证明“meitu”商标在指定使用服务上经使用获得了足以与“MEIZU”商标相区分的显著特征,故美图据此提出“meitu”商标应予核准注册的主张,北京知产法院不予支持。
所以如果企业或个体户想注册拼音商标,蜗牛纳建议最好先把中文与拼音一起注册,这样通过审核的概率会很高,然后再注册纯拼音的商标,届时会比较顺利。
好啦,关于2019年上半年的流行热词商标,我们就说到这里啦!至于是不是都能成功注册成商标,蜗牛纳认为还是别抱太大期望。因为有些热词病不具备商标应有的显著性,还有的可能会对社会造成不良影响,这都容易被商标局驳回。
所以申请人不要盲目跟风地将流行热词注册成商标,还是认真做好产品,提高服务水平吧。如果你没有自己的品牌商标,就注册个符合自己企业特点的商标。
当然,在此之前请先咨询专业的商标代理人,以避免因为商标注册申请被驳回,从而对产品未来的市场拓展产生影响。
——END——
本文地址:http://www.bjnajie.com/a/sbpb/5186.html

相关阅读





