-
专利
专利无效宣告 食品专利申请 日本专利申请 家具专利费用 发明专利费用 专利申请流程 -
商标
北京商标注册 国际商标注册 商标流程费用 商标驳回复审 香港商标注册 美国商标注册 -
版权
美术版权登记 版权代理注册 软件版权登记 汇编作品版权 文字作品版权 版权登记费用 -
法律服务


乔碧萝首次露脸自爆抑郁,其名字被申请商标69次!
发布时间:2019-12-10临近年底,居然有个词因为一个人的采访视频再次上了热搜。
还记得那个上演了一出“萝莉变大妈”戏码的女主播乔碧萝殿下吗?
这位一时不慎露脸直播引起热议的主播,在上周末因#乔碧萝首次露脸#这一话题上了热搜,又一次引发众多网友的讨论。

视频中,接受红星新闻采访的乔碧萝称自己是90后;有10年的抑郁症;觉得自己并不丑,等瘦下去会很好看;遭遇了网络暴力……

很快,网友们在@红星新闻 的评论中讨论乔碧萝的采访内容,认为她对于盗用她人照片、炒作人设等问题避而不谈,只说自己个人的情况。
比起采访内容来,蜗牛纳更关注她这个名称。
其实乔碧萝如果再火一段时间,可能就她的名称就上十大流行语的榜单了。
毕竟谁都有年轻不懂事的时候,也谁都曾看过或写过异常中二的网文,比如女主富可敌国、倾世美貌、七彩长发、瞳色异于常人、多国血统结合体 ,和很多俊男谈恋爱的那种内容。
当时看着还不觉得有什么,现在想想真是……应该成为每一年最火的话题呀,不然乔碧萝还能成为某个古古怪怪字典中的知名词语呢。
虽然“乔碧萝”没能成为十大流行语之一的热词,不过在商标局中已然成为新兴热词了。
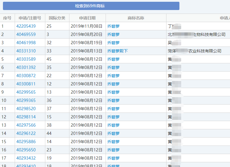
通过商标检索,总共有69件“乔碧萝”商标被申请注册,其中“乔碧萝殿下”共有6件。
从下图中不难看出,黄姓申请人注册的“乔碧萝”商标最多,只有其余少数的被企业和其他个体户申请注册。

这些商标都是在今年7、8月份被注册的,最早的一件是第25类“乔碧萝殿下”商标,主要使用在服装领域上,其注册时间刚好是乔碧萝走红的那几天。

这些商家注册商标的手速可真快,比起当初注册十大流行语的时候还快吧?
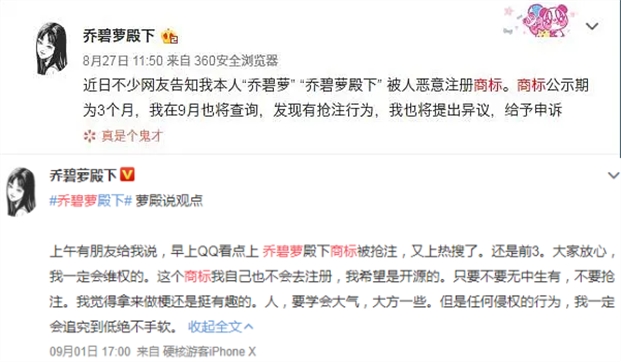
当然,乔碧萝殿下也是个有商标保护意识的人。她在发现自己的“乔碧萝”、 “乔碧萝殿下” 商标被恶意抢注后,就发了微博表示要对此提出异议,以此维护自己的权利。

虽然现在网络上流行什么,就有什么商标会备受关注。不光是流行热词,连带乔碧萝、敬汉卿等多位网红主播在他们很火的时候,与其有关的商标名称也都很快遭到抢注。
既然刚才提到了流行热词,那么就来说说今年《咬文嚼字》编辑部照旧在12月初发布的2019年十大流行语吧。

他们分别是:①文明互鉴;②区块链;③硬核;④融梗;⑤××千万条,××第一条;⑥柠檬精;⑦996;⑧我太难/南了;⑨我不要你觉得,我要我觉得;⑩霸凌主义。
《咬文嚼字》编辑部不是坚持以所选条目的“社会学价值”及“语言学价值”为评选标准吗?也就是说他们选中的流行语要用来反映时代特征、弘扬正能量。
根据之前的流行语来看,时代特征是有了,就是这正能量吧,有好几个词语也没那么正。起码在商标注册中,它还具有不良社会影响呢。

互鉴,即相互借鉴;文明互鉴,即世界上不同文明之间加强交流,相互借鉴。
该流行语出自习近平主席在一系列重大场合阐述的“文明因多样而交流,因交流而互鉴,因互鉴而发展”主张,引起全球共鸣。
“文明互鉴”是构建人类命运共同体的人文基础,是增进各国人民友谊的桥梁、推动人类社会进步的动力、维护世界和平的纽带。
现在,“文明互鉴”已成为全球“热词”,在国际、国内媒体上广为传播。
既然这个网络词语已经火到国外去了,那么国内应该有不少企业将之注册为商标吧?
然而出乎意料的是,商标局上竟然只有4件“文明互鉴”商标注册,且申请人就这两家公司。

按理说,“文明互鉴”的说法是习主席在2014年3月份提出的,实际上相关商标的注册申请却是在2016年2月份之后。
不敢在2015年申请还能理解人家是想再看看情况,但2016到2019期间,怎么没有其他人申请注册“文明互鉴”商标呢?
莫非是因为提出这个主张的人咖位太大了,怕商标局不同意?
如果是这样的话,估计商标局会说:想多了!
因为两家公司申请的“文明互鉴”商标注册均已成功!

成功是必然的,毕竟他们注册的类别也特别正能量:第39类-运输贮藏;第41类-教育娱乐;第09类-科学仪器;第35类-广告销售。
假如是注册在第11类-卫生设备上,约莫是要被驳回的。

区块链是一个信息技术领域的术语。从本质上讲,它是一个共享数据库,存储于其中的数据或信息,具有“不可伪造”“全程留痕”“可以追溯”“公开透明”“集体维护”等特征。
基于这些特征,区块链技术奠定了坚实的“信任”基础,创造了可靠的“合作”机制,具有广阔的运用前景。
比起“文明互鉴”来,显然“区块链”更受人们的关注。
经商标局官网查询,目前共有545条关于“区块链”商标注册记录,其中最早的“区块链”商标是在2015年提出申请的,可以说非常火热了。

就连阿里、腾讯等公司都也在相关领域布局了“区块链”商标。
申请该商标的公司一多,难免会“打起来”,所以我们能在商标流程中看到不少驳回复审以及无效的情况,不过若要论其原因,很有可能是缺乏显著性。
如果“区块链”成为一种通用名称,怕是更不好注册了吧?

硬核,译自英语“hardcore”,原指一种力量感强、节奏激烈的说唱音乐风格。后来引申指“面向核心受众,有一定难度和欣赏门槛的事物”,如“硬核游戏”(hardcore game)即指玩起来非常有难度的游戏。
近年来,其含义进一步引申,人们常用“硬核”形容“很厉害”“很彪悍”“很刚硬”,如“硬核规定”“硬核妈妈”“硬核玩家”“硬核人生”等等。
截止目前,与“硬核”有关的商标共有314件,由多家有野心的“硬核”企业或者个人提出申请。

该商标的注册类别可谓五花八门,且部分已注册成功。

梗,来源于“哏”,本指艺术作品中的笑点,也指故事的情节、片段及创意等。融梗,即把别人精彩的创意融合进自己的作品中。
近年来,因多部文艺作品涉嫌“抄袭”,网络上出现过好几次针对“融梗”定性的集体讨论。但到底是“合理借鉴”还是“违法抄袭”,二者的“边界”到底在哪,始终不能达成一致意见。
今年10月底,热播影片《少年的你》的原小说被爆料“融梗”日本推理小说作家东野圭吾的多部作品,网友议论纷纷。易中天在微博上发文点评,认为“除非极个别的天才,很少有作家能够做到绝不借鉴,关键在于是笨拙地模仿甚至直接抄袭,还是创造性地用人如己”。这让“融梗”再次引起广泛关注。
因为这个词语是10月底才火起来的,所以目前在商标局只看到一家公司注册“融梗”商标,其商品/服务范围在41、35、38类上。

由于是刚申请的商标,处于待实质审查状态,尚不知能否被商标局允许注册。

2019年春节上映的科幻电影《流浪地球》,受到普遍好评,国内外影迷纷纷叫好。在影片中反复出现的行车安全提示语“道路千万条,安全第一条。行车不规范,亲人两行泪”,一下流传开来。这句“安全守则”并不合辙押韵,读起来甚至还有点拗口;但贴近现实,能唤起人们的安全意识,在人们心中产生了共鸣。
随后,使用范围扩大,衍生出了新的造句格式“××千万条,××第一条”,如“健康千万条,睡眠第一条”“护肤千万条,科学第一条”“祝福千万条,健康第一条”等等。此格式同样在社会上广为传播。
也许因为“××千万条,××第一条”是个很官方的提示语,目前还未有人想过要将其注册为商标。

如果真的有谁申请了,你猜商评委会予以注册吗?

柠檬精的字面意思是“柠檬成精”。柠檬味酸,与嫉妒他人时“心中酸溜溜”的感觉相合。因此“柠檬精”最初用在他人身上,是用来嘲讽他人的,其含义与“嫉妒”类似。
近来,它的贬义色彩在不断淡化,有时也用在自己身上,即用于自嘲,表达对他人或外貌或才华,或物质条件或情感生活等各方面的羡慕。“我柠檬精了”就相当于“我羡慕了”。有时也说成“我柠檬了”,或“我酸了”,表达的都是同样的意思。还出现了“酸甜柠檬精”的说法,多用来形容被别人的浪漫爱情甜到又不禁产生羡慕的“酸”意的复杂心情。
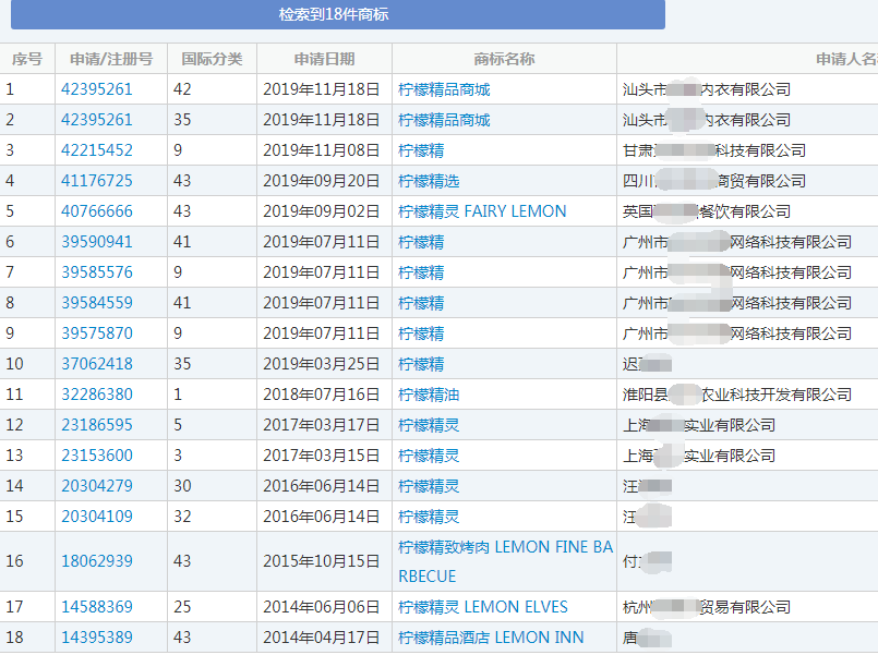
这个词曾入选2019上半年流行热词的榜单,蜗牛纳还在一篇文章中写过关于“柠檬精”的商标,并且当时检索该商标的申请数量,用一只手都能数得过来。
现在,申请人多了一些,其商标名称也从“酸”意十足的“柠檬精”到十分精致的“柠檬精品酒店”、“柠檬精灵”、“柠檬精致烤肉”等词语。

目前只有18条与“柠檬精”相关的商标注册申请记录,只有少数已注册,其余均处于待实质审查状态。

“996”指一种工作制度:早上9点上班,晚上9点下班,每周工作6天。这种工作制度常出现在互联网等高科技公司。
2019年3月,互联网公司的程序员们在网络上公开抵制“996”工作制。2019年4月12日,阿里巴巴的官方微博发布了马云的一段发言,马云称“996”是修来的福报,引发了社会的强烈反弹。当天下午,马云立即回应,称“任何公司不应该,也不能强制员工996”。随后“996”因违反我国《劳动法》,招致了社会各界的批评。
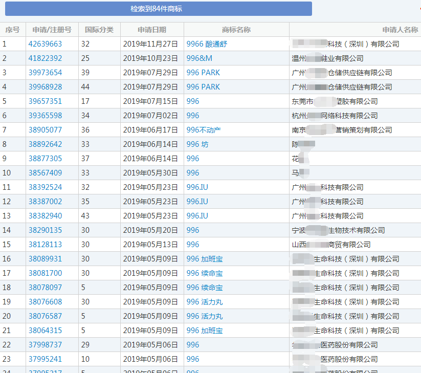
很多人已经知道996是违反劳动法的一种制度,然而一些领导还是非常愿意看到员工为自己做牛做马的场景。这从一些公司注册的“996 加班宝”、“996 续命宝”、“996 活力丸”等商标来看,尽管此类商标尚未注册成功,但也不难看出他们对每位员工寄予的“厚望”。

但凡颇有争议的词语,都很可能会被商评委会以“没有显著性”或“易造成不良影响”等理由驳回这些商标的注册申请。
不过有一件商标除外,通过检索,“996名片”已处于初审公告。

初审公告期是3个月,如果在此期间有人提交异议申请,那么该商标很可能无法获得注册。

“我太难了”出自“快手”视频网站上的一个“土味视频”。视频配了一曲忧伤的音乐,主播眉头紧锁,眼神空洞,一边说着“我太难了,老铁,最近压力很大”,一边欲哭无泪地用双手紧紧扶住额头。
该视频发布后,“我太难了”立即引爆网络。随后,网络上还出现了以“我太难了”为主题的表情包,为了好玩有趣,用麻将牌中的“南风”代“难”。也有人据此把话说成“我太南了”。“我太难/南了”的流行,是普通网民希望释放生活压力的心理表现。
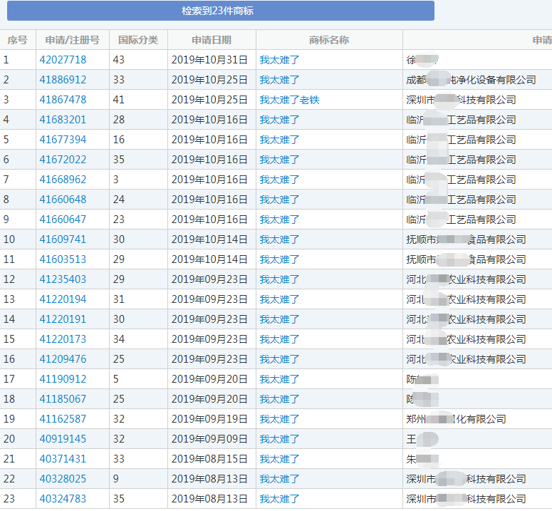
在商标局上检索到23件“我太难了”商标的注册申请,从时间上来看,这些商标基本上是在今年9-10月申请的,刚好是《都挺好》电视剧的热播期。

而“我太南了”商标注册只有1件,和“我太难了”差不多,基本上处于待实质审查状态。

上述商标能不能注册下来,还是得看商评委怎么想,人家若是想得稍微复杂些了,就只好为难自己想其他名称了。

“我不要你觉得,我要我觉得”,出自2019年暑期热播的综艺节目《中餐厅》第三季的嘉宾黄晓明之口。
在节目中,作为“店长”的黄晓明以自我为中心,在有关餐厅菜式、采购等事情上,常常不顾及其他人的意见,将盲目自信及独断专行表现得淋漓尽致。黄晓明在节目中的“经典”台词“我不要你觉得,我要我觉得”“这事不需要讨论”“听我的,我说了算”等等,迅即在网上流传开来。其中“我不要你觉得,我要我觉得”的流行,反映了人们对霸道、蛮横人格的嘲笑和反感。
《中餐厅3》的“明学”火了后,肯定有不少商家要出相关周边,那么商标局上应该比较“热闹”。
但通过检索发现目前只有一个人在2019年08月29日这天,总共申请了6件“我不要你觉得,我要我觉得”商标注册,且均处于待实质审查状态。

你瞅瞅,你觉得该商标能顺利注册成功吗?如果被驳回了,那么该申请人是否会进行商标复审呢?
也许商评委不要你觉得,他要他觉得这些商标显著性不强。(瞎猜的不要当真)

霸凌,音译自英语“bully”,指横行霸道、恃强凌弱。霸凌主义,指用“霸凌”的方式处理国与国之间的矛盾。美国在处理国际事务时,丝毫不顾及国际关系准则,丝毫不考虑其他国家的合理要求,频繁挥舞制裁和关税大棒,动辄施压别国,粗暴干涉他国事务。并且连伪装和说辞也不要了,赤裸裸地宣称“美国优先”,要全世界维护美国的利益,为美国买单,给美国让利。一意孤行,屡屡挑起事端,并“诚实”地承认军队滞留中东是为了石油。
“霸凌主义”是一个国际热词,引起了世界各国人民的关注。因为美国的霸凌主义思维和行径,给全球带来了巨大危害。
若“霸凌主义”注册成商标了,多半会被商评委以“易带来社会不良影响”为由将其驳回。估计企业和个体户都对此心知肚明,因而目前没有该商标的注册申请记录。

以上均是关于2019年度的流行语商标,咱们都查完啦。
虽然多数商标还处于待实质审查状态,但根据商标法相关条例,肯定不是所有火爆全网的流行热词都可以被成功注册成商标的。
尽管从经济角度上来看,网络流行语、网红名称等确实存在着很大的商业价值,所以才会有很多企业把这些热语当做营销手段,以此为自家公司增加效益。
然而多数网络热词才火没多久就过气了,若将其注册为商标并当做企业长期发展的一种无形资产,可能经不起时间的沉淀与考验。
所以商标注册需要再慎重些,最好委托专业的商标代理机构办理,让他们为你分析要注册的商标是否具有合法性、显著性、近似性等,然后再根据企业的长远规划,为商标注册保驾护航。
——END——
编辑:蜗牛纳@北京纳杰商标代理机构
本文地址:http://www.bjnajie.com/a/sbpb/5577.html

相关阅读





