

机械类专利申请权利要求书范文
发布时间:2018-04-08机械类专利申请权利要求书范文
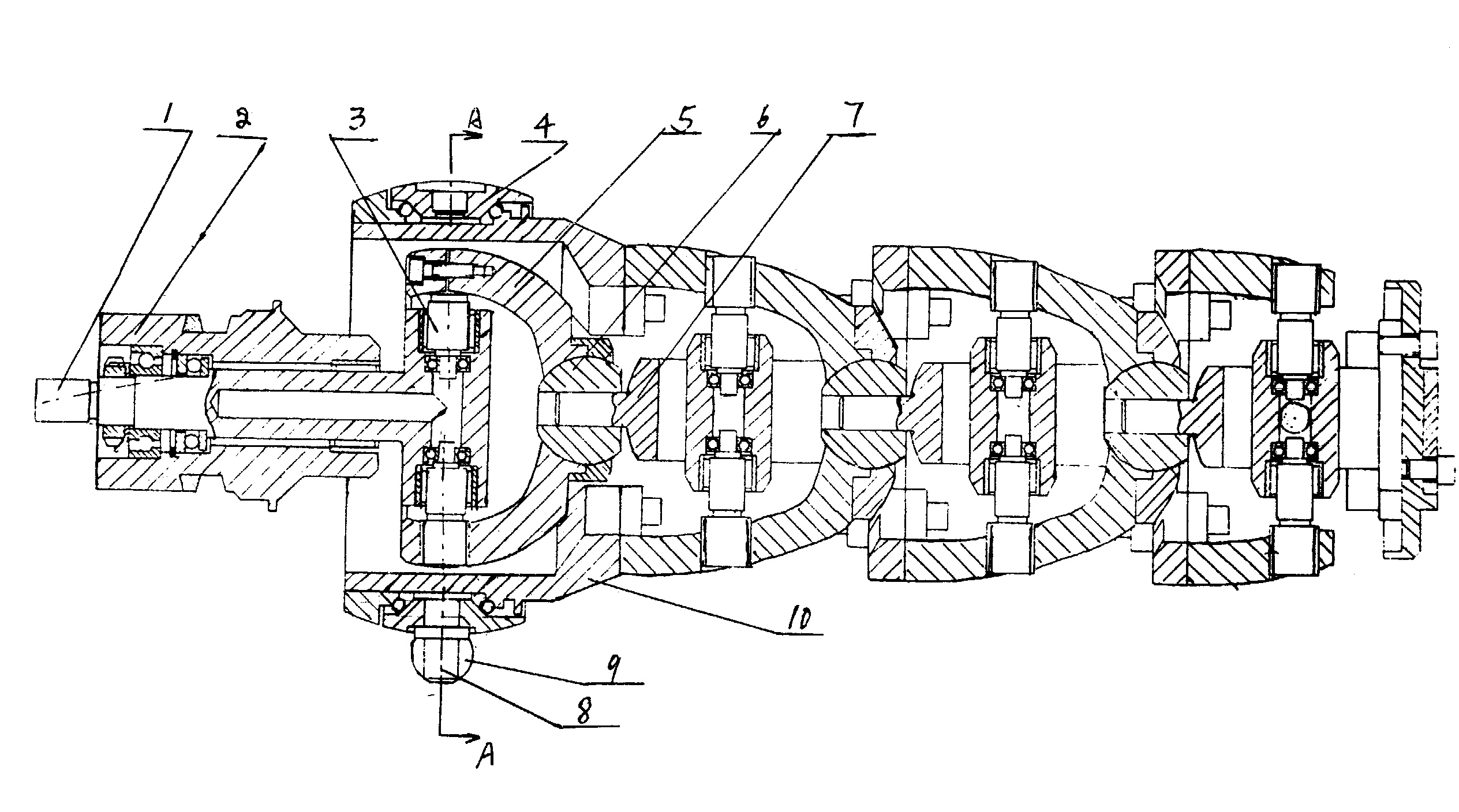
机械类专利专利名称:一种机器人机械手腕
一种机器人机械手腕机械类专利申请权利要求书:
一种机器人的机械手腕,是由至少两个动力源,和至少两个十字轴,以及至少一个关节滑动副组成,其特征是,所述的关节滑动副包括球体(6),联接球座(5),滑动轴(7),其中球体(6)位于联接球座(5)球窝内,呈转动配合,滑动轴(7)插入球体(6)的中心孔内,呈滑动配合。
	
机械类专利专利名称:自动定心、高速检测机械零件孔间距的方法及装置
自动定心、高速检测机械零件孔间距的方法及装置机械类专利申请权利要求书:
1、一种自动定心、高速检测机械零件孔间距的方法,使用标准件作基准,比较测量机械零件孔间距误差,其特征在于,所说的测量方法采用自动定心、自动检测、并应用微型计算机采集和处理数据:测量时件工件沿导轨送进,测量平台升起,两对测头分别自动伸入两对被测孔内,一对向外伸张测量外侧孔壁间距误差△L1,一对向内挤压测量内侧孔壁间距误差△L2,同时推动工件自动定心,测量完毕测量平台下降,测头自动退出,测得的△L1与△L2数值通过微型计算机及时采集进行模/数转换,计算出孔间距误差△L值,用微机的显示器或单独的数码管显示结果,也可以用打印机打印结果。
2、一种用于自动定心、高速检测机械零件孔间距的方法的装置,其特征在于,所说的装置由安装在工作台上的放置工件的导轨、在导轨两端的两个测量平台,在测量平台上方的滑动机构、两个固定测头和分别安装在两个滑动机构上的两个活动测头、用绳子分别与滑动机构相连的两个产生测量压力的重锤以及驱动电机、变速器和凸轮轴组成,电机经变速器带动凸轮轴回转,凸轮轴左端装有一个控制送料杆推动工件沿导轨送进的凸轮,中间装有两个控制滑动机构移动的凸轮,其余两个是分别控制两个测量平台升降的凸轮。
3、根据权利要求1或2所述的自动定心、高速检测机械零件孔间距的方法及用于该方法的装置,其特征在于:所说的测头的形状可以是圆柱形,也可以是刀口形或球形。
4、根据权利要求1所述的自动定心、高速检测机械零件孔间距的方法,其特征在于:同一被测零件的△L1和△L2是在不同位置测得,计算机采集△L1值并经模/数转换后将其值放在内存某一单元,被测零件多次移位后,计算机采集同一零件的△L2值经模/数转换后再将原△L1值由该内存某单元调出与△L2进行运算,求出孔间距误差△L值。
	
机械类专利专利名称:一种耐高温的机械密封
一种耐高温的机械密封机械类专利申请权利要求书:
1、一种耐高温的机械密封,由轴套、密封圈等零件组成,其特征在于;在轴套一端的锥孔内装有一楔形辅助密封垫,在上述轴套另一端的外圆上套有另一楔形辅助密封垫,此密封垫通过安装在轴套上的压缩弹簧和推环压紧在与推环相邻的动密封环的锥孔内,此动密封环同与其相对的静密封环之间装有一个碳一石墨密封环,在上述的推环一端制有一个以上沿圆周等分的用以预压缩弹簧的带钩的传动爪,这些传动爪一一对应嵌入轴套的凹槽中。
2、按权利要求1所述的耐高温的机械密封,其特征在于:所说的在轴套一端的锥孔内所装的楔形辅助密封垫可利用与它相邻的限位环上的传动螺钉将其压紧在轴套锥孔及转轴外圆之间。
3、按权利要求1所述的耐高温的机械密封,其特征在于:所说的碳-石墨密封环可以套装增加其结构强度的钢衬套。
4、按权利要求1所述的耐高温的机械密封,其特征在于:所说的轴套上的凹槽的数量和位置是与推环上带钩的传动爪的数量和位置对应的,其尺寸是能使传动爪自由伸入的。
	
以上内容是3个机械类专利申请权利要求书范文,希望能够给大家带来帮助。
编辑:蜗牛纳@纳杰北京专利申请
本文地址:http://www.bjnajie.com/a/zllingyu/2387.html
来源:纳杰知识产权摘录整理
	





